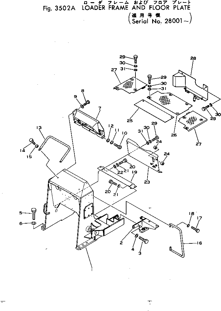
Запчасти Komatsu D31A-16 ПОГРУЗ. РАМА И ПОЛ КАБИНЫ(№8-) ЧАСТИ КОРПУСА

Схема запчастей Komatsu D31A-16 - ПОГРУЗ. РАМА И ПОЛ КАБИНЫ(№8-) ЧАСТИ КОРПУСА
FIT
1:1
100%

Артикул

Название

Примечание

Количество

1

114-54-22112

FRAME,LOADER

SN: 28001-UP

1шт.

2

113-54-24260

BRACKET,L.H.

SN: 28001-UP

1шт.

2

113-54-24270

BRACKET,R.H.

SN: 28001-UP

1шт.

3

01010-31635

BOLT

SN: 28001-UP

4шт.

4

01643-31645

WASHER

SN: 28001-UP

4шт.

5

01018-32060

BOLT

SN: 25001-UP

12шт.

6

01643-32060

WASHER

SN: 25001-UP

12шт.

7

114-54-22120

DASHBOARD

SN: 25001-UP

1шт.

8

01220-40820

SCREW

SN: 28001-UP

6шт.

9

01641-20812

WASHER

SN: 28001-UP

6шт.

10

01010-31020

BOLT

SN: 25001-UP

3шт.

11

01602-01030

WASHER

SN: 25001-UP

3шт.

12

01643-31032

WASHER

SN: 25001-UP

3шт.

13

114-54-22130

HANDLE

SN: 25001-UP

1шт.

14

01010-31435

BOLT

SN: 25001-UP

2шт.

15

01602-01442

WASHER

SN: 25001-UP

2шт.

16

114-54-22140

HANDLE

SN: 25001-UP

2шт.

17

01010-31025

BOLT

SN: 25001-UP

4шт.

18

01602-01030

WASHER

SN: 25001-UP

4шт.

19

113-54-23111

BRACKET

SN: 28001-UP

1шт.

20

01010-31035

BOLT

SN: 25001-UP

4шт.

21

01602-01030

WASHER

SN: 25001-UP

4шт.

22

01643-31032

WASHER

SN: 25001-UP

2шт.

|$23

113-54-00010

PLATE ASS'Y

SN: 25001-UP

1шт.

23

0

PLATE

SN: 25001-UP

1шт.

24

09350-02015

BUSHING

SN: 25001-UP

2шт.

25

113-54-23131

FLOOR

SN: 28001-UP

1шт.

26

113-54-23121

FLOOR

SN: 28001-UP

1шт.

27

113-54-23141

FLOOR,L.H.

SN: 28001-UP

1шт.

27

113-54-23151

FLOOR,R.H.

SN: 28001-UP

1шт.

28

113-54-24133

COVER

SN: 28001-UP

1шт.

29

01010-31025

BOLT

SN: 25001-UP

18шт.

30

01602-01030

WASHER

SN: 25001-UP

18шт.

31

01643-31032

WASHER

SN: 25001-UP

16шт.

Выбрано товаров: 34