Запчасти Komatsu 4D105-3C ВПУСК ВОЗДУХА СОЕДИН-Е И ВОЗДУХООЧИСТИТЕЛЬ(№8-) ГОЛОВКА ЦИЛИНДРОВ

Схема запчастей Komatsu 4D105-3C - ВПУСК ВОЗДУХА СОЕДИН-Е И ВОЗДУХООЧИСТИТЕЛЬ(№8-) ГОЛОВКА ЦИЛИНДРОВ
FIT
1:1
100%

Артикул

Название

Примечание

Количество

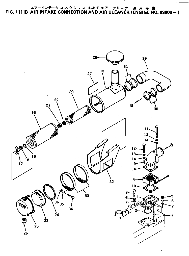
1

6131-12-4380

CONNECTOR

SN: 63806-UP

1шт.

2

07000-62070

O-RING (K1)

SN: .-UP

1шт.

3

01010-31025

BOLT

SN: 63806-UP

2шт.

4

01224-31025

SCREW

SN: 63806-UP

2шт.

5

01580-01008

NUT

SN: 63806-UP

2шт.

6

01602-01030

WASHER,SPRING

SN: 56495-UP

4шт.

7

01640-21016

WASHER

SN: 56495-UP

4шт.

8

600-815-2341

HEATER,RIBBON

SN: 63806-UP

1шт.

9

6130-12-4230

CONNECTOR

SN: 63806-UP

1шт.

10

6136-11-4820

GASKET (K1)

SN: 63806-UP

2шт.

11

01011-31030

BOLT

SN: 63806-UP

2шт.

12

01010-31070

BOLT

SN: 63806-UP

2шт.

13

01602-01030

WASHER,SPRING

SN: 40138-UP

4шт.

14

01640-21016

WASHER

SN: 40138-UP

4шт.

|$14

6130-82-7500

AIR CLEANER ASS'Y

SN: 56495-UP

1шт.

|$15

6130-82-7600

AIR CLEANER ASS'Y,(FOR TRIMMING DOZER)

SN: 56495-UP

1шт.

15

6130-82-7510

BODY

SN: 56495-UP

1шт.

|$17

600-181-9500

ELEMENT ASS'Y

SN: 56495-UP

1шт.

|$18

600-181-9600

ELEMENT ASS'Y,(FOR TRIMMING DOZER)

SN: 56495-UP

1шт.

|$19

600-181-9200

ELEMENT ASS'Y,OUTER

SN: 56495-UP

1шт.

16

0

ELEMENT,OUTER

SN: 56495-UP

1шт.

17

600-181-8640

NUT

SN: 56495-UP

1шт.

18

600-181-7511

WASHER,SEAL

SN: 56495-UP

1шт.

19

04064-01510

RING,SNAP

SN: 56495-UP

1шт.

20

0

ELEMENT,INNER

SN: 56495-UP

1шт.

20

0

ELEMENT,INNER (FOR TRIMMING DOZER)

SN: 56495-UP

1шт.

21

600-181-9631

NUT

SN: 56495-UP

1шт.

22

600-181-7511

WASHER,SEAL

SN: 56495-UP

1шт.

23

600-181-9551

DIVIDER

SN: 56495-UP

1шт.

24

600-181-9430

GASKET

SN: 56495-UP

1шт.

25

600-181-9541

PAN,DUST

SN: 56495-UP

1шт.

26

600-181-7680

VALVE

SN: 56495-UP

1шт.

27

09637-00160

PLATE, INSTRUCTION,(JAPANESE-ENGLISH)

SN: 56495-UP

1шт.

27

09637-70160

PLATE, INSTRUCTION,(SPANISH)

SN: 56495-UP

1шт.

27

09637-81160

PLATE, INSTRUCTION,(GERMAN)

SN: 56495-UP

1шт.

27

09637-30260

PLATE, INSTRUCTION,(FRENCH)

SN: 56495-UP

1шт.

27

09637-50260

PLATE, INSTRUCTION,(PORTUGUESE)

SN: 56495-UP

1шт.

27

09637-90261

PLATE, INSTRUCTION,(CHINESE)

SN: 56495-UP

1шт.

28

600-181-9171

CAP

SN: 56495-UP

1шт.

29

6130-12-4440

HOSE

SN: 56495-UP

1шт.

30

07281-00909

CLAMP

SN: 56495-UP

2шт.

31

07281-01029

CLAMP

SN: 56495-UP

2шт.

32

6130-12-4432

BRACKET

SN: 56495-UP

1шт.

33

6130-12-4490

BAND ASS'Y

SN: .-UP

2шт.

34

6110-23-6520

BOLT

SN: 56495-UP

2шт.

35

6110-21-6530

PIN

SN: 56495-UP

2шт.

36

6110-21-6540

PIN, WITH THREAD

SN: 56495-UP

2шт.

1

6131-12-4380

CONNECTOR

SN: 63806-UP

1шт.

2

07000-62070

O-RING (K1)

SN: .-UP

1шт.

3

01010-31025

BOLT

SN: 63806-UP

2шт.

4

01224-31025

SCREW

SN: 63806-UP

2шт.

5

01580-01008

NUT

SN: 63806-UP

2шт.

6

01602-01030

WASHER,SPRING

SN: 56495-UP

4шт.

7

01640-21016

WASHER

SN: 56495-UP

4шт.

8

600-815-2341

HEATER,RIBBON

SN: 63806-UP

1шт.

9

6130-12-4230

CONNECTOR

SN: 63806-UP

1шт.

10

6136-11-4820

GASKET (K1)

SN: 63806-UP

2шт.

11

01011-31030

BOLT

SN: 63806-UP

2шт.

12

01010-31070

BOLT

SN: 63806-UP

2шт.

13

01602-01030

WASHER,SPRING

SN: 40138-UP

4шт.

14

01640-21016

WASHER

SN: 40138-UP

4шт.

|$14

6130-82-7500

AIR CLEANER ASS'Y

SN: 56495-UP

1шт.

|$15

6130-82-7600

AIR CLEANER ASS'Y,(FOR TRIMMING DOZER)

SN: 56495-UP

1шт.

15

6130-82-7510

BODY

SN: 56495-UP

1шт.

|$17

600-181-9500

ELEMENT ASS'Y

SN: 56495-UP

1шт.

|$18

600-181-9600

ELEMENT ASS'Y,(FOR TRIMMING DOZER)

SN: 56495-UP

1шт.

|$19

600-181-9200

ELEMENT ASS'Y,OUTER

SN: 56495-UP

1шт.

16

0

ELEMENT,OUTER

SN: 56495-UP

1шт.

17

600-181-8640

NUT

SN: 56495-UP

1шт.

18

600-181-7511

WASHER,SEAL

SN: 56495-UP

1шт.

19

04064-01510

RING,SNAP

SN: 56495-UP

1шт.

20

0

ELEMENT,INNER

SN: 56495-UP

1шт.

20

0

ELEMENT,INNER (FOR TRIMMING DOZER)

SN: 56495-UP

1шт.

21

600-181-9631

NUT

SN: 56495-UP

1шт.

22

600-181-7511

WASHER,SEAL

SN: 56495-UP

1шт.

23

600-181-9551

DIVIDER

SN: 56495-UP

1шт.

24

600-181-9430

GASKET

SN: 56495-UP

1шт.

25

600-181-9541

PAN,DUST

SN: 56495-UP

1шт.

26

600-181-7680

VALVE

SN: 56495-UP

1шт.

27

09637-00160

PLATE, INSTRUCTION,(JAPANESE-ENGLISH)

SN: 56495-UP

1шт.

27

09637-70160

PLATE, INSTRUCTION,(SPANISH)

SN: 56495-UP

1шт.

27

09637-81160

PLATE, INSTRUCTION,(GERMAN)

SN: 56495-UP

1шт.

27

09637-30260

PLATE, INSTRUCTION,(FRENCH)

SN: 56495-UP

1шт.

27

09637-50260

PLATE, INSTRUCTION,(PORTUGUESE)

SN: 56495-UP

1шт.

27

09637-90261

PLATE, INSTRUCTION,(CHINESE)

SN: 56495-UP

1шт.

28

600-181-9171

CAP

SN: 56495-UP

1шт.

29

6130-12-4440

HOSE

SN: 56495-UP

1шт.

30

07281-00909

CLAMP

SN: 56495-UP

2шт.

31

07281-01029

CLAMP

SN: 56495-UP

2шт.

32

6130-12-4432

BRACKET

SN: 56495-UP

1шт.

33

6130-12-4490

BAND ASS'Y

SN: .-UP

2шт.

34

6110-23-6520

BOLT

SN: 56495-UP

2шт.

35

6110-21-6530

PIN

SN: 56495-UP

2шт.

36

6110-21-6540

PIN, WITH THREAD

SN: 56495-UP

2шт.

Выбрано товаров: 94