Запчасти Komatsu D31A-17 ГУСЕНИЧНАЯ РАМА ГУСЕНИЦЫ

Схема запчастей Komatsu D31A-17 - ГУСЕНИЧНАЯ РАМА ГУСЕНИЦЫ
FIT
1:1
100%

Артикул

Название

Примечание

Количество

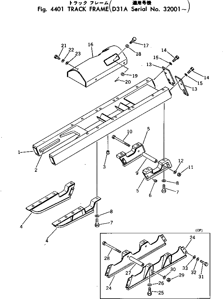
1

113-30-31120

FRAME,TRACK

SN: 32001-UP

2шт.

2

112-30-21150

PLATE

SN: 32001-UP

2шт.

3

07049-01620

PLUG

SN: 32001-UP

8шт.

4

11G-30-22111

GUARD,OUTER, L.H. AND INNER, R.H.

SN: 32001-UP

2шт.

4

11G-30-22121

GUARD,INNER, L.H. AND OUTER, R.H.

SN: 32001-UP

2шт.

5

11G-30-22132

GUARD,OUTER, L.H. AND INNER, R.H.

SN: 32001-UP

2шт.

5

11G-30-22142

GUARD,INNER, L.H. AND OUTER, R.H.

SN: 32001-UP

2шт.

6

07049-01418

PLUG

SN: 32001-UP

16шт.

7

01010-31640

BOLT

SN: 32001-UP

28шт.

8

01643-31645

WASHER

SN: 32001-UP

28шт.

9

111-30-32160

TUBE

SN: 32001-UP

2шт.

10

09205-16230

BOLT

SN: 32001-UP

2шт.

11

01580-11613

NUT

SN: 32001-UP

2шт.

12

01643-31645

WASHER

SN: 32001-UP

2шт.

13

113-30-22151

PLATE

SN: 32001-UP

4шт.

14

01010-31640

BOLT

SN: 32001-UP

16шт.

15

01643-31645

WASHER

SN: 32001-UP

16шт.

16

113-30-37110

COVER,L.H.

SN: 32001-UP

1шт.

16

113-30-37120

COVER,R.H.

SN: 32001-UP

1шт.

17

141-30-17160

BOLT

SN: 32001-UP

2шт.

18

01640-21016

WASHER

SN: 32001-UP

2шт.

19

01641-21016

WASHER

SN: 32001-UP

2шт.

20

04050-03015

PIN

SN: 32001-UP

2шт.

21

01010-31025

BOLT

SN: 32001-UP

8шт.

22

01602-01030

WASHER

SN: 32001-UP

8шт.

23

01643-31032

WASHER

SN: 32001-UP

8шт.

24

113-30-22131

GUARD,OUTER, L.H. AND INNER, R.H.

SN: 32001-UP

2шт.

24

113-30-22141

GUARD,INNER, L.H. AND OUTER, R.H.

SN: 32001-UP

2шт.

25

01010-31640

BOLT

SN: 32001-UP

8шт.

26

01643-31645

WASHER

SN: 32001-UP

8шт.

27

111-30-32160

TUBE

SN: 32001-UP

4шт.

28

09205-16230

BOLT

SN: 32001-UP

4шт.

29

01580-01613

NUT

SN: 32001-UP

4шт.

30

01643-31645

WASHER

SN: 32001-UP

4шт.

31

01010-31430

BOLT

SN: 32001-UP

16шт.

32

01602-01442

WASHER

SN: 32001-UP

16шт.

33

01643-31445

WASHER

SN: 32001-UP

16шт.

Выбрано товаров: 37