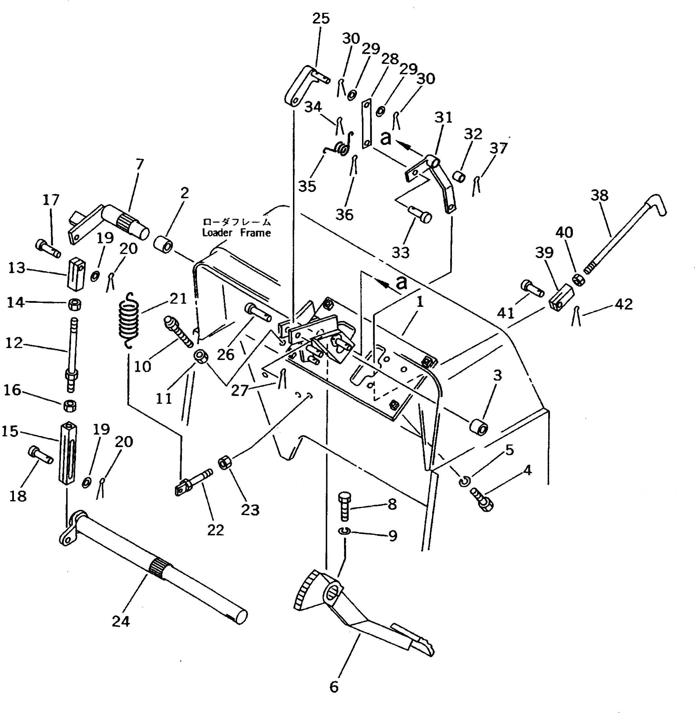
Запчасти Komatsu D31A-20 ПЕДАЛЬ ТОРМОЗА (ДЛЯ TWO РЫЧАГИ РУЛЕВ. УПРАВЛЕНИЕ) КАБИНА ОПЕРАТОРА И СИСТЕМА УПРАВЛЕНИЯ

Схема запчастей Komatsu D31A-20 - ПЕДАЛЬ ТОРМОЗА (ДЛЯ TWO РЫЧАГИ РУЛЕВ. УПРАВЛЕНИЕ) КАБИНА ОПЕРАТОРА И СИСТЕМА УПРАВЛЕНИЯ
FIT
1:1
100%

Артикул

Название

Примечание

Количество

1

114-43-51140

BRACKET

SN: 42714-UP

1шт.

|1

103-43-38511

BRACKET

SN: 42001-42713

1шт.

2

09350-03020

BUSHING

SN: 42001-UP

1шт.

3

09350-02520

BUSHING

SN: 42001-UP

1шт.

4

01010-81030

BOLT

SN: 42001-UP

2шт.

5

01602-21030

WASHER,SPRING

SN: 42001-UP

2шт.

6

103-43-31213

PEDAL

SN: 42001-UP

1шт.

7

103-43-33210

LEVER \

SN: 42001-UP

1шт.

8

01010-81030

BOLT

SN: 42001-UP

1шт.

9

01602-21030

WASHER,SPRING

SN: 42001-UP

1шт.

10

113-43-21340

BUMPER

SN: 42001-UP

1шт.

11

01580-11008

NUT

SN: 42001-UP

1шт.

12

04248-31216

ROD

SN: 42001-UP

1шт.

13

113-43-21680

YOKE,L.H. THREAD

SN: 42001-UP

1шт.

14

01508-41207

NUT,L.H. THREAD

SN: 42001-UP

1шт.

15

20D-43-16181

YOKE

SN: 42001-UP

1шт.

16

01582-11210

NUT

SN: 42001-UP

1шт.

17

103-43-21170

PIN

SN: 42001-UP

1шт.

18

04205-11030

PIN

SN: 42001-UP

1шт.

19

01641-21016

WASHER

SN: 42001-UP

2шт.

20

04050-13020

PIN,COTTER

SN: 42001-UP

2шт.

21

230-43-14151

SPRING

SN: 42001-UP

1шт.

22

113-43-31430

BOLT

SN: 42001-UP

1шт.

23

01580-11008

NUT

SN: 42001-UP

1шт.

24

113-43-38571

SHAFT

SN: 42001-UP

1шт.

25

103-43-32310

PLATE \

SN: 42001-UP

1шт.

26

04205-11445

PIN

SN: 42001-UP

1шт.

27

04050-14028

PIN,COTTER

SN: 42001-UP

1шт.

28

103-43-32320

PLATE

SN: 42001-UP

1шт.

29

01643-30823

WASHER

SN: 42001-UP

2шт.

30

04050-13015

PIN,COTTER

SN: 42001-UP

2шт.

|31

103-43-00471

LEVER ASS'Y

SN: 42001-UP

1шт.

31

0

LEVER

SN: 42001-UP

1шт.

32

09350-01420

BUSHING

SN: 42001-UP

1шт.

33

04205-10622

PIN

SN: 42001-UP

1шт.

34

04050-11612

PIN,COTTER

SN: 42001-UP

1шт.

35

09463-00006

SPRING

SN: 42001-UP

1шт.

36

04050-11610

PIN,COTTER

SN: 42001-UP

1шт.

37

04050-14028

PIN,COTTER

SN: 42001-UP

1шт.

38

103-43-32350

HANDLE

SN: 42001-UP

1шт.

39

04210-20832

YOKE

SN: 42001-UP

1шт.

40

01580-10806

NUT

SN: 42001-UP

1шт.

41

04205-10822

PIN

SN: 42001-UP

1шт.

42

04050-12015

PIN,COTTER

SN: 42001-UP

1шт.

Выбрано товаров: 44