Запчасти Komatsu D31A-20 РАДИАТОР И ТРУБЫ (С ПЫЛЕЗАЩИТНОЙ РЕШЕТКОЙ И УПЛОТНЕНИЕED ТИП ГЕНЕРАТОР)(№-7) СИСТЕМА ОХЛАЖДЕНИЯ

Схема запчастей Komatsu D31A-20 - РАДИАТОР И ТРУБЫ (С ПЫЛЕЗАЩИТНОЙ РЕШЕТКОЙ И УПЛОТНЕНИЕED ТИП ГЕНЕРАТОР)(№-7) СИСТЕМА ОХЛАЖДЕНИЯ
FIT
1:1
100%

Артикул

Название

Примечание

Количество

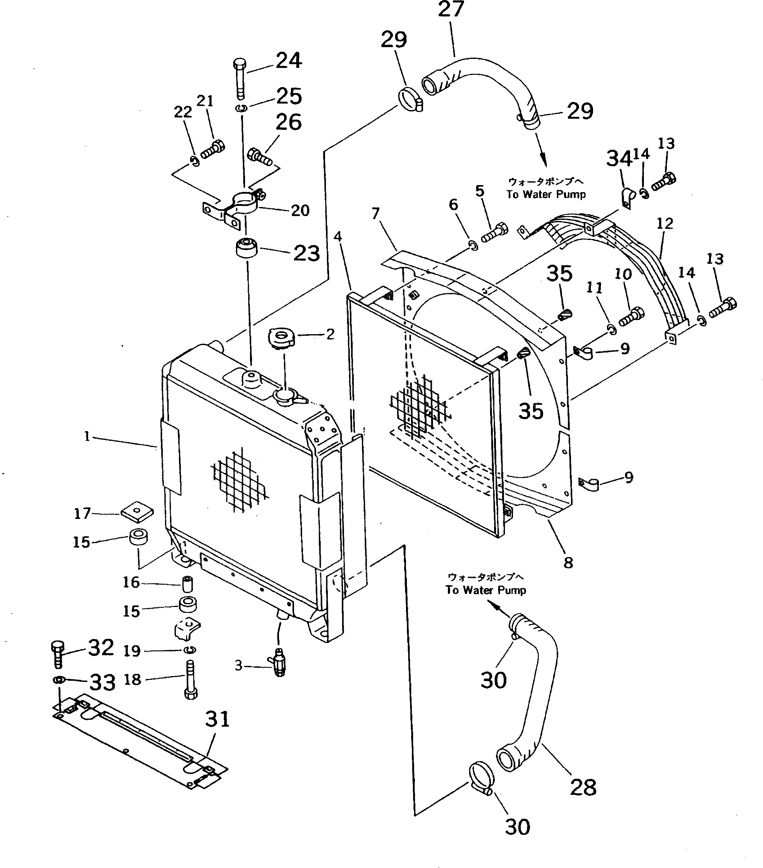
1

113-03-41710

CORE ASS'Y,RADIATOR

SN: 42001-42713

1шт.

2

114-03-48160

CAP

SN: 42001-42713

1шт.

3

07730-10003

VALVE

SN: 42001-42713

1шт.

4

114-03-41610

GRID,CORE

SN: 42001-42713

1шт.

5

01010-51025

BOLT

SN: 42001-42713

4шт.

6

01602-21030

WASHER,SPRING

SN: 42001-42713

4шт.

7

114-03-49110

SHROUD,UPPER

SN: 42001-42713

1шт.

8

113-03-49120

SHROUD,LOWER

SN: 42001-42713

1шт.

9

281-03-12620

CLAMP

SN: 42001-42713

2шт.

10

01010-51025

BOLT

SN: 42001-42713

6шт.

11

01602-21030

WASHER,SPRING

SN: 42001-42713

6шт.

12

113-03-41451

NET,WIRE

SN: 42001-42713

1шт.

13

01010-51025

BOLT

SN: 42001-42713

3шт.

14

01602-21030

WASHER,SPRING

SN: 42001-42713

3шт.

15

113-03-21160

SEAT

SN: 42001-42713

4шт.

16

113-03-21170

SPACER

SN: 42001-42713

2шт.

17

113-03-21180

PLATE

SN: 42001-42713

2шт.

18

01010-51060

BOLT

SN: 42001-42713

2шт.

19

01602-21030

WASHER,SPRING

SN: 42001-42713

2шт.

20

113-03-41191

BRACKET

SN: 42001-42713

1шт.

21

01010-51025

BOLT

SN: 42001-42713

2шт.

22

01602-21030

WASHER,SPRING

SN: 42001-42713

2шт.

23

135-03-12110

DAMPER

SN: 42001-42713

1шт.

24

01010-51460

BOLT

SN: 42001-42713

1шт.

25

01602-21442

WASHER,SPRING

SN: 42001-42713

1шт.

26

01010-51030

BOLT

SN: 42001-42713

1шт.

27

114-03-41140

HOSE,INLET

SN: 42001-42713

1шт.

28

113-03-41150

HOSE,OUTLET

SN: 42001-42713

1шт.

29

207-09-11110

CLAMP

SN: 42001-42713

2шт.

30

208-09-11110

CLAMP

SN: 42001-42713

2шт.

31

114-03-41171

BAFFLE

SN: 42001-42713

1шт.

32

01010-51025

BOLT

SN: 42001-42713

3шт.

33

01602-21030

WASHER,SPRING

SN: 42001-42713

3шт.

34

08036-91214

CLIP

SN: 42001-42713

1шт.

35

07049-01012

PLUG

SN: 42001-42713

2шт.

Выбрано товаров: 0