Запчасти Komatsu D31A-20 С-ОБРАЗН. РАМА РАБОЧЕЕ ОБОРУДОВАНИЕ

Схема запчастей Komatsu D31A-20 - С-ОБРАЗН. РАМА РАБОЧЕЕ ОБОРУДОВАНИЕ
FIT
1:1
100%

Артикул

Название

Примечание

Количество

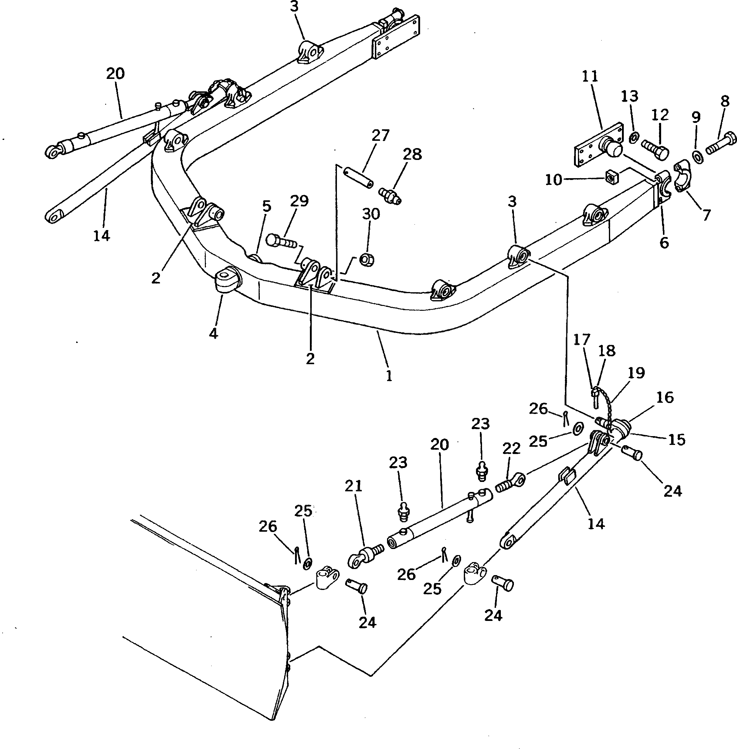
|1

114-X40-0010

C-FRAME ASS'Y

SN: 42001-UP

1шт.

1

0

C-FRAME

SN: 42001-UP

1шт.

2

114-X40-1120

BRACKET,L.H. (WELDED)

SN: 42001-UP

1шт.

|2

114-X40-1130

BRACKET,R.H. (WELDED)

SN: 42001-UP

1шт.

3

112-70-11321

BRACKET,L.H. (WELDED)

SN: 42001-UP

3шт.

|3

112-70-11460

BRACKET,R.H. (WELDED)

SN: 42001-UP

3шт.

4

112-70-11171

JOINT (WELDED)

SN: 42001-UP

1шт.

5

112-70-11181

BOSS (WELDED)

SN: 42001-UP

1шт.

6

0

PIVOT (WELDED)

SN: 42001-UP

2шт.

7

130-70-13231

CAP

SN: 42001-UP

2шт.

8

01011-82445

BOLT

SN: 42001-UP

4шт.

9

01643-32460

WASHER

SN: 42001-UP

4шт.

10

130-70-13241

NUT

SN: 42001-UP

4шт.

11

112-70-11342

TRUNNION

SN: 42714-UP

2шт.

|11

112-70-11341

TRUNNION

SN: 42001-42713

2шт.

12

01010-51645

BOLT

SN: 42001-UP

12шт.

13

01643-31645

WASHER

SN: 42001-UP

12шт.

14

112-70-11271

ARM

SN: 42001-UP

2шт.

15

112-70-11281

PIN

SN: 42001-UP

1шт.

16

112-70-11290

BOSS (WELDED)

SN: 42001-UP

1шт.

17

112-70-11351

PIN

SN: 42001-UP

1шт.

18

09245-50060

HOOK

SN: 42001-UP

2шт.

19

09245-04830

CHAIN

SN: 42001-UP

1шт.

20

113-Z40-2410

BRACE

SN: 42001-UP

2шт.

21

113-Z40-2420

SCREW

SN: 42001-UP

2шт.

22

113-Z40-2430

SCREW

SN: 42001-UP

2шт.

23

07020-00000

FITTING,GREASE

SN: 42001-UP

4шт.

24

112-70-11210

PIN

SN: 42001-UP

6шт.

25

01640-23550

WASHER

SN: 42001-UP

6шт.

26

04050-16050

PIN,COTTER

SN: 42001-UP

6шт.

27

103-70-26350

PIN

SN: 42001-UP

2шт.

28

07020-00000

FITTING,GREASE

SN: 42001-UP

2шт.

29

01010-51070

BOLT

SN: 42001-UP

2шт.

30

01598-01011

NUT

SN: 42001-UP

2шт.

|$$35

SERVICE PARTS

-1шт.

6

112-70-00051

PIVOT ASS'Y

SN: 42001-UP

2шт.

|6

0

PIVOT (WELDED)

SN: 42001-UP

1шт.

7

130-70-13231

CAP

SN: 42001-UP

1шт.

8

01011-82445

BOLT

SN: 42001-UP

2шт.

9

01643-32460

WASHER

SN: 42001-UP

2шт.

10

130-70-13241

NUT

SN: 42001-UP

2шт.

Выбрано товаров: 41