Запчасти Komatsu D31A-20 ГИДРОЛИНИЯ COVER РАБОЧЕЕ ОБОРУДОВАНИЕ

Схема запчастей Komatsu D31A-20 - ГИДРОЛИНИЯ COVER РАБОЧЕЕ ОБОРУДОВАНИЕ
FIT
1:1
100%

Артикул

Название

Примечание

Количество

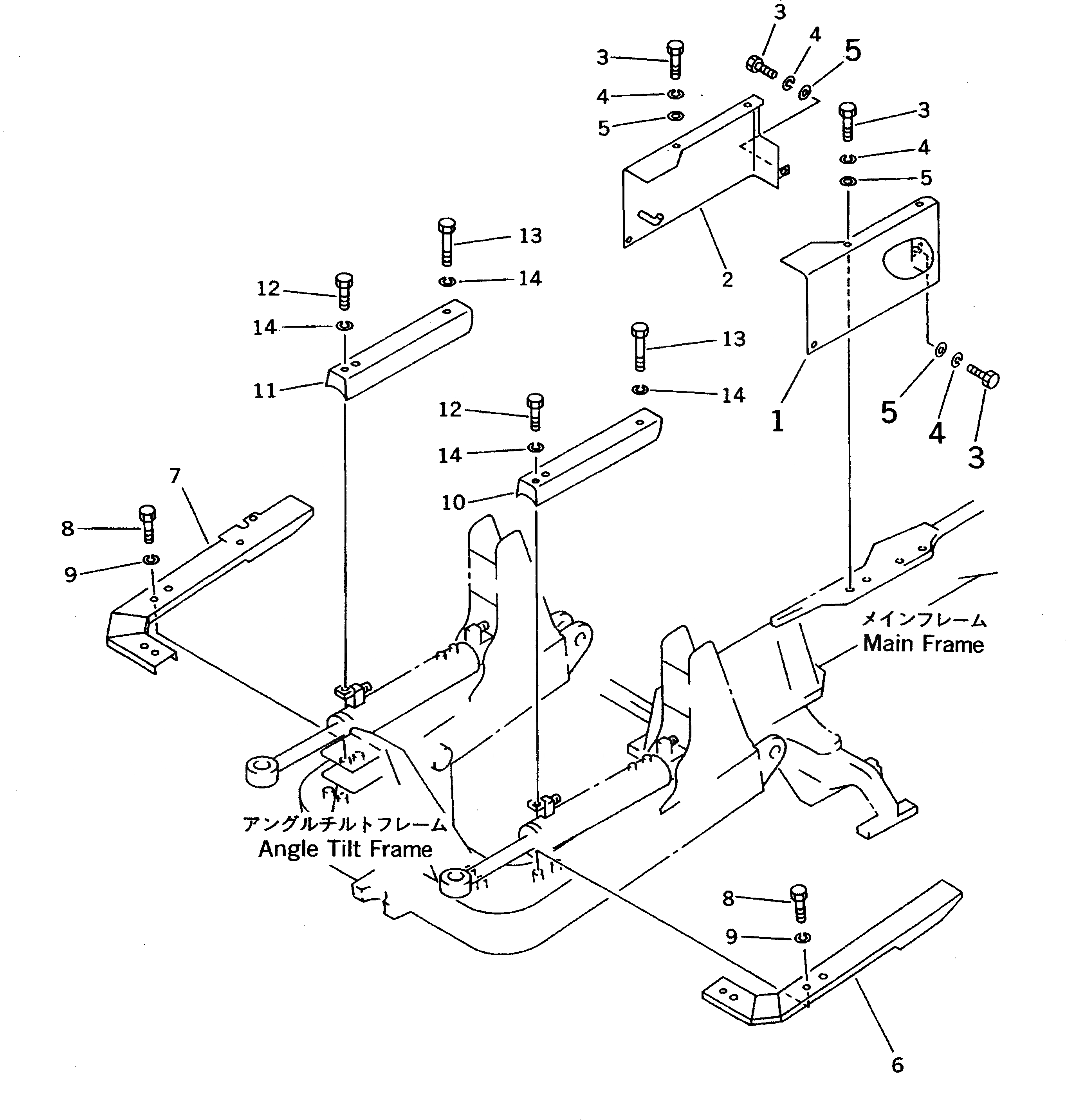
1

114-62-46141

COVER,L.H.

SN: 42714-UP

1шт.

|1

114-62-46140

COVER,L.H.

SN: 42001-42713

1шт.

2

114-62-46151

COVER,R.H.

SN: 42714-UP

1шт.

|2

114-62-46150

COVER,R.H.

SN: 42001-42713

1шт.

3

01010-81025

BOLT

SN: 42001-UP

8шт.

4

01602-21030

WASHER,SPRING

SN: 42001-UP

8шт.

5

01643-31032

WASHER

SN: 42001-UP

8шт.

6

114-62-46210

COVER,L.H.

SN: 42001-UP

1шт.

7

114-62-46220

COVER,R.H.

SN: 42001-UP

1шт.

8

01010-81020

BOLT

SN: 42001-UP

7шт.

9

01643-31032

WASHER

SN: 43022-UP

7шт.

|9

01602-21030

WASHER,SPRING

SN: 42001-43021

7шт.

10

114-62-46230

COVER,L.H.

SN: 42001-UP

1шт.

11

114-62-46240

COVER,R.H.

SN: 42001-UP

1шт.

12

01010-81020

BOLT

SN: 42001-UP

2шт.

13

01010-81055

BOLT

SN: 42001-UP

2шт.

14

01643-31032

WASHER

SN: 43022-UP

4шт.

|14

01602-21030

WASHER,SPRING

SN: 42001-43021

4шт.

Выбрано товаров: 18