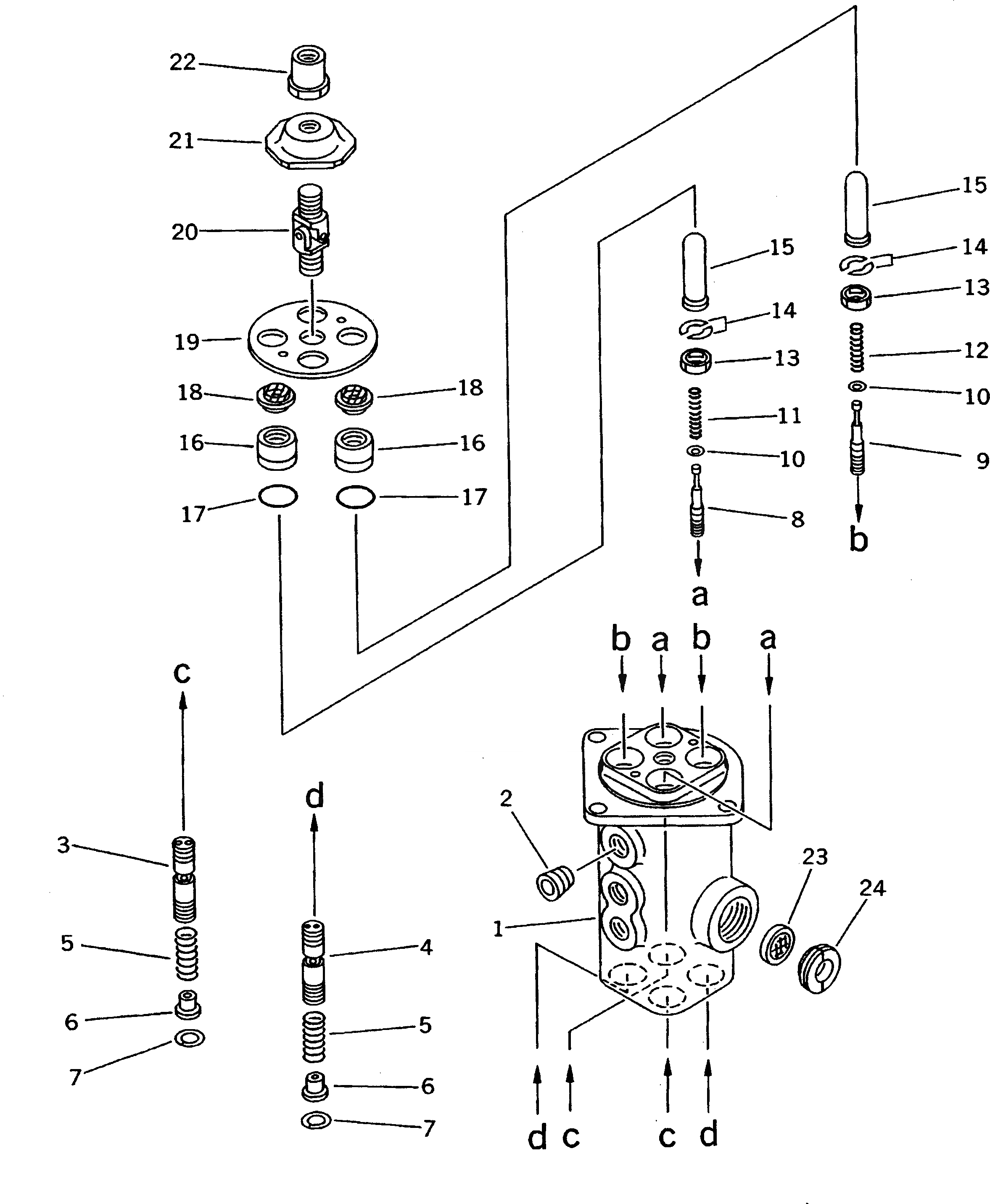
Запчасти Komatsu D31A-20 P.P.C. КЛАПАН(№-98) ОСНОВН. КОМПОНЕНТЫ И РЕМКОМПЛЕКТЫ

Схема запчастей Komatsu D31A-20 - P.P.C. КЛАПАН(№-98) ОСНОВН. КОМПОНЕНТЫ И РЕМКОМПЛЕКТЫ
FIT
1:1
100%

Артикул

Название

Примечание

Количество

|1

702-16-83000

VALVE ASS'Y

SN: 42001-42198

1шт.

1

0

BODY

SN: 42001-42198

1шт.

2

07043-50312

PLUG

SN: 42001-42198

5шт.

3

0

VALVE

SN: 42001-42198

2шт.

4

0

VALVE

SN: 42001-42198

2шт.

5

702-16-51331

SPRING

SN: 42001-42198

4шт.

6

700-20-51550

RING

SN: 42001-42198

4шт.

7

702-16-51341

RETAINER

SN: 42001-42198

4шт.

8

0

PISTON

SN: 42001-42198

2шт.

9

0

PISTON

SN: 42001-42198

2шт.

10

702-16-51140

SHIM¤ 0.30MM

SN: 42001-42198

8шт.

11

702-16-52490

SPRING

SN: 42001-42198

2шт.

12

702-16-52480

SPRING

SN: 42001-42198

2шт.

13

702-16-51161

RETAINER

SN: 42001-42198

4шт.

14

702-16-51170

COLLAR

SN: 42001-42198

8шт.

15

702-16-51210

PISTON

SN: 42001-42198

4шт.

16

702-16-51220

COLLAR

SN: 42001-42198

4шт.

17

07000-02020

O-RING

SN: 42001-42198

4шт.

18

702-16-51270

SEAL

SN: 42001-42198

4шт.

19

702-16-51231

PLATE

SN: 42001-42198

1шт.

20

702-16-51240

JOINT

SN: 42001-42198

1шт.

21

702-16-51430

DISK

SN: 42001-42198

1шт.

22

702-16-51260

NUT

SN: 42001-42198

1шт.

23

720-68-15240

FILTER

SN: 42001-42198

1шт.

24

702-16-51410

PLUG

SN: 42001-42198

1шт.

Выбрано товаров: 25