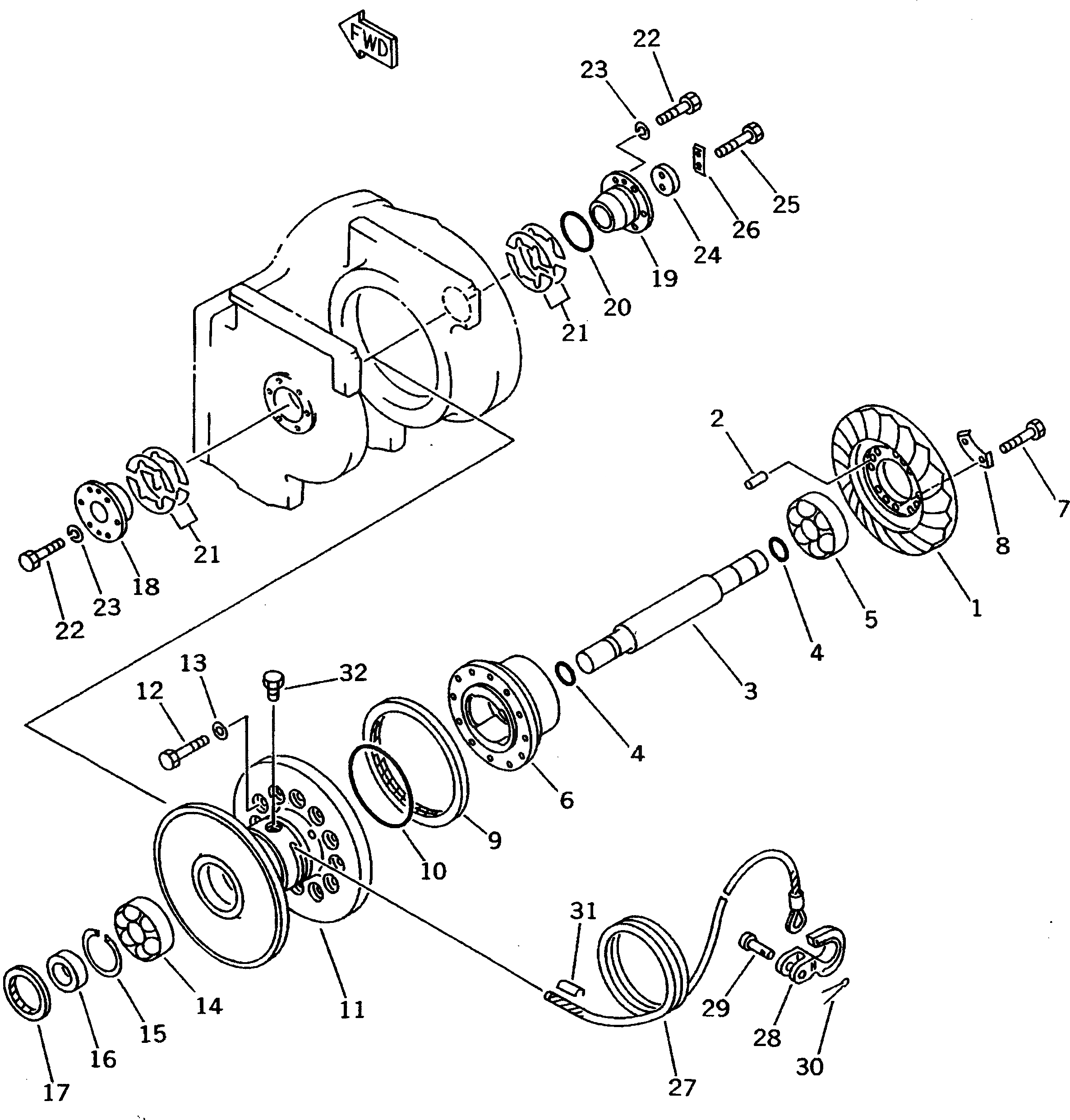
Запчасти Komatsu D31AM-20 ТЯГОВ. ЛЕБЕДКА (КОНИЧЕСКАЯ ПЕРЕДАЧА¤ БАРАБАН И ПРОВОЛОЧНЫЙ КАНАТ) РАБОЧЕЕ ОБОРУДОВАНИЕ

Схема запчастей Komatsu D31AM-20 - ТЯГОВ. ЛЕБЕДКА (КОНИЧЕСКАЯ ПЕРЕДАЧА¤ БАРАБАН И ПРОВОЛОЧНЫЙ КАНАТ) РАБОЧЕЕ ОБОРУДОВАНИЕ
FIT
1:1
100%

Артикул

Название

Примечание

Количество

1

114-Y60-1160

GEAR,BEVEL

SN: 42001-UP

1шт.

2

04020-01842

PIN,DOWEL

SN: 42001-UP

4шт.

3

114-Y60-1130

SHAFT

SN: 42001-UP

1шт.

4

07000-03048

O-RING

SN: 42001-UP

2шт.

5

114-Z60-1540

BEARING

SN: 42001-UP

1шт.

6

114-Z60-1530

CAGE

SN: 42001-UP

1шт.

7

01010-51440

BOLT

SN: 42001-UP

8шт.

8

114-Z60-1620

LOCK

SN: 42001-UP

4шт.

9

114-X60-2131

SEAL,OIL

SN: 42199-UP

1шт.

|9

0

SEAL,OIL

SN: 42001-42198

1шт.

10

07000-05195

O-RING

SN: 42001-UP

1шт.

11

114-Z60-1550

DRUM

SN: 42001-UP

1шт.

12

01010-51435

BOLT

SN: 42001-UP

12шт.

13

01602-21442

WASHER,SPRING

SN: 42001-UP

12шт.

14

06042-02311

BEARING

SN: 42001-UP

1шт.

15

04071-00120

RING,SNAP

SN: 42001-UP

1шт.

16

114-Z60-1610

COLLAR

SN: 42001-UP

1шт.

17

07012-00095

SEAL,OIL

SN: 42001-UP

1шт.

18

114-Z60-2440

COVER

SN: 42001-UP

1шт.

19

114-Z60-2360

BRACKET

SN: 42001-UP

1шт.

20

07000-02085

O-RING

SN: 42001-UP

1шт.

21

114-Z60-0040

SHIM ASS'Y

SN: 42001-UP

2шт.

|21

0

SHIM¤ 0.2MM

SN: 42001-UP

4шт.

|21

0

SHIM¤ 0.3MM

SN: 42001-UP

6шт.

|21

0

SHIM¤ 1.0MM

SN: 42001-UP

4шт.

22

01010-51235

BOLT

SN: 42001-UP

12шт.

23

01602-21236

WASHER,SPRING

SN: 42001-UP

12шт.

24

04080-05512

HOLDER

SN: 42001-UP

1шт.

25

01010-51230

BOLT

SN: 42001-UP

2шт.

26

04081-05512

LOCK

SN: 42001-UP

1шт.

27

114-Z60-2610

WIRE ASS'Y

SN: 42001-UP

1шт.

28

101-75-33140

HOOK

SN: 42001-UP

1шт.

29

101-75-26120

PIN

SN: 42001-UP

1шт.

30

04050-05030

PIN,COTTER

SN: 42001-UP

1шт.

31

114-Z60-2620

PLATE

SN: 42001-UP

1шт.

32

114-Z60-1580

BOLT

SN: 42001-UP

1шт.

Выбрано товаров: 36