Запчасти Komatsu D31AM-20 ТЯГОВ. ЛЕБЕДКА (УПРАВЛЯЮЩ. КЛАПАН) (/) (ДЛЯ ЛЕБЕДКА УПРАВЛ-Е OF IN INCHING МЕХАНИЗМ) РАБОЧЕЕ ОБОРУДОВАНИЕ

Схема запчастей Komatsu D31AM-20 - ТЯГОВ. ЛЕБЕДКА (УПРАВЛЯЮЩ. КЛАПАН) (/) (ДЛЯ ЛЕБЕДКА УПРАВЛ-Е OF IN   INCHING МЕХАНИЗМ) РАБОЧЕЕ ОБОРУДОВАНИЕ
FIT
1:1
100%

Артикул

Название

Примечание

Количество

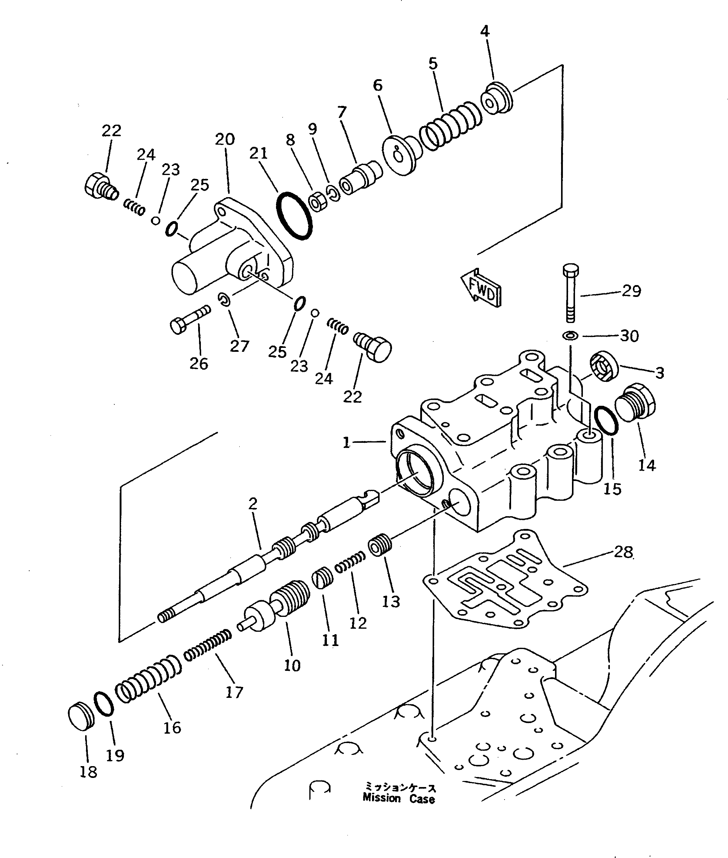
|1

114-X60-0070

VALVE ASS'Y,LOWER

SN: 42001-UP

1шт.

1

114-X60-1210

BODY

SN: 42001-UP

1шт.

2

104-Z60-3330

SPOOL

SN: 42001-UP

1шт.

3

113-15-29110

SEAL,OIL

SN: 42001-UP

1шт.

4

104-Z60-3420

COLLAR

SN: 42001-UP

1шт.

5

104-Z60-3430

SPRING

SN: 42001-UP

1шт.

6

104-Z60-3450

COLLAR

SN: 42001-UP

1шт.

7

104-Z60-3440

DETENT

SN: 42001-UP

1шт.

8

01580-10806

NUT

SN: 42001-UP

1шт.

9

01602-20825

WASHER,SPRING

SN: 42001-UP

1шт.

10

104-15-25210

SPOOL

SN: 42001-UP

1шт.

11

104-15-25490

VALVE

SN: 42001-UP

1шт.

12

125-15-15290

SPRING

SN: 42001-UP

1шт.

13

104-15-25480

VALVE

SN: 42001-UP

1шт.

14

102-10-46360

PLUG

SN: 42001-UP

1шт.

15

07002-02434

O-RING

SN: 42001-UP

1шт.

16

104-15-25290

SPRING¤ (L= 62.0)

SN: 42001-UP

1шт.

17

104-15-25280

SPRING

SN: 42001-UP

1шт.

18

104-15-25340

STOPPER

SN: 42001-UP

1шт.

19

07000-02020

O-RING

SN: 42001-UP

1шт.

20

104-Z60-3410

COVER

SN: 42001-UP

1шт.

21

07000-03042

O-RING

SN: 42001-UP

1шт.

22

104-Z60-3370

DETENT

SN: 42001-UP

2шт.

23

04260-00635

BALL

SN: 42001-UP

1шт.

24

104-Z60-3360

SPRING

SN: 42001-UP

1шт.

25

07002-21223

O-RING

SN: 42001-UP

2шт.

26

01010-50825

BOLT

SN: 42001-UP

2шт.

27

01602-20825

WASHER,SPRING

SN: 42001-UP

2шт.

28

104-Z60-3321

GASKET

SN: 42001-UP

1шт.

29

01010-50855

BOLT

SN: 42001-UP

3шт.

30

01602-20825

WASHER,SPRING

SN: 42001-UP

3шт.

Выбрано товаров: 31