Запчасти Komatsu D31AM-20 ГИДРОЦИЛИНДР ПОДЪЕМА ОСНОВН. КОМПОНЕНТЫ И РЕМКОМПЛЕКТЫ

Схема запчастей Komatsu D31AM-20 - ГИДРОЦИЛИНДР ПОДЪЕМА ОСНОВН. КОМПОНЕНТЫ И РЕМКОМПЛЕКТЫ
FIT
1:1
100%

Артикул

Название

Примечание

Количество

G-1

0

CYLINDER GROUP,LIFT¤ L.H.

SN: 42001-UP

1шт.

G-1

0

CYLINDER GROUP,LIFT¤ R.H.

SN: 42001-UP

1шт.

|$$3

====================

-1шт.

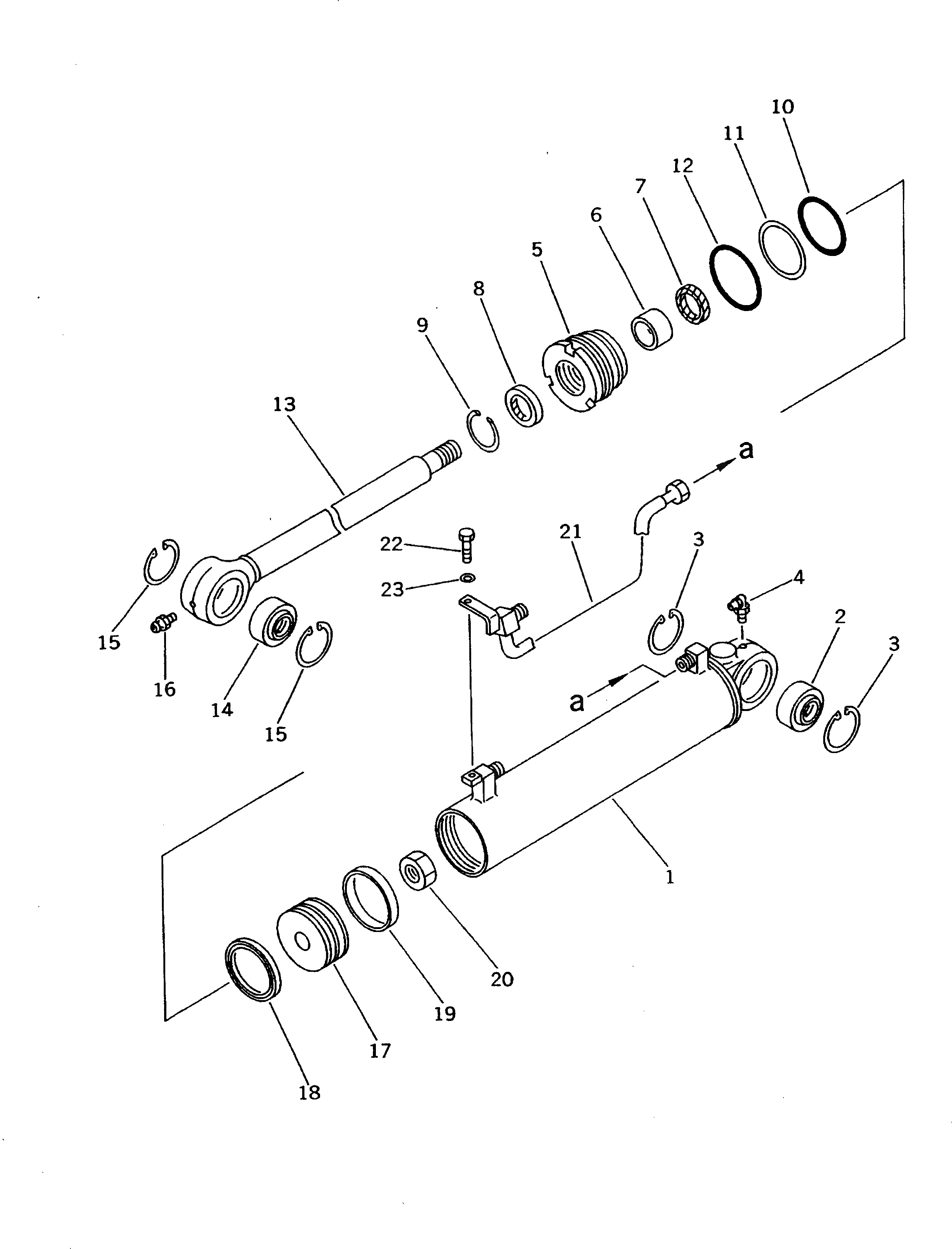
|1

114-63-02011

CYLINDER ASS'Y,LIFT

SN: 42001-UP

1шт.

1

114-63-12341

CYLINDER

SN: 42001-UP

1шт.

2

114-63-55170

BUSHING

SN: 42001-UP

1шт.

3

04065-06220

RING,SNAP

SN: 42001-UP

2шт.

4

07020-00675

FITTING,GREASE

SN: 42001-UP

1шт.

5

707-29-90910

HEAD,CYLINDER

SN: 42001-UP

1шт.

6

07177-04025

BUSHING

SN: 42001-UP

1шт.

7

707-51-40210

PACKING,ROD

SN: 42001-UP

1шт.

8

198-63-75190

SEAL,DUST

SN: 42001-UP

1шт.

9

07179-12052

RING,SNAP

SN: 42001-UP

1шт.

10

07000-12085

O-RING

SN: 42001-UP

1шт.

11

07001-02085

RING,BACK-UP

SN: 42001-UP

1шт.

12

07000-02090

O-RING

SN: 42001-UP

1шт.

13

114-63-12320

ROD,PISTON

SN: 42001-UP

1шт.

14

114-63-55170

BUSHING

SN: 42001-UP

1шт.

15

04065-06220

RING,SNAP

SN: 42001-UP

2шт.

16

07020-00000

FITTING,GREASE

SN: 42001-UP

1шт.

17

707-36-90920

PISTON

SN: 42001-UP

1шт.

18

707-44-90070

RING,PISTON

SN: 42001-UP

1шт.

19

07156-00912

RING,WEAR

SN: 42001-UP

1шт.

20

01580-02722

NUT

SN: 42001-UP

1шт.

21

114-63-12380

TUBE,L.H.

SN: 42001-UP

1шт.

|21

114-63-12480

TUBE,R.H.

SN: 42001-UP

1шт.

22

01010-51020

BOLT

SN: 42001-UP

1шт.

23

01643-31032

WASHER

SN: 42001-UP

1шт.

|$$29

====================

-1шт.

Выбрано товаров: 29