Запчасти Komatsu D31AM-20 CROSS BAR(№7-) ОСНОВН. РАМА И КОМПОНЕНТЫ

Схема запчастей Komatsu D31AM-20 - CROSS BAR(№7-) ОСНОВН. РАМА И КОМПОНЕНТЫ
FIT
1:1
100%

Артикул

Название

Примечание

Количество

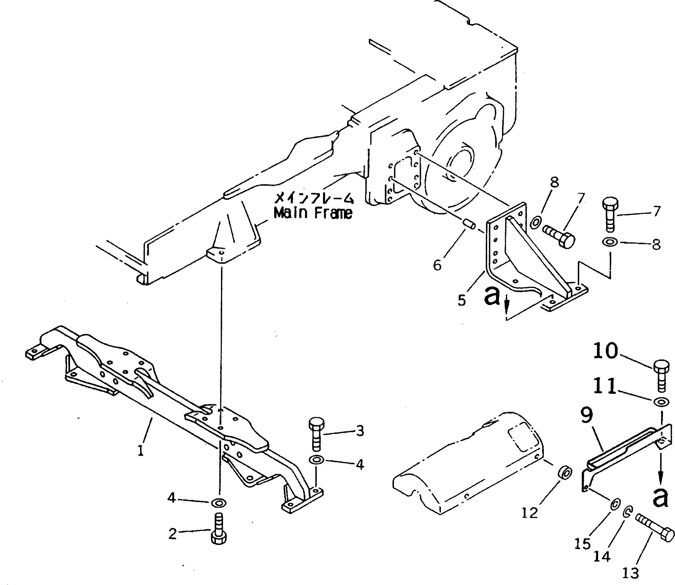
1

114-50-41110

BAR,CROSS

SN: 42001-UP

1шт.

2

01010-52055

BOLT

SN: 42001-UP

8шт.

3

01010-52050

BOLT

SN: 42001-UP

8шт.

4

01643-32060

WASHER

SN: 42001-UP

16шт.

5

113-50-41120

BRACKET

SN: 42001-UP

2шт.

6

04020-01842

PIN,DOWEL

SN: 42001-UP

4шт.

7

01010-52050

BOLT

SN: 42570-UP

18шт.

8

01643-32060

WASHER

SN: 42570-UP

18шт.

9

113-30-47110

STEP,L.H.

SN: 42570-UP

1шт.

|9

113-30-47120

STEP,R.H.

SN: 42570-UP

1шт.

10

01010-52060

BOLT

SN: 42570-UP

2шт.

11

01643-32060

WASHER

SN: 42570-UP

2шт.

12

581-95-19870

BOSS

SN: 42570-UP

2шт.

13

01010-51040

BOLT

SN: 42570-UP

2шт.

14

01602-21030

WASHER,SPRING

SN: 42570-UP

2шт.

15

01643-31032

WASHER

SN: 42570-UP

2шт.

Выбрано товаров: 16