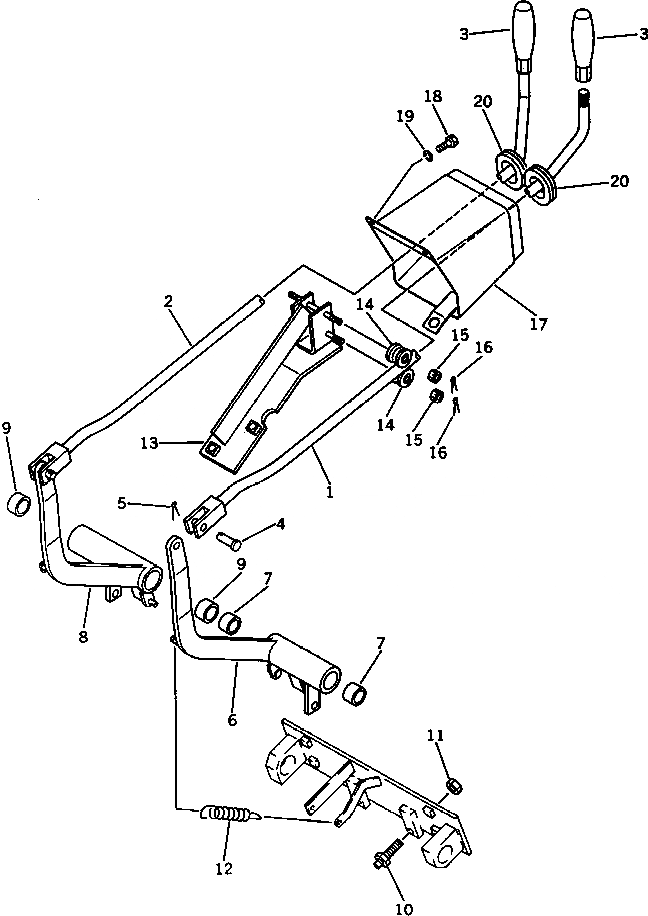
Запчасти Komatsu D31E-17 РЫЧАГ УПРАВЛЕНИЯ ПОВОРОТОМ (FO РУЛЕВ. УПРАВЛЕНИЕ И КОНЕЧНАЯ ПЕРЕДАЧА

Схема запчастей Komatsu D31E-17 - РЫЧАГ УПРАВЛЕНИЯ ПОВОРОТОМ (FO РУЛЕВ. УПРАВЛЕНИЕ И КОНЕЧНАЯ ПЕРЕДАЧА
FIT
1:1
100%

Артикул

Название

Примечание

Количество

1

113-43-38631

LEVER

SN: 32001-UP

1шт.

2

113-43-38641

LEVER

SN: 32001-UP

1шт.

3

09305-11400

KNOB

SN: 32001-UP

2шт.

4

0

PIN

SN: 32001-UP

2шт.

5

04050-13020

PIN

SN: 32001-UP

2шт.

6

113-43-00790

LEVER ASS'Y

SN: 32001-UP

1шт.

6

0

LEVER

SN: 32001-UP

1шт.

7

09350-02820

BUSHING

SN: 32001-UP

2шт.

8

113-43-00810

LEVER ASS'Y

SN: 32001-UP

1шт.

8

0

LEVER

SN: 32001-UP

1шт.

9

09350-03020

BUSHING

SN: 32001-UP

2шт.

10

09311-31237

BUMPER

SN: 32001-UP

2шт.

11

01580-11210

NUT

SN: 32001-UP

2шт.

12

113-890-6170

SPRING

SN: 32001-UP

2шт.

13

113-43-38450

BRACKET

SN: 32001-UP

1шт.

14

09365-00826

ROLLER

SN: 32001-UP

4шт.

15

0

NUT

SN: 32001-UP

4шт.

16

0

PIN

SN: 32001-UP

4шт.

17

113-43-38610

COVER

SN: 32001-UP

1шт.

18

0

BOLT

SN: 32001-UP

2шт.

19

01602-20619

WASHER

SN: 32001-UP

2шт.

20

130-54-61270

GUIDE

SN: 32001-UP

2шт.

Выбрано товаров: 22