Запчасти Komatsu D31EX-21 ГИДР. НАСОС. ГИДРАВЛИКА

Схема запчастей Komatsu D31EX-21 - ГИДР. НАСОС. ГИДРАВЛИКА
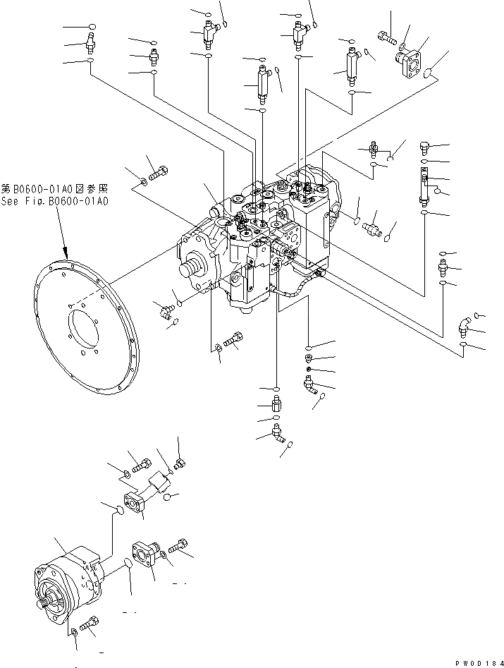
1
2
3
4
5
6
7
8
9
10
11
11
12
13
14
14
15
15
15
15
15
15
15
15
15
15
15
16
17
18
18
18
18
18
18
18
18
19
19
20
20
21
21
22
23
24
25
25
26
26
27
27
28
28
29
30
31
32
33
34
35
36
37
38
39
40
41
42
42
43
43
44
44
44
44
FIT
1:1
100%

Артикул

Название

Примечание

Количество

1

705-12-32110

PUMP ASS'Y

SN: 50001-UP

1шт.

2

01010-81235

BOLT

SN: 50001-UP

2шт.

3

01643-31232

WASHER

SN: 50001-UP

2шт.

4

720-2M-00050

PUMP ASS'Y

SN: 50098-UP

1шт.

4

720-2M-00032

PUMP ASS'Y

SN: 50096-50097

1шт.

4

720-2M-00031

PUMP ASS'Y

SN: 50001-50095

1шт.

5

01010-81640

BOLT

SN: 50001-UP

2шт.

6

01010-81235

BOLT

SN: 50001-UP

4шт.

7

01643-31645

WASHER

SN: 50001-UP

2шт.

8

01643-31232

WASHER

SN: 50001-UP

4шт.

9

02781-0021D

UNION

SN: 50070-UP

1шт.

9

11Y-62-12130

NIPPLE

SN: 50001-50069

1шт.

10

02782-10210

ELBOW

SN: 50001-UP

1шт.

11

02782-10311

ELBOW

SN: 50070-UP

2шт.

11

21W-62-42490

ELBOW

SN: 50001-50069

2шт.

12

11Y-62-12490

SPACER

SN: 50001-UP

1шт.

13

11Y-62-12481

ELBOW

SN: 50001-UP

1шт.

14

02896-11008

O-RING

SN: 50001-UP

2шт.

15

07002-11423

O-RING

SN: 50001-UP

11шт.

16

07040-11007

PLUG

SN: 50001-UP

1шт.

17

07002-11023

O-RING

SN: 50001-UP

1шт.

18

02896-11009

O-RING

SN: 50001-UP

8шт.

19

02781-00628

UNION

SN: 50070-UP

2шт.

19

11Y-62-12210

NIPPLE

SN: 50001-50069

2шт.

20

02896-11018

O-RING

SN: 50001-UP

2шт.

21

07002-12434

O-RING

SN: 50001-UP

2шт.

22

21W-62-42640

ELBOW

SN: 50001-UP

1шт.

23

11Y-62-11980

O-RING

SN: 50001-UP

1шт.

24

708-1W-28930

O-RING

SN: 50001-UP

1шт.

25

11Y-62-18160

TUBE

SN: 50001-UP

2шт.

26

07000-13032

O-RING

SN: 50001-UP

2шт.

27

01010-81035

BOLT

SN: 50001-UP

8шт.

28

01643-51032

WASHER

SN: 50001-UP

8шт.

29

11Y-62-18240

TUBE

SN: 50001-UP

1шт.

30

02896-11018

O-RING

SN: 50001-UP

1шт.

31

07000-13030

O-RING

SN: 50001-UP

1шт.

32

01010-80840

BOLT

SN: 50001-UP

4шт.

33

01643-30823

WASHER

SN: 50001-UP

4шт.

34

07040-11007

PLUG

SN: 50001-UP

1шт.

35

07002-11023

O-RING

SN: 50001-UP

1шт.

|$46

11Y-62-12710

ELBOW ASS'Y

SN: 50001-UP

1шт.

36

11Y-62-12720

ELBOW

SN: 50001-UP

1шт.

37

11Y-62-12730

ORIFICE

SN: 50001-UP

1шт.

38

11Y-62-12740

ORIFICE

SN: 50001-UP

1шт.

39

02896-11009

O-RING

SN: 50001-UP

1шт.

40

07002-11423

O-RING

SN: 50001-UP

1шт.

41

02782-10312

ELBOW

SN: 50001-UP

1шт.

42

11Y-62-13850

TEE

SN: 50001-UP

2шт.

43

11Y-62-13860

TEE

SN: 50001-UP

2шт.

44

02896-11009

O-RING

SN: 50001-UP

4шт.

Выбрано товаров: 50