Запчасти Komatsu D31P-16 УПРАВЛ-Е ТРАНСМИССИЕЙ МЕХАНИЗМ ДЕМПФЕР И ТРАНСМИССИЯ

Схема запчастей Komatsu D31P-16 - УПРАВЛ-Е ТРАНСМИССИЕЙ МЕХАНИЗМ ДЕМПФЕР И ТРАНСМИССИЯ
FIT
1:1
100%

Артикул

Название

Примечание

Количество

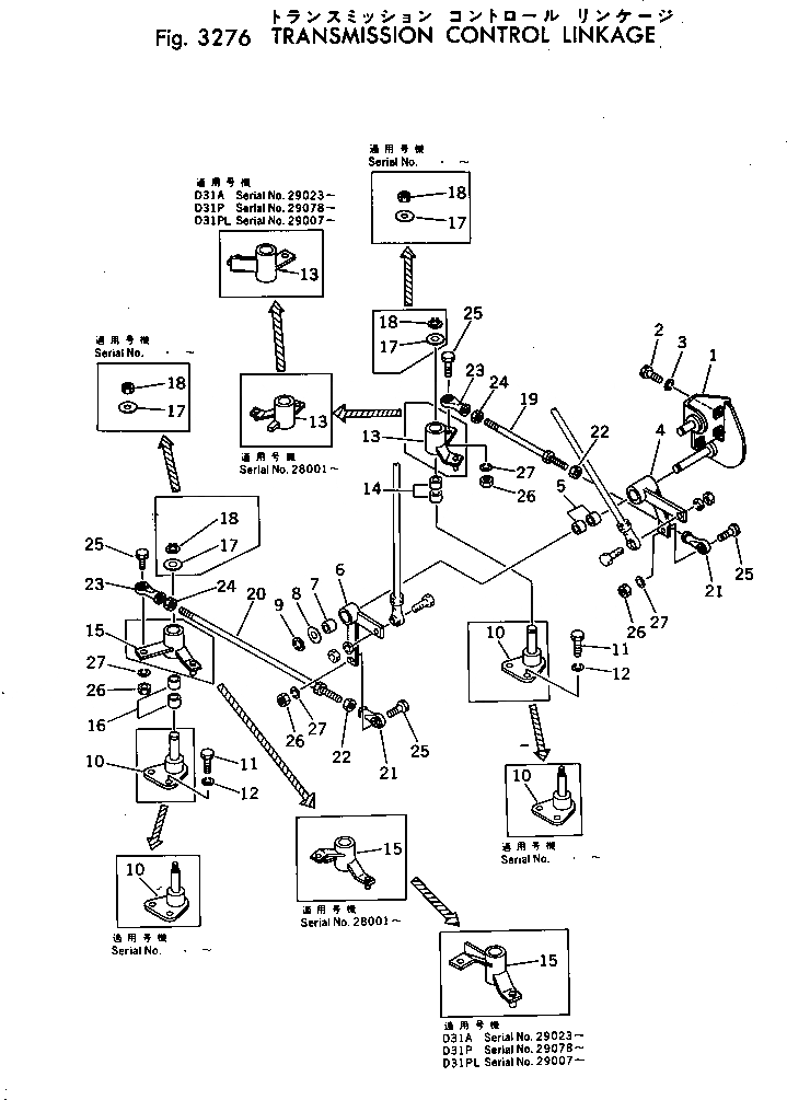
1

113-43-23131

BRACKET

SN: 25001-UP

1шт.

2

01010-31025

BOLT

SN: 25001-UP

3шт.

3

01602-01030

WASHER

SN: 25001-UP

3шт.

|$3

113-43-00050

LEVER ASS'Y

SN: 25001-UP

1шт.

4

0

LEVER

SN: 25001-UP

1шт.

5

09350-01420

BUSHING

SN: 25001-UP

2шт.

|$6

113-43-00060

LEVER ASS'Y

SN: 25001-UP

1шт.

6

0

LEVER

SN: 25001-UP

1шт.

7

09350-01420

BUSHING

SN: 25001-UP

1шт.

8

113-43-23350

WASHER

SN: 25001-UP

1шт.

9

04064-01410

RING

SN: 25001-UP

1шт.

10

113-43-23162

SHAFT

SN: .-UP

2шт.

10

0

SHAFT

SN: 25001-.

2шт.

|$$14

(113-43-23162,113-43-23230,

-1шт.

|$$15

01598-00809)

-1шт.

11

01010-31025

BOLT

SN: 25001-UP

4шт.

12

01602-01030

WASHER

SN: 25001-UP

4шт.

|$17

113-43-00082

LEVER ASS'Y

SN: 29078-UP

1шт.

|$18

113-43-00081

LEVER ASS'Y

SN: 28001-29077

1шт.

|$19

113-43-00080

LEVER ASS'Y

SN: 25001-28000

1шт.

13

0

LEVER

SN: 29078-UP

1шт.

13

0

LEVER

SN: 28001-29077

1шт.

13

0

LEVER

SN: 25001-28000

1шт.

14

09350-01420

BUSHING

SN: 25001-UP

2шт.

|$24

113-43-00072

LEVER ASS'Y

SN: 29078-UP

1шт.

|$25

113-43-00071

LEVER ASS'Y

SN: 28001-29077

1шт.

|$26

113-43-00070

LEVER ASS'Y

SN: 25001-28000

1шт.

15

0

LEVER

SN: 29078-UP

1шт.

15

0

LEVER

SN: 28001-29077

1шт.

15

0

LEVER

SN: 25001-28000

1шт.

16

09350-01420

BUSHING

SN: 25001-UP

2шт.

17

113-43-23230

WASHER

SN: .-UP

2шт.

17

113-43-23350

WASHER

SN: 25001-.

2шт.

18

01598-00809

NUT

SN: .-UP

2шт.

18

04064-01410

RING

SN: 25001-.

2шт.

19

04248-20814

ROD

SN: 25001-UP

1шт.

20

04248-00830

ROD

SN: 28001-UP

1шт.

20

04248-20832

ROD

SN: 25001-28000

1шт.

21

113-43-23270

END

SN: 25001-UP

2шт.

22

01580-00806

NUT

SN: 25001-UP

2шт.

23

113-43-23280

END,L.H. THREAD

SN: 25001-UP

2шт.

24

01508-10805

NUT, L.H. THREAD,R.H. THREAD

SN: 25001-UP

2шт.

25

01010-30830

BOLT

SN: 25001-UP

4шт.

26

01580-00806

NUT

SN: 25001-UP

4шт.

27

01602-00825

WASHER

SN: 25001-UP

4шт.

Выбрано товаров: 45