Запчасти Komatsu D31P-16 ПЕДАЛЬ ТОЛЧКОВОГО РЕГУЛИР-Я (/) (ДЛЯ ТОРМОЗН. МЕХАНИЗМ INCHING УПРАВЛ-Е)(№8-) ОПЦИОННЫЕ КОМПОНЕНТЫ

Схема запчастей Komatsu D31P-16 - ПЕДАЛЬ ТОЛЧКОВОГО РЕГУЛИР-Я (/) (ДЛЯ ТОРМОЗН. МЕХАНИЗМ INCHING УПРАВЛ-Е)(№8-) ОПЦИОННЫЕ КОМПОНЕНТЫ
FIT
1:1
100%

Артикул

Название

Примечание

Количество

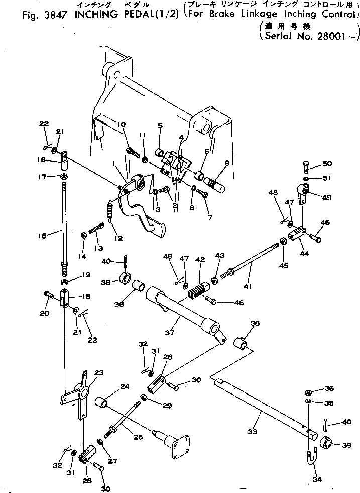
1

113-43-22520

PEDAL

SN: 28001-UP

1шт.

2

01010-51030

BOLT

SN: 28001-UP

1шт.

3

01602-21030

WASHER

SN: 28001-UP

1шт.

|3

113-43-00400

BRACKET ASS'Y

SN: 28001-UP

1шт.

4

0

BRACKET

SN: 28001-UP

1шт.

5

09350-02520

BUSHING

SN: 28001-UP

1шт.

6

09350-03020

BUSHING

SN: 28001-UP

1шт.

7

01010-51030

BOLT

SN: 28001-UP

3шт.

8

01602-21030

WASHER

SN: 28001-UP

3шт.

9

113-43-31160

SHAFT

SN: 28001-UP

1шт.

10

113-43-21340

BUMPER

SN: 28001-UP

1шт.

11

01580-11008

NUT

SN: 28001-UP

1шт.

12

135-43-14520

SPRING

SN: 28001-UP

1шт.

13

100-33-13180

BOLT

SN: 28001-UP

1шт.

14

01580-10806

NUT

SN: 28001-UP

1шт.

15

04248-31243

ROD

SN: 28001-UP

1шт.

16

04223-11255

JOINT,L.H. THREAD

SN: 28001-UP

1шт.

17

01508-21207

NUT,L.H. THREAD

SN: 28001-UP

1шт.

18

04211-21266

YOKE

SN: 28001-UP

1шт.

19

01582-11210

NUT

SN: 28001-UP

1шт.

20

04205-11235

PIN

SN: 28001-UP

1шт.

21

01641-21223

WASHER

SN: 28001-UP

2шт.

22

04050-13020

PIN

SN: 28001-UP

2шт.

|23

113-43-00410

LEVER ASS'Y

SN: 28001-UP

1шт.

23

0

LEVER

SN: 28001-UP

1шт.

24

09350-03030

BUSHING

SN: 28001-UP

1шт.

25

04248-31219

ROD

SN: 28001-UP

1шт.

26

04211-21266

YOKE

SN: 28001-UP

1шт.

27

01582-11210

NUT

SN: 28001-UP

1шт.

28

04221-21266

YOKE,L.H. THREAD

SN: 28001-UP

1шт.

29

01508-21207

NUT,L.H. THREAD

SN: 28001-UP

1шт.

30

04205-11235

PIN

SN: 28001-UP

2шт.

31

01641-21223

WASHER

SN: 28001-UP

2шт.

32

04050-13020

PIN

SN: 28001-UP

2шт.

33

113-43-27160

SHAFT

SN: 28001-UP

1шт.

34

125-43-12150

U-BOLT

SN: 28001-UP

2шт.

35

01602-21442

WASHER

SN: 28001-UP

4шт.

36

01582-11411

NUT

SN: 28001-UP

4шт.

|37

113-43-00420

LEVER ASS'Y

SN: 28001-UP

1шт.

37

0

LEVER

SN: 28001-UP

1шт.

38

09350-03030

BUSHING

SN: 28001-UP

2шт.

39

113-43-27190

COLLAR

SN: 28001-UP

2шт.

40

04025-00650

PIN

SN: 28001-UP

2шт.

41

04248-31227

ROD

SN: 28001-UP

1шт.

42

175-43-31230

YOKE

SN: 28001-UP

1шт.

43

01582-11210

NUT

SN: 28001-UP

1шт.

44

04220-21248

YOKE,L.H. THREAD

SN: 28001-UP

1шт.

45

01508-21207

NUT,L.H. THREAD

SN: 28001-UP

1шт.

46

04205-11235

PIN

SN: 28001-UP

2шт.

47

01641-21223

WASHER

SN: 28001-UP

2шт.

48

04050-13020

PIN

SN: 28001-UP

2шт.

49

112-43-46171

LEVER

SN: 28001-UP

1шт.

50

01010-51245

BOLT

SN: 28001-UP

1шт.

51

01602-21236

WASHER

SN: 28001-UP

1шт.

Выбрано товаров: 54