Запчасти Komatsu D31P-16 КОМПОНЕНТЫ (ОБСЛУЖИВ-Е) (/)(№-8) ОПЦИОННЫЕ КОМПОНЕНТЫ

Схема запчастей Komatsu D31P-16 - КОМПОНЕНТЫ (ОБСЛУЖИВ-Е) (/)(№-8) ОПЦИОННЫЕ КОМПОНЕНТЫ
FIT
1:1
100%

Артикул

Название

Примечание

Количество

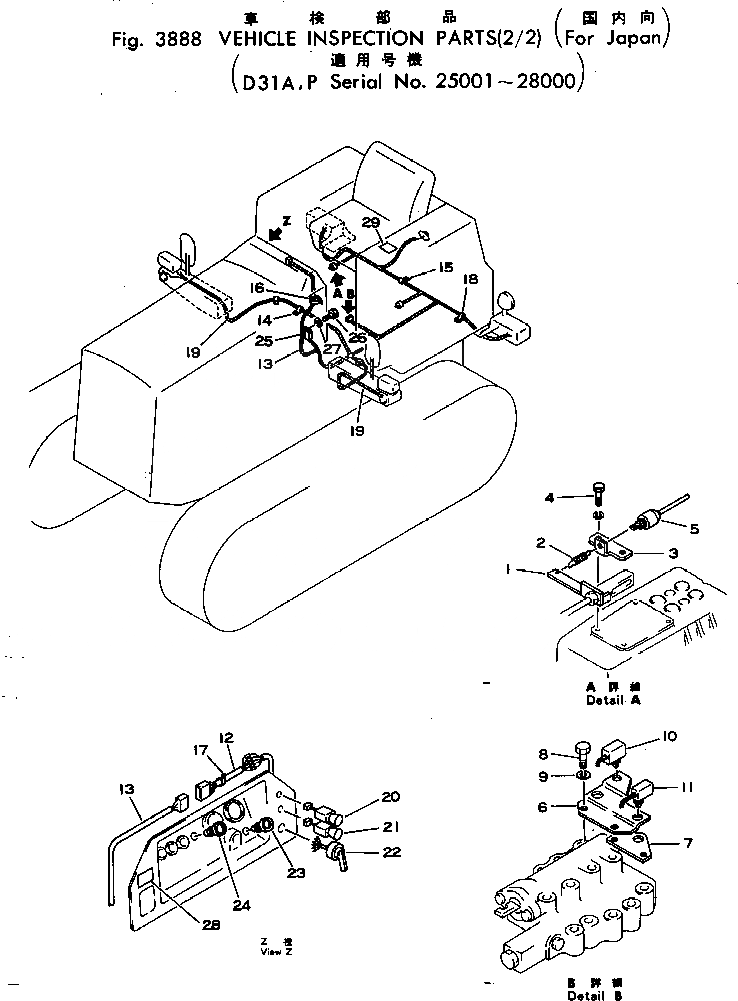
1

113-A60-1170

PLATE

SN: 25001-28000

2шт.

2

101-860-1150

SPRING

SN: 25001-@

2шт.

3

113-A60-1180

BRACKET

SN: 25001-28000

2шт.

4

01010-51030

BOLT

SN: 25001-28000

4шт.

5

08072-00000

SWITCH,STOP LAMP

SN: 25001-@

2шт.

6

113-06-24121

PLATE

SN: 25883-@

1шт.

|6

113-06-24120

PLATE

SN: 25001-25882

1шт.

7

113-43-23190

PLATE

SN: 25001-25882

1шт.

8

01010-30865

BOLT

SN: 25883-@

3шт.

|8

01010-50845

BOLT

SN: 25001-25882

3шт.

9

01602-20825

WASHER

SN: 25001-@

3шт.

10

113-06-23250

SWITCH,BACK-UP LAMP

SN: 25001-@

1шт.

11

113-06-23250

SWITCH,LIMIT

SN: 25001-28000

1шт.

12

113-A60-2110

WIRE ASS'Y

SN: 25001-@

1шт.

13

113-A60-2121

WIRE ASS'Y

SN: 25001-28000

1шт.

14

113-A60-2150

CLIP

SN: 25001-@

1шт.

15

08036-10814

CLIP

SN: 25001-@

1шт.

16

08034-00414

BAND

SN: 25001-@

11шт.

17

08036-11214

CLIP

SN: 25001-@

2шт.

18

08036-10814

CLIP

SN: 25001-28000

2шт.

19

114-A60-2110

WIRE ASS'Y

SN: 25001-@

2шт.

20

113-A60-1210

SWITCH,PARKING LAMP

SN: 25001-28000

1шт.

21

113-A60-1220

SWITCH,WORKING LAMP

SN: 25001-28000

1шт.

22

08075-80000

SWITCH,TURN SIGNAL

SN: 25001-@

1шт.

23

08147-32400

LAMP,INDICATOR

SN: 25001-@

1шт.

|23

08111-02430

BULB¤ 3W

SN: 25001-@

1шт.

24

08147-22400

LAMP,INDICATOR

SN: 25001-@

1шт.

|24

08111-02430

BULB¤ 3W

SN: 25001-@

1шт.

25

08077-22400

FLASHER,TURN SIGNAL

SN: 25001-@

1шт.

26

01010-50816

BOLT

SN: 25001-@

1шт.

27

01602-20825

WASHER,SPRING

SN: 25001-@

1шт.

28

09661-00081

PLATE¤ INSTRUCTION,TRACK SHOE

SN: 25001-@

1шт.

29

09679-02002

PLATE¤ OPERATING,HORN

SN: 25001-@

1шт.

Выбрано товаров: 33