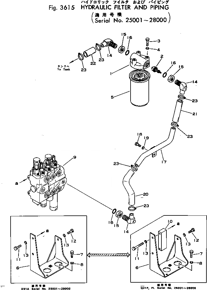
Запчасти Komatsu D31P-16 ГИДРАВЛ. ФИЛЬТР И ТРУБЫ(№-8) УПРАВЛ-Е РАБОЧИМ ОБОРУДОВАНИЕМ

Схема запчастей Komatsu D31P-16 - ГИДРАВЛ. ФИЛЬТР И ТРУБЫ(№-8) УПРАВЛ-Е РАБОЧИМ ОБОРУДОВАНИЕМ
FIT
1:1
100%

Артикул

Название

Примечание

Количество

1

113-60-23151

BASE

SN: 25003-@

1шт.

|1

113-60-23150

BASE

SN: 25001-25002

1шт.

2

113-60-23180

VALVE

SN: 25001-@

1шт.

3

01010-31025

BOLT

SN: 25001-@

3шт.

4

01602-01030

WASHER

SN: 25001-@

3шт.

5

113-60-23160

CARTRIDGE

SN: 25001-@

1шт.

6

113-60-22110

BRACKET

SN: 25001-28000

1шт.

7

01010-31025

BOLT

SN: 25001-28000

2шт.

8

01602-01030

WASHER

SN: 25001-28000

2шт.

9

700-82-12000

VALVE ASS'Y

SN: 25001-@

1шт.

10

113-60-22120

PLATE

SN: 25001-28000

1шт.

11

01010-31070

BOLT

SN: 25001-28000

2шт.

12

01010-31025

BOLT

SN: 25001-28000

3шт.

13

01602-01030

WASHER

SN: 25001-28000

5шт.

14

113-60-23110

ELBOW

SN: 25001-@

3шт.

15

113-60-23120

NUT

SN: 25001-@

3шт.

16

07002-03334

O-RING

SN: 25001-@

3шт.

17

113-60-23140

TUBE

SN: 25001-28000

1шт.

18

01010-31020

BOLT

SN: 25001-28000

1шт.

19

01602-01030

WASHER

SN: 25001-28000

1шт.

20

113-60-23191

HOSE

SN: 28001-@

1шт.

|20

0

HOSE

SN: 25001-28000

1шт.

|20

0

HOSE

SN: (25001-28000)

1шт.

21

113-60-23270

HOSE

SN: 28001-@

1шт.

|21

0

HOSE

SN: 25001-28000

1шт.

22

113-60-23260

HOSE

SN: 28001-@

1шт.

|22

0

HOSE

SN: 25001-28000

1шт.

23

07281-00489

CLAMP

SN: 25001-@

6шт.

|23

0

CLAMP

SN: 25001-@

6шт.

Выбрано товаров: 29