Запчасти Komatsu D31P-16 ТОПЛ. БАК И ТОПЛИВОПРОВОД(№8-) КОМПОНЕНТЫ ДВИГАТЕЛЯ И ЭЛЕКТРИКА

Схема запчастей Komatsu D31P-16 - ТОПЛ. БАК И ТОПЛИВОПРОВОД(№8-) КОМПОНЕНТЫ ДВИГАТЕЛЯ И ЭЛЕКТРИКА
FIT
1:1
100%

Артикул

Название

Примечание

Количество

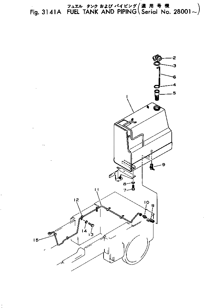
|1

113-04-00011

FUEL TANK ASS'Y

SN: 28001-UP

1шт.

1

0

TANK

SN: 28001-UP

1шт.

2

07050-20920

CAP ASS'Y

SN: 25001-UP

1шт.

3

07050-20922

GASKET

SN: 25001-UP

1шт.

4

07057-03266

RING

SN: 25001-UP

1шт.

5

07056-16415

STRAINER

SN: 25001-UP

1шт.

6

113-04-21121

GAUGE

SN: 28001-UP

1шт.

7

01010-31435

BOLT

SN: 28001-UP

4шт.

8

01602-01442

WASHER

SN: 28001-UP

4шт.

9

113-04-22120

VALVE

SN: 25001-UP

2шт.

10

07213-51013

CONNECTOR

SN: 25001-UP

1шт.

11

113-04-22112

TUBE

SN: 28001-UP

1шт.

12

113-04-22160

CLIP

SN: 25001-UP

4шт.

13

01010-31016

BOLT

SN: 25001-UP

2шт.

14

01602-01030

WASHER

SN: 25001-UP

2шт.

15

130-04-11270

CLIP

SN: 25001-UP

3шт.

Выбрано товаров: 16