Запчасти Komatsu D31P-16 ВЕРХН. ЗАЩИТА ОПЦИОННЫЕ КОМПОНЕНТЫ

Схема запчастей Komatsu D31P-16 - ВЕРХН. ЗАЩИТА ОПЦИОННЫЕ КОМПОНЕНТЫ
FIT
1:1
100%

Артикул

Название

Примечание

Количество

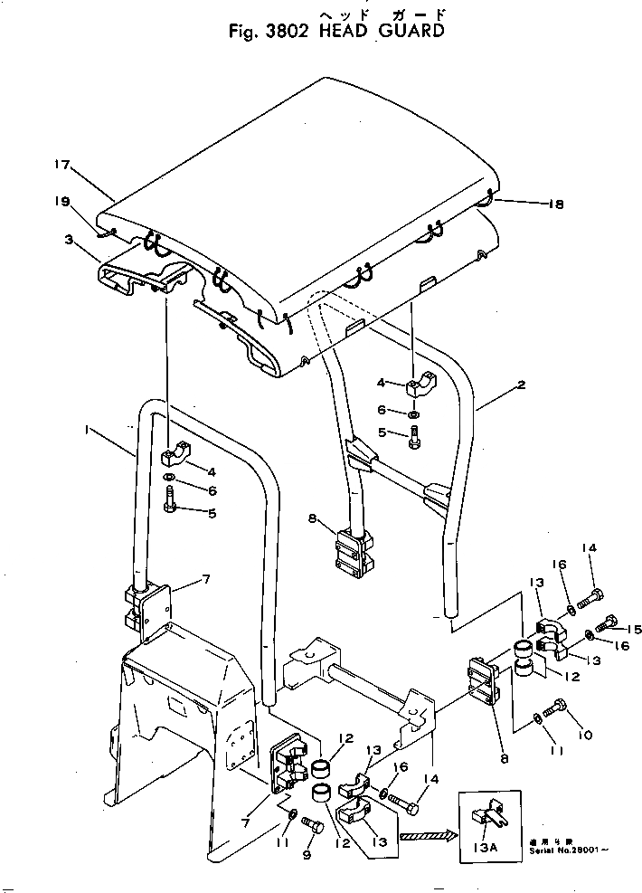
1

114-Z73-1110

POLE,FRONT

SN: 25001-UP

1шт.

2

113-Z73-3120

POLE,REAR

SN: 25001-UP

1шт.

|2

113-Z73-3210

POLE,REAR (WITH WINCH)

SN: 25001-UP

1шт.

3

113-Z73-1110

ROOF

SN: 25001-UP

1шт.

4

113-Z73-1120

CAP

SN: 25001-UP

4шт.

5

01010-31675

BOLT

SN: 25001-UP

8шт.

6

01643-31645

WASHER

SN: 25001-UP

8шт.

7

113-Z73-2110

BRACKET

SN: 25001-UP

2шт.

8

112-Z73-2120

BRACKET

SN: 25001-UP

2шт.

|8

113-Z73-2210

BRACKET,L.H. (WITH WINCH)

SN: 25001-UP

1шт.

|8

113-Z73-2220

BRACKET,R.H. (WITH WINCH)

SN: 25001-UP

1шт.

9

01010-31645

BOLT

SN: 25001-UP

8шт.

10

01010-31655

BOLT

SN: 25001-UP

4шт.

11

01643-31645

WASHER

SN: 25001-UP

12шт.

12

141-973-1250

CUSHION

SN: 25001-UP

8шт.

13

113-Z73-2130

CAP

SN: 28001-UP

6шт.

|13

113-Z73-2130

CAP

SN: 25001-28000

8шт.

13A

114-Z73-1120

CAP,L.H.

SN: 28001-UP

1шт.

|13A

114-Z73-1130

CAP,R.H.

SN: 28001-UP

1шт.

14

01010-31675

BOLT

SN: 25001-UP

12шт.

15

01011-31650

BOLT

SN: 25001-UP

4шт.

16

01643-31645

WASHER

SN: 25001-UP

16шт.

17

101-91-31140

SHEET

SN: 25001-UP

1шт.

18

131-906-1220

ROPE¤ 8.5M

SN: 25001-UP

1шт.

19

131-906-1230

ROPE¤ 0.7M

SN: 25001-UP

2шт.

Выбрано товаров: 25