Запчасти Komatsu D31P-16 РЫЧАГ УПРАВЛЕНИЯ ПОВОРОТОМ (/) ОПЦИОННЫЕ КОМПОНЕНТЫ

Схема запчастей Komatsu D31P-16 - РЫЧАГ УПРАВЛЕНИЯ ПОВОРОТОМ (/) ОПЦИОННЫЕ КОМПОНЕНТЫ
FIT
1:1
100%

Артикул

Название

Примечание

Количество

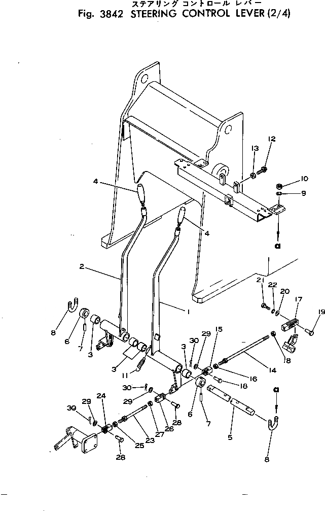
|1

113-43-00221

LEVER ASS'Y,L.H.

SN: 25001-UP

1шт.

|1

113-43-00150

LEVER ASS'Y,R.H.

SN: 25001-UP

1шт.

1

0

LEVER,L.H.

SN: 25001-UP

1шт.

2

0

LEVER,R.H.

SN: 25001-UP

1шт.

3

09350-03030

BUSHING

SN: 25001-UP

2шт.

4

09305-01400

KNOB

SN: 25001-UP

2шт.

5

113-43-27160

SHAFT

SN: 25001-UP

1шт.

6

113-43-27190

COLLAR

SN: 25001-UP

2шт.

7

04025-00650

PIN

SN: 25001-UP

2шт.

8

125-43-12150

U-BOLT

SN: 25001-UP

2шт.

9

01602-21442

WASHER

SN: 25001-UP

4шт.

10

01582-11411

NUT

SN: 25001-UP

4шт.

11

145-43-11540

SPRING

SN: 25001-UP

2шт.

12

113-43-27250

BUMPER

SN: 25001-UP

2шт.

13

01580-11210

NUT

SN: 25001-UP

2шт.

14

04248-31037

ROD

SN: 25001-UP

2шт.

15

04210-21040

YOKE,R.H. THREAD

SN: 25001-UP

2шт.

16

01582-11008

NUT,R.H. THREAD

SN: 25001-UP

2шт.

17

113-43-21280

YOKE,L.H. THREAD

SN: 25001-UP

2шт.

18

01508-21006

NUT¤ L.H. THREAD,L.H. THREAD

SN: 25001-UP

2шт.

19

113-43-21290

PIN

SN: 25001-UP

2шт.

20

01643-30623

WASHER

SN: 25001-UP

2шт.

21

01010-50612

BOLT

SN: 25001-UP

2шт.

22

01602-20619

WASHER

SN: 25001-UP

2шт.

23

04248-31020

ROD

SN: 25001-UP

2шт.

24

04210-21040

YOKE,R.H. THREAD

SN: 25001-UP

2шт.

25

01582-11008

NUT,R.H. THREAD

SN: 25001-UP

2шт.

26

04220-21040

YOKE,L.H. THREAD

SN: 25001-UP

2шт.

27

01508-21006

NUT¤ L.H. THREAD,L.H. THREAD

SN: 25001-UP

2шт.

28

04205-11030

PIN

SN: 25001-UP

6шт.

29

01641-21016

WASHER

SN: 25001-UP

6шт.

30

04050-13020

PIN

SN: 25001-UP

6шт.

Выбрано товаров: 32