Запчасти Komatsu D31P-16A ПАНЕЛЬ ПРИБОРОВ КОМПОНЕНТЫ ДВИГАТЕЛЯ И ЭЛЕКТРИКА

Схема запчастей Komatsu D31P-16A - ПАНЕЛЬ ПРИБОРОВ КОМПОНЕНТЫ ДВИГАТЕЛЯ И ЭЛЕКТРИКА
FIT
1:1
100%

Артикул

Название

Примечание

Количество

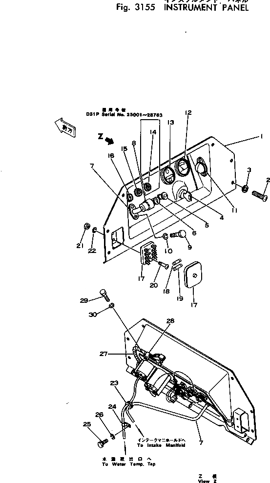
1

114-54-22121

DASHBOARD

SN: 28764-UP

1шт.

1

114-54-22120

DASHBOARD

SN: 25001-28763

1шт.

2

01220-40820

SCREW

SN: 28001-UP

6шт.

2

01224-40820

SCREW

SN: 25003-28000

6шт.

2

01225-40816

SCREW

SN: 25001-25002

6шт.

3

01641-20812

WASHER

SN: 28001-UP

6шт.

3

113-54-22140

WASHER

SN: 25001-28000

6шт.

4

08086-10000

SWITCH,STARTING

SN: .-UP

1шт.

4

0

SWITCH,STARTING

SN: 25001-.

1шт.

5

08061-60010

SWITCH,LAMP

SN: 28001-UP

1шт.

5

0

SWITCH,LAMP

SN: 25001-28000

1шт.

6

08061-40070

SWITCH,HEATER

SN: 28764-UP

1шт.

6

08061-30070

SWITCH,HEATER

SN: 28001-28763

1шт.

6

0

SWITCH,HEATER

SN: 25001-28000

1шт.

7

113-06-22160

HOSE

SN: 25003-UP

1шт.

7

08671-21120

HOSE

SN: 25001-25002

1шт.

8

08670-50001

INDICATOR,DUST

SN: 25001-UP

1шт.

9

01010-30616

BOLT

SN: 25001-UP

2шт.

10

01602-00619

WASHER,SPRING

SN: 25001-UP

2шт.

11

113-06-22120

LAMP,PANEL

SN: 25001-UP

1шт.

12

08655-01200

GAUGE,WATER TEMPERATURE

SN: 25001-UP

1шт.

13

08687-22400

METER,SERVICE

SN: .-UP

1шт.

13

0

METER,SERVICE

SN: 25001-.

1шт.

14

6130-82-4221

SIGNAL,HEATER

SN: 25001-28763

1шт.

15

125-06-22210

LAMP,PRESSURE

SN: 25001-UP

1шт.

16

125-06-22220

LAMP,CHARGE

SN: 25001-UP

1шт.

17

08043-04000

BOX

SN: 28001-UP

1шт.

17

0

BOX

SN: 25001-28000

1шт.

18

08040-02000

FUSE, 20A

SN: 25001-UP

2шт.

19

08040-01000

FUSE, 10A

SN: 25001-UP

2шт.

20

01220-40520

SCREW

SN: 25001-UP

2шт.

21

01580-00504

NUT

SN: 25001-UP

2шт.

22

01601-00513

WASHER

SN: 25001-UP

2шт.

23

113-06-22140

GROMMET

SN: 25001-UP

1шт.

24

113-06-22150

CLIP

SN: 25001-UP

1шт.

25

01010-31016

BOLT

SN: 25001-UP

1шт.

26

01602-01030

WASHER

SN: 25001-UP

1шт.

27

113-06-22211

WIRE ASS'Y

SN: 28764-UP

1шт.

27

113-06-22210

WIRE ASS'Y

SN: 25001-28763

1шт.

28

08036-01414

CLIP

SN: 25001-UP

1шт.

29

01010-31016

BOLT

SN: 25001-UP

1шт.

30

01602-01030

WASHER

SN: 25001-UP

1шт.

Выбрано товаров: 42