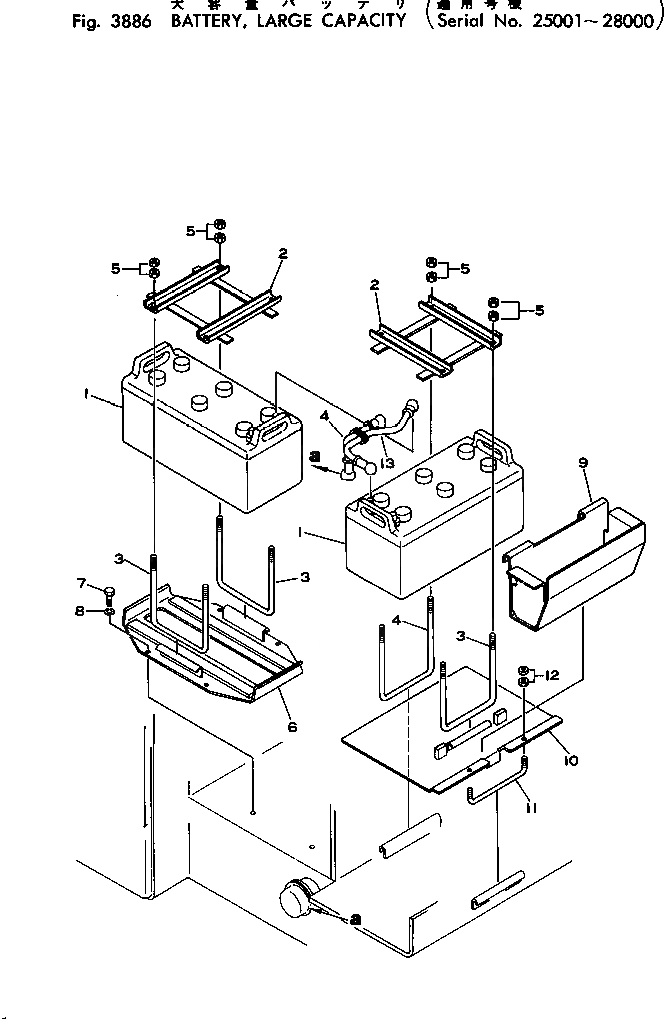
Запчасти Komatsu D31P-16A АККУМУЛЯТОР¤ ВЫСОК. ЕМК.(№-8) ОПЦИОННЫЕ КОМПОНЕНТЫ

Схема запчастей Komatsu D31P-16A - АККУМУЛЯТОР¤ ВЫСОК. ЕМК.(№-8) ОПЦИОННЫЕ КОМПОНЕНТЫ
FIT
1:1
100%

Артикул

Название

Примечание

Количество

1

08000-11215

BATTERY (145G51)

SN: 25001-@

2шт.

2

113-06-25120

HOLDER

SN: 25001-28000

2шт.

3

08006-15230

BOLT

SN: 25001-@

3шт.

4

113-06-21120

BOLT

SN: 25001-@

1шт.

5

01580-11008

NUT

SN: 25001-@

16шт.

6

113-06-25110

PLATE

SN: 25001-28000

1шт.

7

01010-51025

BOLT

SN: 25001-28000

4шт.

8

01602-21030

WASHER

SN: 25001-28000

4шт.

9

113-06-25150

BOX

SN: 25001-28000

1шт.

10

113-06-25130

PLATE

SN: 25001-28000

1шт.

11

130-06-51110

U-BOLT

SN: 25001-28000

1шт.

12

01580-11008

NUT

SN: 25001-28000

4шт.

13

113-06-21160

WIRE

SN: 25001-28000

1шт.

14

113-06-21170

WIRE ASS'Y

SN: 25001-28000

1шт.

Выбрано товаров: 14