Запчасти Komatsu D31P-16A ПОГРУЗ. РАМА И ПОЛ КАБИНЫ(№-8) ЧАСТИ КОРПУСА

Схема запчастей Komatsu D31P-16A - ПОГРУЗ. РАМА И ПОЛ КАБИНЫ(№-8) ЧАСТИ КОРПУСА
FIT
1:1
100%

Артикул

Название

Примечание

Количество

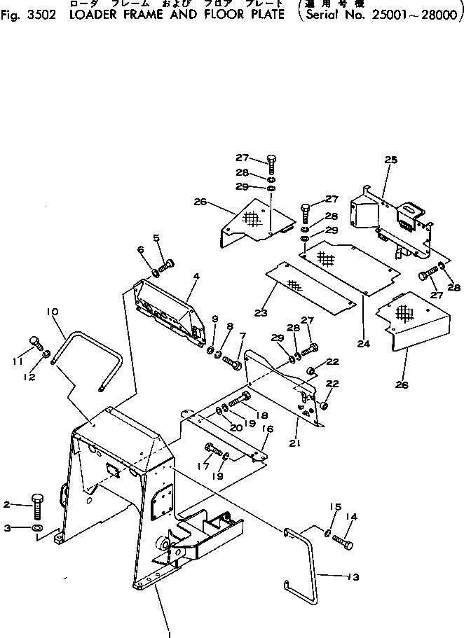
1

114-54-22111

FRAME

SN: 25003-28000

1шт.

1

114-54-22110

FRAME

SN: 25001-25002

1шт.

2

01018-32060

BOLT

SN: 25001-@

10шт.

3

01643-32060

WASHER

SN: 25001-@

10шт.

4

114-54-22120

DASHBOARD

SN: 25001-@

1шт.

5

01225-40816

SCREW

SN: 25001-25002

6шт.

5

01224-40820

SCREW

SN: 25003-28000

6шт.

6

113-54-22140

WASHER

SN: 25001-28000

6шт.

7

01010-31020

BOLT

SN: 25001-@

3шт.

8

01602-01030

WASHER

SN: 25001-@

3шт.

9

01643-31032

WASHER

SN: 25001-@

3шт.

10

114-54-22130

HANDLE

SN: 25001-@

1шт.

11

01010-31435

BOLT

SN: 25001-@

2шт.

12

01602-01442

WASHER

SN: 25001-@

2шт.

13

114-54-22140

HANDLE

SN: 25001-@

2шт.

14

01010-31025

BOLT

SN: 25001-@

4шт.

15

01602-01030

WASHER

SN: 25001-@

4шт.

16

113-54-23110

BRACKET

SN: 25001-28000

1шт.

17

01010-31020

BOLT

SN: 25001-@

2шт.

18

01010-31035

BOLT

SN: 25001-@

2шт.

19

01602-01030

WASHER

SN: 25001-@

4шт.

20

01643-31032

WASHER

SN: 25001-@

2шт.

|$22

113-54-00010

PLATE ASS'Y

SN: 25001-@

1шт.

21

0

PLATE

SN: 25001-@

1шт.

22

09350-02015

BUSHING

SN: 25001-@

2шт.

23

113-54-23131

FLOOR

SN: 28001-@

1шт.

23

0

FLOOR

SN: 25001-28000

1шт.

24

113-54-23121

FLOOR

SN: 28001-@

1шт.

24

0

FLOOR

SN: 25001-28000

1шт.

25

113-54-24131

COVER

SN: 25003-28000

1шт.

25

113-54-24130

COVER

SN: 25001-25002

1шт.

26

113-54-23141

FLOOR,L.H.

SN: 28001-@

1шт.

26

0

FLOOR,L.H.

SN: 25001-28000

1шт.

26

113-54-23151

FLOOR,R.H.

SN: 28001-@

1шт.

26

0

FLOOR,R.H.

SN: 25001-28000

1шт.

27

01010-31025

BOLT

SN: 25001-@

21шт.

28

01602-01030

WASHER

SN: 25001-@

21шт.

29

01643-31032

WASHER

SN: 25001-@

16шт.

Выбрано товаров: 38