Запчасти Komatsu D31P-16A ГИДРАВЛ. ФИЛЬТР И ТРУБЫ(№9-) УПРАВЛ-Е РАБОЧИМ ОБОРУДОВАНИЕМ

Схема запчастей Komatsu D31P-16A - ГИДРАВЛ. ФИЛЬТР И ТРУБЫ(№9-) УПРАВЛ-Е РАБОЧИМ ОБОРУДОВАНИЕМ
FIT
1:1
100%

Артикул

Название

Примечание

Количество

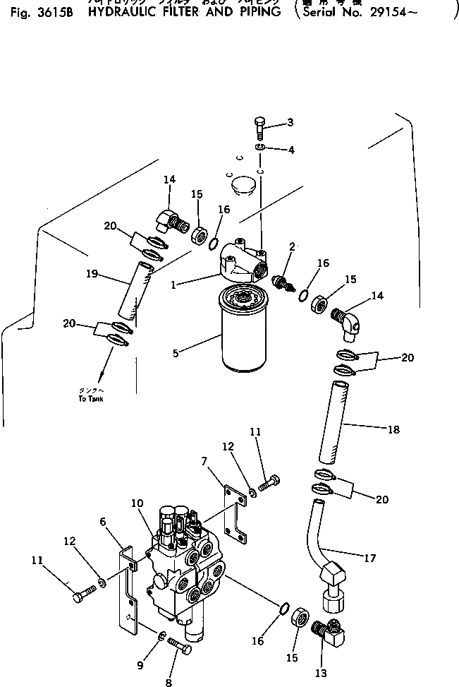
1

113-60-23151

BASE

SN: 25003-UP

1шт.

2

113-60-23180

VALVE

SN: 25001-UP

1шт.

3

01010-31025

BOLT

SN: 25001-UP

3шт.

4

01602-01030

WASHER

SN: 25001-UP

3шт.

5

113-60-23160

CARTRIDGE

SN: 25001-UP

1шт.

6

113-60-22130

PLATE

SN: 28001-UP

1шт.

7

113-60-22140

PLATE

SN: 28001-UP

1шт.

8

01010-31020

BOLT

SN: 28001-UP

3шт.

9

01602-01030

WASHER

SN: 28001-UP

3шт.

10

700-83-11001

VALVE ASS'Y

SN: .-UP

1шт.

10

0

VALVE ASS'Y

SN: 25001-.

1шт.

11

01010-31020

BOLT

SN: 28001-UP

4шт.

12

01602-01030

WASHER

SN: 28001-UP

4шт.

13

113-60-23210

ELBOW

SN: 29154-UP

1шт.

14

113-60-23110

ELBOW

SN: 25001-UP

2шт.

15

113-60-23120

NUT

SN: 25001-UP

3шт.

16

07002-03334

O-RING

SN: 25001-UP

3шт.

17

113-60-23220

TUBE

SN: 29154-UP

1шт.

18

201-62-21291

HOSE

SN: 29154-UP

1шт.

19

113-60-23280

HOSE

SN: 29154-UP

1шт.

20

07281-00489

CLAMP

SN: 29154-UP

8шт.

Выбрано товаров: 21