Запчасти Komatsu D31P-17 ПРУЖИНА ГУСЕНИЦЫ

Схема запчастей Komatsu D31P-17 - ПРУЖИНА ГУСЕНИЦЫ
FIT
1:1
100%

Артикул

Название

Примечание

Количество

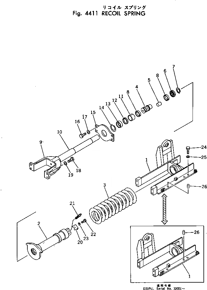
1

113-30-34110

BRACKET,L.H. (P,PL)

SN: 32001-UP

1шт.

1

113-30-34120

BRACKET,R.H. (P,PL)

SN: 32001-UP

1шт.

1

11G-B74-4230

BRACKET,L.H. (PLL)

SN: 32000-32000

1шт.

1

11G-B74-4240

BRACKET,R.H. (PLL)

SN: 32000-32000

1шт.

2

113-30-34130

CYLINDER,L.H.

SN: 32001-UP

1шт.

2

113-30-34140

CYLINDER,R.H.

SN: 32001-UP

1шт.

3

113-30-24130

SPRING

SN: 32001-UP

2шт.

4

113-30-24161

PISTON

SN: 32001-UP

2шт.

5

113-30-34170

BAR

SN: 32001-UP

2шт.

6

09370-00050

U-PACKING

SN: 32001-UP

2шт.

7

04064-03515

RING

SN: 32001-UP

2шт.

8

07155-00515

RING

SN: 32001-UP

4шт.

9

113-30-34150

YOKE ASS'Y,(P,PL)

SN: 32001-UP

2шт.

9

11G-B74-4210

YOKE ASS'Y,(PLL)

SN: 32000-32000

2шт.

10

113-30-34160

ROD,(P,PL)

SN: 32001-UP

1шт.

10

11G-B74-4220

ROD,(PLL)

SN: 32000-32000

1шт.

11

07177-05030

BUSHING

SN: 32001-UP

2шт.

12

113-30-24240

SEAL

SN: 32001-UP

2шт.

13

113-30-24250

SPACER

SN: 32001-UP

2шт.

14

04065-06220

RING

SN: 32001-UP

2шт.

15

113-30-34190

PLATE

SN: 32001-UP

2шт.

16

01010-31645

BOLT

SN: 32001-UP

8шт.

17

01643-31645

WASHER

SN: 32001-UP

8шт.

18

01010-31645

BOLT

SN: 32001-UP

8шт.

19

01643-31645

WASHER

SN: 32001-UP

8шт.

20

113-30-24140

PLATE

SN: 32001-UP

2шт.

21

07959-20001

VALVE

SN: 40001-UP

2шт.

21

0

VALVE

SN: 32001-40000

2шт.

22

01010-31020

BOLT

SN: 32001-UP

4шт.

23

01602-01030

WASHER

SN: 32001-UP

4шт.

24

01010-31640

BOLT

SN: 32001-UP

12шт.

25

01643-31645

WASHER

SN: 32001-UP

12шт.

26

04020-01638

PIN

SN: 32001-UP

4шт.

Выбрано товаров: 33