Запчасти Komatsu D31P-17 МАРКИРОВКА (АНГЛ.) ЧАСТИ КОРПУСА

Схема запчастей Komatsu D31P-17 - МАРКИРОВКА (АНГЛ.) ЧАСТИ КОРПУСА
FIT
1:1
100%

Артикул

Название

Примечание

Количество

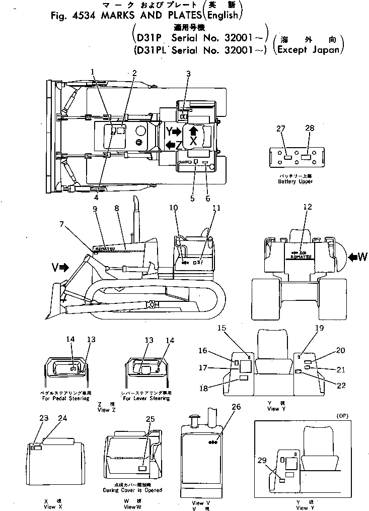
1

09650-30103

PLATE, INSTRUCTION,RADIATOR

SN: 32001-UP

1шт.

2

09637-30161

PLATE, INSTRUCTION,AIR CLEANER

SN: 32001-UP

1шт.

3

09670-00004

PLATE, OPERATING,BLADE CONTROL LEVER

SN: 32001-UP

1шт.

4

09668-03000

PLATE, SAFETY,RADIATOR CAP

SN: 32001-UP

1шт.

5

09653-03000

PLATE, SAFETY,HYDRAULIC TANK

SN: 32001-UP

1шт.

6

09652-30101

PLATE, CAUTION,FUEL TANK

SN: 32001-UP

1шт.

7

09667-03000

PLATE, SAFETY,ENGINE COVER

SN: 32001-UP

1шт.

8

113-98-21220

PLATE, STRIPE

SN: 32001-UP

2шт.

9

09690-00450

PLATE, MARK,KOMATSU

SN: 32001-UP

2шт.

10

09694-00140

PLATE, MARK

SN: 32001-UP

2шт.

11

11G-98-21121

PLATE, MARK,D31P

SN: 32001-UP

2шт.

11

11G-98-21171

PLATE, MARK,D31PL

SN: 32000-32000

2шт.

12

09692-02314

PLATE, MARK,D31P

SN: 32001-UP

1шт.

12

09692-46318

PLATE, MARK,D31PL

SN: 32000-32000

1шт.

13

09651-03000

PLATE, SAFETY,BEFORE OPERATING

SN: 32001-UP

1шт.

14

09683-30060

PLATE, OPERATING,STARTING SWITCH

SN: 32001-UP

1шт.

15

09685-00002

PLATE, OPERATING,LOCK LEVER

SN: 32001-UP

1шт.

16

09173-03000

PLATE, SAFETY,INSPECTION AND MAINTENANCE

SN: 32001-UP

1шт.

17

11G-98-31320

CHART, OIL

SN: 32001-UP

1шт.

18

09657-03010

PLATE, SAFETY,TRACK SHOE ADJUSTING

SN: 32001-UP

1шт.

19

09685-00002

PLATE, OPERATING,TRANSMISSION CONTROL LEVER

SN: 32001-UP

1шт.

20

09649-03001

PLATE, INSTRUCTION,ENGINE STOP

SN: 32001-UP

1шт.

21

113-98-21370

PLATE, OPERATING,HEATER SWITCH

SN: 32001-UP

1шт.

22

09601-00835

PLATE, NAME,(LIMITED SUPPLY)

SN: 32001-UP

1шт.

22

04418-13060

SCREW

SN: 32001-UP

4шт.

23

09685-00001

PLATE, OPERATING,PARKING BRAKE LEVER

SN: 32001-UP

1шт.

24

09654-03000

PLATE, SAFETY,STARTING AND AFTER OPERATING

SN: 32001-UP

1шт.

25

103-98-21350

PLATE, CAUTION,OIL FILTER

SN: 32001-UP

1шт.

26

10E-54-23110

PLATE, MARK

SN: 32001-UP

1шт.

27

09664-30065

PLATE, SAFETY,BATTERY (USA, PUERTO RICO SPEC

SN: 32001-UP

2шт.

28

09664-30081

PLATE, SAFETY,BATTERY (USA, PUERTO RICO SPEC

SN: 32001-UP

2шт.

29

09656-30080

PLATE, INSTRUCTION,ADDITIONAL FUEL STRAINER

SN: 32001-UP

1шт.

Выбрано товаров: 32