Запчасти Komatsu D31P-17 МАРКИРОВКА (ПОРТУГАЛ.) ЧАСТИ КОРПУСА

Схема запчастей Komatsu D31P-17 - МАРКИРОВКА (ПОРТУГАЛ.) ЧАСТИ КОРПУСА
FIT
1:1
100%

Артикул

Название

Примечание

Количество

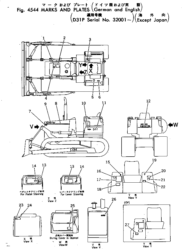
1

09650-21103

PLATE, INSTRUCTION,RADIATOR

SN: 32001-UP

1шт.

2

09637-81161

PLATE, INSTRUCTION,AIR CLEANER

SN: 32001-UP

1шт.

3

09670-00004

PLATE, OPERATING,BLADE CONTROL LEVER

SN: 32001-UP

1шт.

4

09668-02000

PLATE, SAFETY,RADIATOR CAP

SN: 32001-UP

1шт.

5

09653-02000

PLATE, SAFETY,HYDRAULIC TANK

SN: 32001-UP

1шт.

6

09652-21101

PLATE, CAUTION,FUEL TANK

SN: 32001-UP

1шт.

7

09667-02000

PLATE, SAFETY,ENGINE COVER

SN: 32001-UP

1шт.

8

113-98-21220

PLATE, STRIPE

SN: 32001-UP

2шт.

9

09690-00450

PLATE, MARK,KOMATSU

SN: 32001-UP

2шт.

10

09694-00140

PLATE, MARK

SN: 32001-UP

2шт.

11

11G-98-21121

PLATE, MARK,D31P

SN: 32001-UP

2шт.

12

09692-02314

PLATE, MARK,D31P

SN: 32001-UP

1шт.

13

09651-02000

PLATE, SAFETY,BEFORE OPERATING

SN: 32001-UP

1шт.

14

09683-21060

PLATE, OPERATING,STARTING SWITCH

SN: 32001-UP

1шт.

15

09685-00002

PLATE, OPERATING,LOCK LEVER

SN: 32001-UP

1шт.

16

09173-02000

PLATE, SAFETY,INSPECTION AND MAINTENANCE

SN: 32001-UP

1шт.

17

11G-98-31520

CHART, OIL

SN: 32001-UP

1шт.

18

09657-02011

PLATE, SAFETY,TRACK SHOE ADJUSTING

SN: 32001-UP

1шт.

19

09685-00002

PLATE, OPERATING,LOCK LEVER

SN: 32001-UP

1шт.

20

09649-02001

PLATE, INSTRUCTION,ENGINE STOP

SN: 32001-UP

1шт.

21

113-98-21572

PLATE, OPERATING,HEATER SWITCH

SN: 32001-UP

1шт.

22

09601-20835

PLATE, NAME,(LIMITED SUPPLY)

SN: 32001-UP

1шт.

22

04418-13060

SCREW

SN: 32001-UP

4шт.

23

09685-00001

PLATE, OPERATING,PARKING BRAKE LEVER

SN: 32001-UP

1шт.

24

09654-02000

PLATE, SAFETY,BEFORE AND AFTER OPERATION

SN: 32001-UP

1шт.

25

103-98-21550

PLATE, CAUTION,OIL FILTER

SN: 32001-UP

1шт.

26

10E-54-23110

PLATE, MARK

SN: 32001-UP

1шт.

27

09656-21080

PLATE, INSTRUCTION,ADDITIONAL FUEL STRAINER

SN: 32001-UP

1шт.

Выбрано товаров: 28