Запчасти Komatsu D31P-17A ANGLE НАКЛОН. ОТВАЛ РАБОЧЕЕ ОБОРУДОВАНИЕ

Схема запчастей Komatsu D31P-17A - ANGLE НАКЛОН. ОТВАЛ РАБОЧЕЕ ОБОРУДОВАНИЕ
FIT
1:1
100%

Артикул

Название

Примечание

Количество

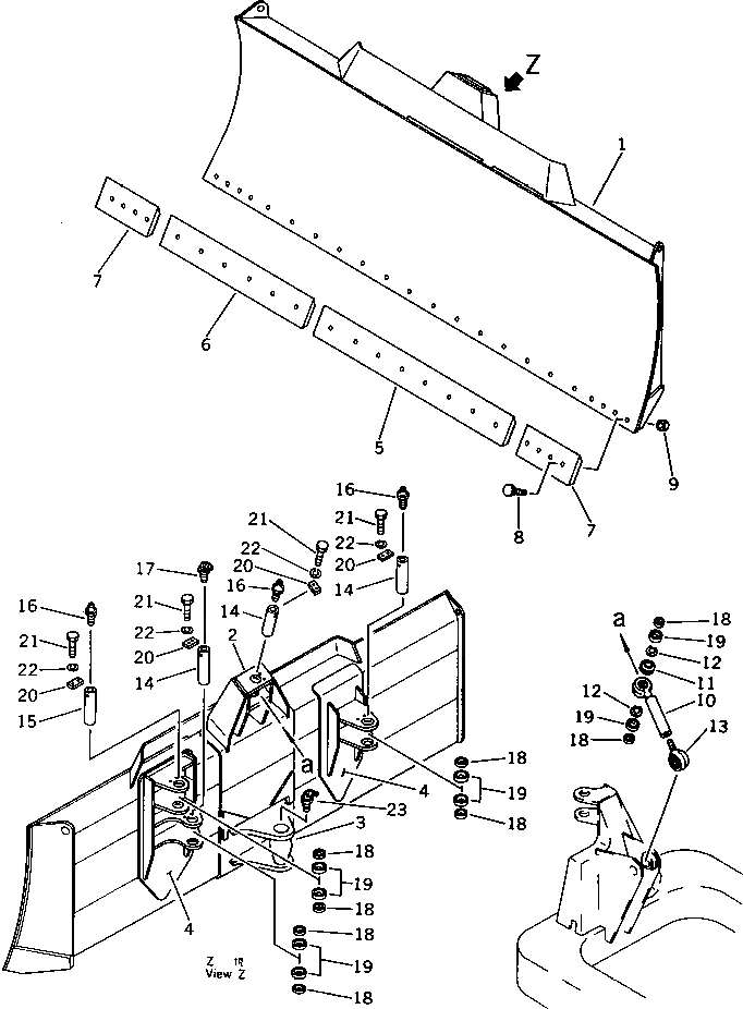
1

11G-72-31100

BLADE

SN: 32001-UP

1шт.

2

114-72-31140

BRACKET

SN: 32001-UP

1шт.

3

11G-Z46-1220

BRACKET

SN: 32001-UP

1шт.

4

114-72-31120

BRACKET,L.H.

SN: 32001-UP

1шт.

4

114-72-31130

BRACKET,R.H.

SN: 32001-UP

1шт.

5

12F-70-31281

EDGE,CUTTING, L.H.

SN: 32001-UP

1шт.

6

12F-70-31261

EDGE,CUTTING, R.H.

SN: 32001-UP

1шт.

7

112-946-1510

BIT,END

SN: 32001-UP

2шт.

8

02090-11050

BOLT

SN: 32001-UP

22шт.

9

02290-11016

NUT

SN: 32001-UP

22шт.

10

114-72-23310

BRACE

SN: 32001-UP

1шт.

11

114-72-21930

BEARING

SN: 32001-UP

1шт.

12

04065-06220

RING

SN: 32001-UP

2шт.

13

114-72-23340

SCREW

SN: 32001-UP

1шт.

14

114-72-23420

PIN

SN: 32001-UP

3шт.

15

114-72-31150

PIN

SN: 32001-UP

1шт.

16

07020-00000

FITTING

SN: 32001-UP

3шт.

17

07020-00900

FITTING

SN: 32001-UP

1шт.

18

114-72-21950

COLLAR

SN: 32001-UP

8шт.

19

114-72-23450

BUSHING

SN: 32001-UP

8шт.

20

04082-00212

LOCK

SN: 32001-UP

4шт.

21

01010-51225

BOLT

SN: 32001-UP

8шт.

22

01602-21236

WASHER

SN: 32001-UP

8шт.

23

07020-00675

FITTING

SN: 33848-UP

1шт.

Выбрано товаров: 24