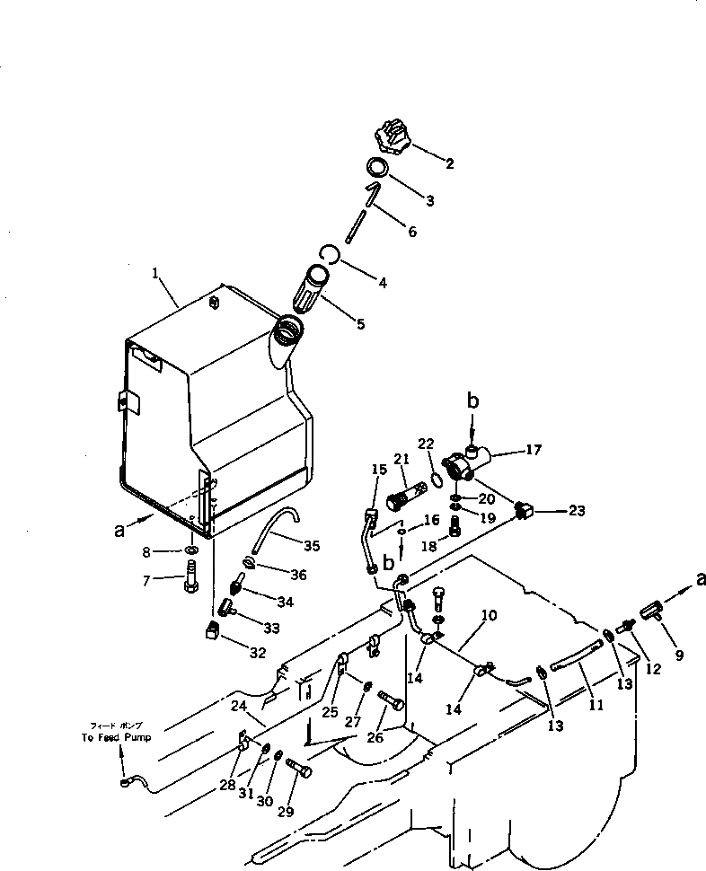
Запчасти Komatsu D31P-17A ТОПЛ. БАК И ТОПЛИВОПРОВОД (С ДОПОЛН. ТОПЛИВН. ФИЛЬТР) КОМПОНЕНТЫ ДВИГАТЕЛЯ И ЭЛЕКТРИКА

Схема запчастей Komatsu D31P-17A - ТОПЛ. БАК И ТОПЛИВОПРОВОД (С ДОПОЛН. ТОПЛИВН. ФИЛЬТР) КОМПОНЕНТЫ ДВИГАТЕЛЯ И ЭЛЕКТРИКА
FIT
1:1
100%

Артикул

Название

Примечание

Количество

|1

113-04-00100

FUEL TANK ASS'Y

SN: 32001-UP

1шт.

1

0

TANK

SN: 32001-UP

1шт.

|1

113-04-39110

TANK,(FOR 3-POINT HITCH)

SN: 32001-UP

1шт.

2

07050-20920

CAP ASS'Y

SN: 32001-UP

1шт.

3

07050-20922

GASKET

SN: 32001-UP

1шт.

4

07057-03266

RING

SN: 32001-UP

1шт.

5

07056-16415

STRAINER

SN: 32001-UP

1шт.

6

113-04-31120

GAUGE

SN: 32001-UP

1шт.

7

01010-51435

BOLT

SN: 32001-UP

4шт.

8

01602-21442

WASHER

SN: 32001-UP

4шт.

9

07700-40240

VALVE

SN: 32001-UP

1шт.

10

113-04-32220

TUBE

SN: 32001-UP

1шт.

11

07260-20922

HOSE

SN: 32001-UP

1шт.

12

113-04-32130

NIPPLE

SN: 32001-UP

1шт.

13

07281-00197

CLAMP

SN: 32001-UP

2шт.

14

113-04-22160

CLIP

SN: 32001-UP

2шт.

15

113-04-32230

TUBE

SN: 32001-UP

1шт.

16

07000-02015

O-RING

SN: 32001-UP

1шт.

17

141-04-33120

CASE

SN: 32001-UP

1шт.

18

01010-51025

BOLT

SN: 32001-UP

2шт.

19

01602-21030

WASHER

SN: 32001-UP

2шт.

20

01643-31032

WASHER

SN: 32001-UP

2шт.

21

154-04-12531

STRAINER

SN: 32001-UP

1шт.

22

07000-03038

O-RING

SN: 32001-UP

1шт.

23

103-04-22240

NIPPLE

SN: 32001-UP

1шт.

24

113-04-32210

TUBE

SN: 32001-UP

1шт.

25

113-04-22160

CLIP

SN: 32001-UP

2шт.

26

01010-51025

BOLT

SN: 32001-UP

2шт.

27

01602-21030

WASHER

SN: 32001-UP

2шт.

28

113-04-22160

CLIP

SN: 32001-UP

1шт.

29

01010-51025

BOLT

SN: 32001-UP

1шт.

30

01602-21030

WASHER

SN: 32001-UP

1шт.

31

01643-31032

WASHER

SN: 32001-UP

1шт.

32

113-04-32120

ELBOW

SN: 32001-UP

1шт.

33

07700-40240

VALVE

SN: 32001-UP

1шт.

34

113-04-22150

NIPPLE

SN: 32001-UP

1шт.

35

07270-01250

TUBE

SN: 32001-UP

1шт.

36

07280-01920

CLAMP

SN: 32001-UP

1шт.

Выбрано товаров: 38