Запчасти Komatsu D31P-17A ГИДРАВЛ РЫЧАГ УПРАВЛ-Я (/) (ДЛЯ ANGLE НАКЛОН. ОТВАЛ) УПРАВЛ-Е РАБОЧИМ ОБОРУДОВАНИЕМ

Схема запчастей Komatsu D31P-17A - ГИДРАВЛ РЫЧАГ УПРАВЛ-Я (/) (ДЛЯ ANGLE НАКЛОН. ОТВАЛ) УПРАВЛ-Е РАБОЧИМ ОБОРУДОВАНИЕМ
FIT
1:1
100%

Артикул

Название

Примечание

Количество

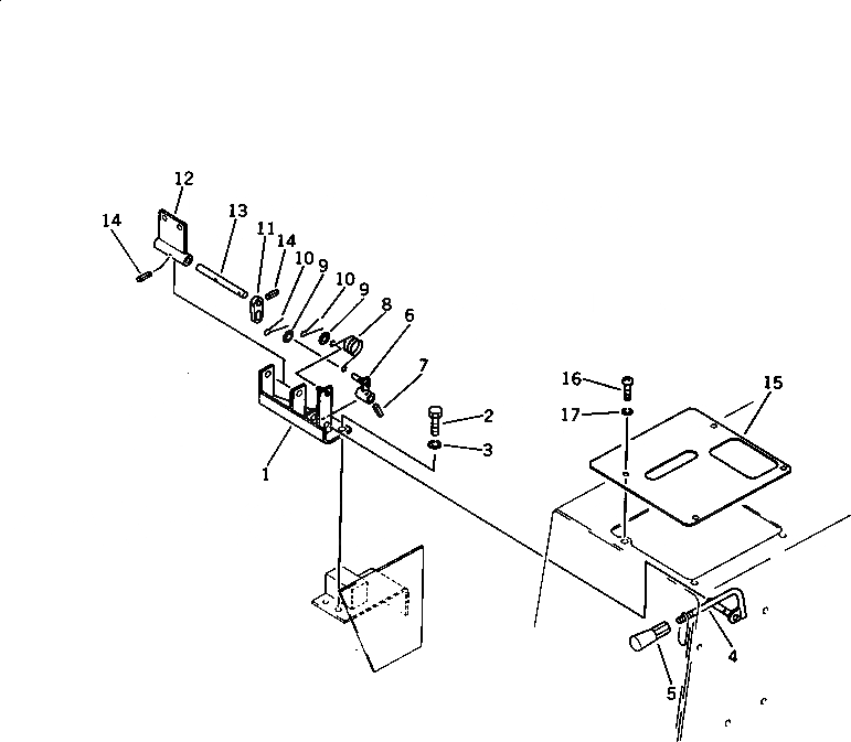
1

113-43-36411

BRACKET

SN: 32001-UP

1шт.

2

01010-50820

BOLT

SN: 32001-UP

2шт.

3

01602-20825

WASHER,SPRING

SN: 32001-UP

2шт.

4

113-43-36421

LEVER

SN: 32001-UP

1шт.

5

09305-00800

KNOB

SN: 32001-UP

1шт.

6

113-43-36430

LEVER

SN: 32001-UP

1шт.

7

04025-00320

PIN

SN: 32001-UP

1шт.

8

09463-00006

SPRING

SN: 32001-UP

1шт.

9

01641-20608

WASHER

SN: 32001-UP

2шт.

10

04050-11610

PIN,COTTER

SN: 32001-UP

2шт.

11

113-43-36440

LEVER

SN: 32001-UP

1шт.

12

113-43-36451

LOCK

SN: 32001-UP

1шт.

13

113-43-36461

PIN

SN: 32001-UP

1шт.

14

04025-00324

PIN

SN: 32001-UP

2шт.

15

113-43-36251

COVER

SN: 32001-UP

1шт.

16

01220-40820

SCREW

SN: 32001-UP

4шт.

17

01602-20825

WASHER,SPRING

SN: 32001-UP

4шт.

Выбрано товаров: 0