Запчасти Komatsu D31P-17A РАМА (ДЛЯ ANGLE НАКЛОН. ОТВАЛ) РАБОЧЕЕ ОБОРУДОВАНИЕ

Схема запчастей Komatsu D31P-17A - РАМА (ДЛЯ ANGLE НАКЛОН. ОТВАЛ) РАБОЧЕЕ ОБОРУДОВАНИЕ
FIT
1:1
100%

Артикул

Название

Примечание

Количество

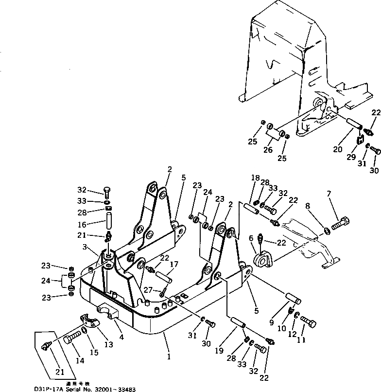
1

11G-72-31200

FRAME

SN: 32001-UP

1шт.

2

114-72-31230

BRACKET,L.H.

SN: 32001-UP

1шт.

|2

114-72-31240

BRACKET,R.H.

SN: 32001-UP

1шт.

3

11G-72-31220

BRACKET

SN: 32001-UP

1шт.

4

0

BEARING,(WELDED) (KIT)

SN: 32001-UP

1шт.

5

114-72-31250

BRACKET

SN: 32001-UP

2шт.

6

114-72-31260

BRACKET

SN: 32001-UP

2шт.

7

01010-32470

BOLT

SN: 32001-UP

6шт.

8

01643-32460

WASHER

SN: 32001-UP

6шт.

9

114-72-21820

PIN

SN: 32001-UP

2шт.

10

114-72-21980

LOCK

SN: 32001-UP

2шт.

11

01010-31435

BOLT

SN: 32001-UP

2шт.

12

01602-01442

WASHER

SN: 32001-UP

2шт.

13

114-72-31270

CAP (KIT)

SN: 33484-UP

1шт.

|13

114-72-31281

SHIM¤ 0.5MM (KIT)

SN: 33484-UP

4шт.

|13

114-72-31290

SHIM¤ 1.0MM (KIT)

SN: 33484-UP

4шт.

|13

124-Z46-1360

CAP

SN: 32001-33483

1шт.

14

01010-32490

BOLT (KIT)

SN: 32001-UP

2шт.

15

01643-32460

WASHER (KIT)

SN: 32001-UP

2шт.

16

114-72-31150

PIN

SN: 32001-UP

1шт.

17

114-72-23440

PIN

SN: 32001-UP

1шт.

18

114-72-23430

PIN

SN: 32001-UP

2шт.

19

114-72-23460

PIN

SN: 32001-UP

2шт.

20

114-72-21851

PIN

SN: 32001-UP

2шт.

21

07020-00900

FITTING

SN: 33484-UP

1шт.

|21

07020-00900

FITTING

SN: 32001-33483

2шт.

22

07020-00000

FITTING

SN: 32001-UP

9шт.

23

114-72-21950

COLLAR

SN: 32001-UP

10шт.

24

114-72-23450

BUSHING

SN: 32001-UP

10шт.

25

114-72-21940

COLLAR

SN: 32001-UP

4шт.

26

114-72-21960

BUSHING

SN: 32001-UP

4шт.

27

114-72-21970

PIN

SN: 32001-UP

1шт.

28

04082-00212

LOCK

SN: 32001-UP

5шт.

29

114-72-21860

LOCK

SN: 32001-UP

2шт.

30

01010-31025

BOLT

SN: 32001-UP

3шт.

31

01602-01030

WASHER

SN: 32001-UP

3шт.

32

01010-31225

BOLT

SN: 32001-UP

10шт.

33

01602-01236

WASHER

SN: 32001-UP

10шт.

|$$39

SERVICE KIT

-1шт.

|4

114-72-00060

PIVOT ASS'Y

SN: 33484-UP

1шт.

4

0

BEARING

SN: 33484-UP

1шт.

13

114-72-31270

CAP

SN: 33484-UP

1шт.

|13

114-72-31281

SHIM¤ 0.5MM

SN: 33484-UP

4шт.

|13

114-72-31290

SHIM¤ 1.0MM

SN: 32001-UP

4шт.

14

01010-52490

BOLT

SN: 32001-UP

2шт.

15

01643-32460

WASHER

SN: 32001-UP

2шт.

Выбрано товаров: 0