Запчасти Komatsu D31P-17A КОМПОНЕНТЫ (ОБСЛУЖИВ-Е) (/) (ДЛЯ ЯПОН.) МАРКИРОВКА¤ ИНСТРУМЕНТ И РЕМКОМПЛЕКТЫ

Схема запчастей Komatsu D31P-17A - КОМПОНЕНТЫ (ОБСЛУЖИВ-Е) (/) (ДЛЯ ЯПОН.) МАРКИРОВКА¤ ИНСТРУМЕНТ И РЕМКОМПЛЕКТЫ
FIT
1:1
100%

Артикул

Название

Примечание

Количество

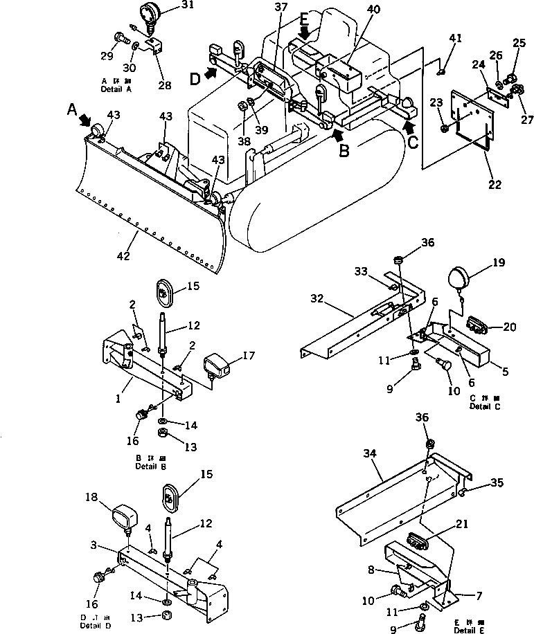
1

11G-B60-3110

BRACKET,L.H.

SN: 32001-UP

1шт.

2

08036-40810

CLIP (WELDED)

SN: 32001-UP

3шт.

3

11G-B60-3120

BRACKET,R.H.

SN: 32001-UP

1шт.

4

08036-40810

CLIP (WELDED)

SN: 32001-UP

3шт.

5

11G-B60-3130

BRACKET,L.H.

SN: 32001-UP

1шт.

6

08036-40810

CLIP (WELDED)

SN: 32001-UP

2шт.

7

11G-B60-3140

BRACKET,R.H.

SN: 32001-UP

1шт.

8

08036-40810

CLIP (WELDED)

SN: 32001-UP

2шт.

9

01010-31020

BOLT

SN: 32001-UP

4шт.

10

01010-31030

BOLT

SN: 32001-UP

2шт.

11

01602-01030

WASHER

SN: 32001-UP

4шт.

12

113-A60-1160

STAY

SN: 32001-UP

2шт.

13

01580-11613

NUT

SN: 32001-UP

2шт.

14

01643-31345

WASHER

SN: 32001-UP

2шт.

15

08174-12111

MIRROR,REAR VIEW

SN: 32001-UP

2шт.

16

08139-02400

LAMP,PARKING FRONT

SN: 32001-UP

2шт.

|16

08102-02403

BULB¤ 3W

SN: 32001-UP

1шт.

17

08130-62400

LAMP ASS'Y,COMBINATION FRONT¤ L.H.

SN: 32001-UP

1шт.

|17

08105-12420

BULB¤ 25W

SN: 32001-UP

1шт.

|17

08110-12410

BULB¤ 12W

SN: 32001-UP

1шт.

18

08130-82400

LAMP ASS'Y,COMBINATION FRONT¤ R.H.

SN: 32001-UP

1шт.

|18

08105-12420

BULB¤ 25W

SN: 32001-UP

1шт.

|18

08110-12410

BULB¤ 12W

SN: 32001-UP

1шт.

19

08138-02400

LAMP ASS'Y,BACK-UP

SN: 32001-UP

1шт.

|19

08105-02420

BULB¤ 25W

SN: 32001-UP

1шт.

20

08133-02400

LAMP ASS'Y,COMBINATION REAR¤ L.H.

SN: 32001-UP

1шт.

|20

08105-12420

BULB¤ 25W

SN: 32001-UP

1шт.

|20

08104-12420

BULB¤ 25/10W

SN: 32001-UP

1шт.

|20

08102-02403

BULB¤ 3W

SN: 32001-UP

1шт.

21

08133-12400

LAMP ASS'Y,COMBINATION REAR¤ R.H.

SN: 32001-UP

1шт.

|21

08105-12420

BULB¤ 25W

SN: 32001-UP

1шт.

|21

08104-12420

BULB¤ 25/10W

SN: 32001-UP

1шт.

|21

08102-02403

BULB¤ 3W

SN: 32001-UP

1шт.

22

113-54-29142

COVER

SN: 32001-UP

1шт.

23

08037-01008

GROMMET

SN: 32001-UP

1шт.

24

113-A60-1150

PLATE

SN: 32001-UP

1шт.

25

01010-31020

BOLT

SN: 32001-UP

1шт.

26

01602-01030

WASHER

SN: 32001-UP

1шт.

27

08137-32400

LAMP ASS'Y

SN: 32001-UP

1шт.

|27

08110-12410

BULB¤ 12W

SN: 32001-UP

1шт.

28

130-A60-1170

BRACKET

SN: 32001-UP

2шт.

29

01010-31020

BOLT

SN: 32001-UP

4шт.

30

01602-01030

WASHER

SN: 32001-UP

4шт.

31

130-860-4510

LAMP

SN: 32001-UP

1шт.

|31

08102-02403

BULB¤ 3W

SN: 32001-UP

2шт.

32

113-54-39150

COVER,L.H.

SN: 32001-UP

1шт.

33

08036-40810

CLIP (WELDED)

SN: 32001-UP

1шт.

34

113-54-39160

COVER,R.H.

SN: 32001-UP

1шт.

35

08036-40810

CLIP (WELDED)

SN: 32001-UP

1шт.

36

08037-01610

GROMMET

SN: 32001-UP

1шт.

37

113-06-39120

DASHBOARD

SN: 32001-UP

1шт.

38

01580-10605

NUT

SN: 32001-UP

1шт.

39

01602-00619

WASHER

SN: 32001-UP

1шт.

40

113-57-39110

BOX

SN: 32001-UP

1шт.

41

08036-41210

CLIP (WELDED)

SN: 32001-UP

4шт.

42

11G-72-39110

BLADE ASS'Y

SN: 32001-UP

1шт.

43

083036-40614

CLIP (WELDED)

SN: 32001-UP

11шт.

Выбрано товаров: 57