Запчасти Komatsu D31P-17A СИГНАЛ. ЗАДНЕГО ХОДА (ABLE - AVAIL) КОМПОНЕНТЫ ДВИГАТЕЛЯ И ЭЛЕКТРИКА

Схема запчастей Komatsu D31P-17A - СИГНАЛ. ЗАДНЕГО ХОДА (ABLE - AVAIL) КОМПОНЕНТЫ ДВИГАТЕЛЯ И ЭЛЕКТРИКА
FIT
1:1
100%

Артикул

Название

Примечание

Количество

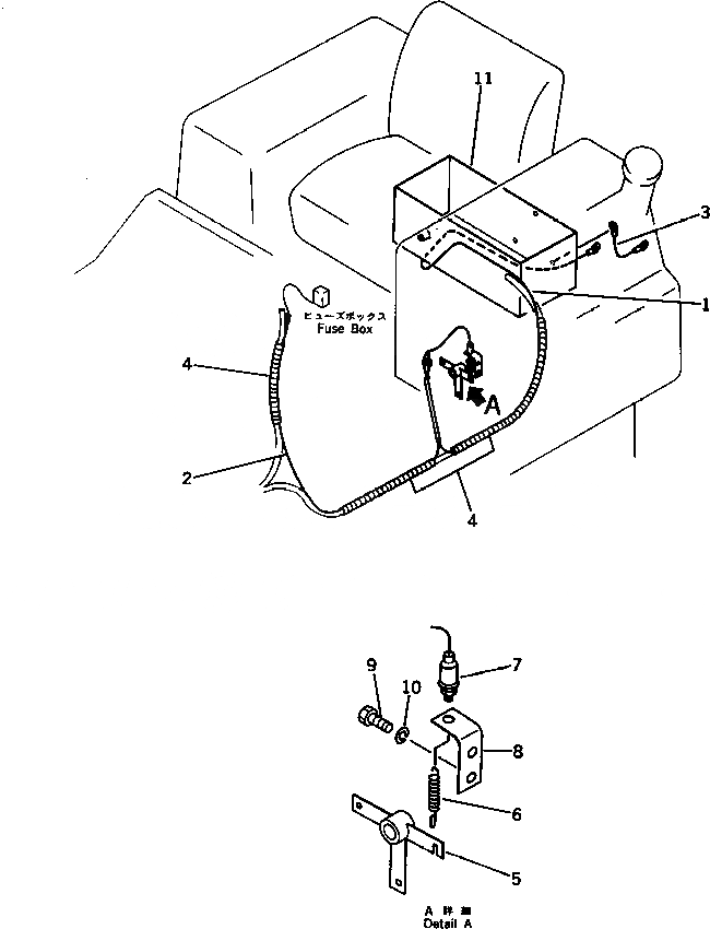
1

113-06-33120

WIRE ASS'Y

SN: 32001-UP

1шт.

2

113-06-33130

WIRE

SN: 32001-UP

1шт.

3

144-06-24630

WIRE

SN: 32001-UP

1шт.

4

08024-01910

TAPE

SN: 32001-UP

1шт.

5

103-43-29120

LEVER

SN: 32001-UP

1шт.

6

101-860-1150

SPRING

SN: 32001-UP

1шт.

7

08072-00000

SWITCH

SN: 32001-UP

1шт.

8

113-B60-1180

PLATE

SN: 32001-UP

1шт.

9

01010-51020

BOLT

SN: 32001-UP

2шт.

10

01602-21030

WASHER

SN: 32001-UP

2шт.

11

113-57-39110

BOX

SN: 32001-UP

1шт.

Выбрано товаров: 11