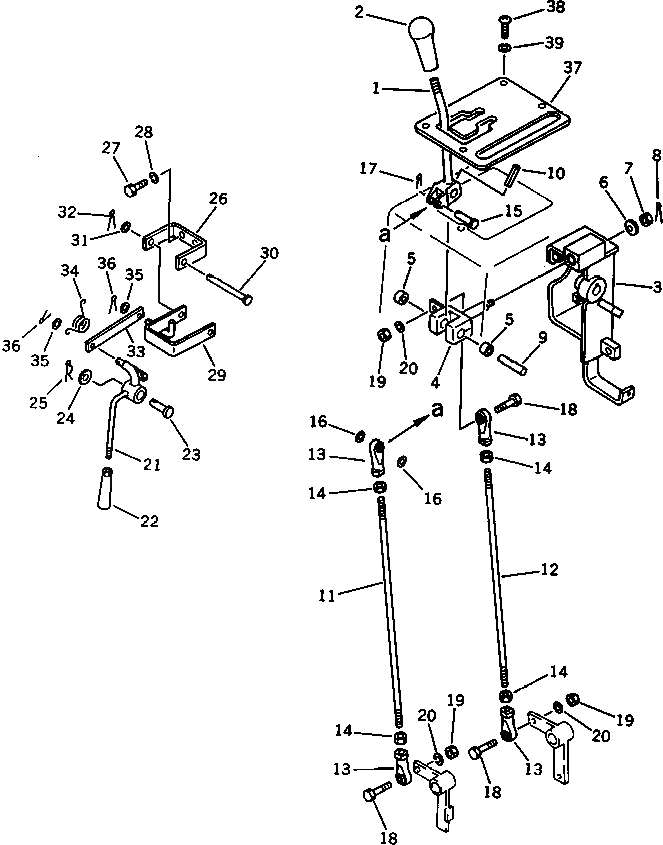
Запчасти Komatsu D31P-17A РЫЧАГ УПРАВЛ-Я ТРАНСМИССИЕЙ(№9-) ДЕМПФЕР И ТРАНСМИССИЯ

Схема запчастей Komatsu D31P-17A - РЫЧАГ УПРАВЛ-Я ТРАНСМИССИЕЙ(№9-) ДЕМПФЕР И ТРАНСМИССИЯ
FIT
1:1
100%

Артикул

Название

Примечание

Количество

1

113-43-34211

LEVER

SN: 32930-UP

1шт.

2

113-43-23420

KNOB

SN: 32001-UP

1шт.

3

103-43-00120

BRACKET ASS'Y

SN: 32001-UP

1шт.

|4

113-43-00092

YOKE ASS'Y

SN: 32930-UP

1шт.

4

0

YOKE

SN: 32930-UP

1шт.

5

09350-01415

BUSHING

SN: 32001-UP

2шт.

6

113-43-23230

WASHER

SN: 32001-UP

1шт.

7

01590-10809

NUT

SN: 32001-UP

1шт.

8

04050-12015

PIN

SN: 32001-UP

1шт.

9

113-43-23410

PIN

SN: 32001-UP

1шт.

10

04025-00324

PIN

SN: 32001-UP

1шт.

11

04245-40846

ROD

SN: 32001-UP

1шт.

12

04245-40841

ROD

SN: 32001-UP

1шт.

13

113-43-23270

END,ROD

SN: 32930-UP

4шт.

14

01580-10806

NUT

SN: 32001-UP

4шт.

15

04205-10832

PIN

SN: 32930-UP

1шт.

16

04254-00823

SPACER

SN: 32930-UP

2шт.

17

04050-12015

PIN

SN: 32930-UP

1шт.

18

01010-50830

BOLT

SN: 32001-UP

3шт.

19

01580-10806

NUT

SN: 32001-UP

3шт.

20

01602-20825

WASHER

SN: 32001-UP

3шт.

21

113-43-34151

LEVER

SN: 32930-UP

1шт.

22

09305-00800

KNOB

SN: 32001-UP

1шт.

23

04205-11445

PIN

SN: 32001-UP

1шт.

24

01641-21423

WASHER

SN: 32001-UP

1шт.

25

04052-01453

PIN

SN: 32001-UP

1шт.

26

113-43-34180

PLATE

SN: 32001-UP

1шт.

27

01010-51025

BOLT

SN: 32001-UP

2шт.

28

01602-21030

WASHER

SN: 32001-UP

2шт.

29

103-43-24230

LEVER

SN: 32001-UP

1шт.

30

113-43-23340

PIN

SN: 32001-UP

1шт.

31

01641-21016

WASHER

SN: 32001-UP

1шт.

32

04050-13015

PIN

SN: 32001-UP

1шт.

33

113-43-23330

LINK

SN: 32001-UP

1шт.

34

09463-00002

SPRING

SN: 32001-UP

1шт.

35

01641-20608

WASHER

SN: 32001-UP

3шт.

36

04050-11610

PIN

SN: 32001-UP

3шт.

37

113-43-34161

GUIDE

SN: 32001-UP

1шт.

38

01220-40820

SCREW

SN: 32001-UP

4шт.

39

01602-20825

WASHER

SN: 32001-UP

4шт.

Выбрано товаров: 40