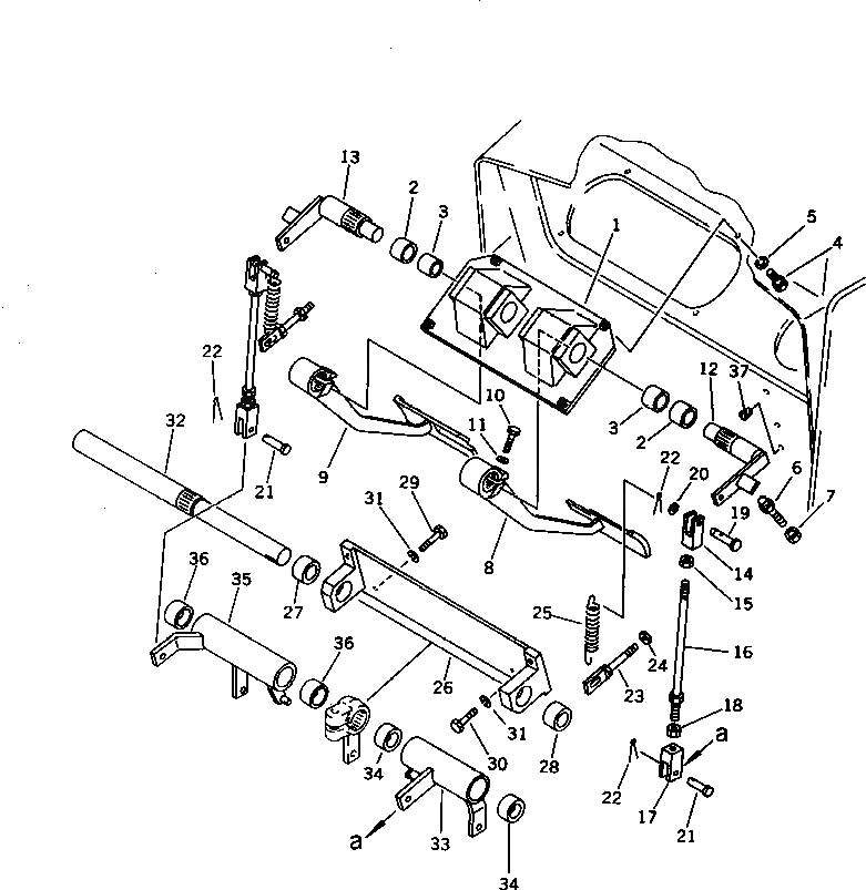
Запчасти Komatsu D31P-17A РУЛЕВ. УПРАВЛЕНИЕ ПЕДАЛЬ УПРАВЛ-Я (ДЛЯ ПЕДАЛЬ РУЛЕВ. УПРАВЛЕНИЕ) СИСТЕМАУПРАВЛЕНИЯ ПОВОРОТОМ И КОНЕЧНАЯ ПЕРЕДАЧА

Схема запчастей Komatsu D31P-17A - РУЛЕВ. УПРАВЛЕНИЕ ПЕДАЛЬ УПРАВЛ-Я (ДЛЯ ПЕДАЛЬ РУЛЕВ. УПРАВЛЕНИЕ) СИСТЕМАУПРАВЛЕНИЯ ПОВОРОТОМ И КОНЕЧНАЯ ПЕРЕДАЧА
FIT
1:1
100%

Артикул

Название

Примечание

Количество

|1

113-43-00510

BRACKET ASS'Y

SN: 32001-UP

1шт.

1

0

BRACKET

SN: 32001-UP

1шт.

2

09350-03020

BUSHING

SN: 32001-UP

2шт.

3

09350-02520

BUSHING

SN: 32001-UP

2шт.

4

01010-51030

BOLT

SN: 32001-UP

2шт.

5

01602-21030

WASHER

SN: 32001-UP

2шт.

6

113-43-21340

BUMPER

SN: 32001-UP

2шт.

7

01580-11008

NUT

SN: 32001-UP

2шт.

8

113-43-31120

PEDAL,L.H.

SN: 32001-UP

1шт.

|8

113-43-31510

PEDAL,L.H. (FOR DECELERATOR PEDAL)

SN: 32001-UP

1шт.

9

113-43-31130

PEDAL,R.H.

SN: 32001-UP

1шт.

|9

113-43-31520

PEDAL,R.H. (FOR DECELERATOR PEDAL)

SN: 32001-UP

1шт.

10

01010-51030

BOLT

SN: 32001-UP

2шт.

11

01602-21030

WASHER

SN: 32001-UP

2шт.

12

113-43-31140

LEVER,L.H.

SN: 32001-UP

1шт.

13

113-43-33210

LEVER

SN: 32001-UP

1шт.

14

04220-21040

YOKE

SN: 32001-UP

2шт.

15

01508-21006

NUT,L.H. THREAD

SN: 32001-UP

2шт.

16

04248-31022

ROD

SN: 32001-UP

2шт.

17

04211-21055

YOKE

SN: 32001-UP

2шт.

18

01582-11008

NUT

SN: 32001-UP

2шт.

19

103-43-21170

PIN

SN: 32001-UP

2шт.

20

01641-21016

WASHER

SN: 32001-UP

2шт.

21

04205-11028

PIN

SN: 32001-UP

2шт.

22

04050-13020

PIN

SN: 32001-UP

4шт.

23

113-43-31430

BOLT

SN: 32001-UP

2шт.

24

01580-11008

NUT

SN: 32001-UP

2шт.

25

230-43-14151

SPRING

SN: 32001-UP

2шт.

|26

113-43-00520

BRACKET ASS'Y

SN: 32001-UP

1шт.

26

0

BRACKET

SN: 32001-UP

1шт.

27

09350-03020

BUSHING

SN: 32001-UP

1шт.

28

09350-02820

BUSHING

SN: 32001-UP

1шт.

29

01010-51303

BOLT

SN: 32001-UP

2шт.

30

01010-51040

BOLT

SN: 32001-UP

2шт.

31

01602-21030

WASHER

SN: 32001-UP

4шт.

32

113-43-31211

SHAFT

SN: 32001-UP

1шт.

|33

113-43-00530

LEVER ASS'Y,L.H.

SN: 32001-UP

1шт.

33

0

LEVER,L.H.

SN: 32001-UP

1шт.

34

09350-02820

BUSHING

SN: 32001-UP

2шт.

|35

113-43-00540

LEVER ASS'Y,R.H.

SN: 32001-UP

1шт.

35

0

LEVER,R.H.

SN: 32001-UP

1шт.

36

09350-03020

BUSHING

SN: 32001-UP

2шт.

37

07049-01012

PLUG

SN: 32001-UP

2шт.

Выбрано товаров: 43