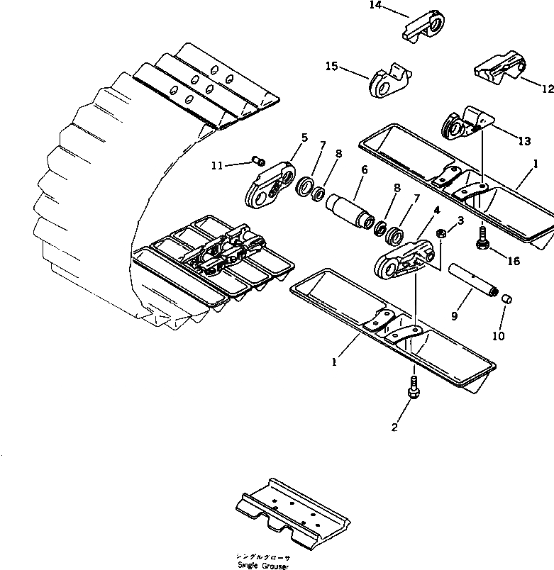
Запчасти Komatsu D31P-17A ГУСЕНИЦЫ(СМАЗЫВ. ТИПА)(№97-) ГУСЕНИЦЫ

Схема запчастей Komatsu D31P-17A - ГУСЕНИЦЫ(СМАЗЫВ. ТИПА)(№97-) ГУСЕНИЦЫ
FIT
1:1
100%

Артикул

Название

Примечание

Количество

|$$1

SWAMP 600MM

-1шт.

|1

11G-32-02104

TRACK SHOE ASS'Y

SN: .-UP

1шт.

|1

0

TRACK SHOE ASS'Y

SN: 32957-.

1шт.

1

11G-32-21120

SHOE,TRACK

SN: 32001-UP

82шт.

2

203-32-21220

BOLT¤ SHOE (KIT)

SN: 32001-UP

312шт.

3

01803-01420

NUT,SHOE (KIT)

SN: 32001-UP

312шт.

|4

11G-32-00023

TRACK LINK ASS'Y

SN: .-UP

1шт.

|4

0

TRACK LINK ASS'Y

SN: 32957-.

1шт.

4

112-32-21120

LINK,TRACK¤ L.H.

SN: 32001-UP

78шт.

5

112-32-21130

LINK,TRACK¤ R.H.

SN: 32001-UP

78шт.

6

112-32-21140

BUSHING

SN: 32001-UP

82шт.

7

112-32-21400

SEAL ASS'Y

SN: 32001-UP

164шт.

8

112-32-21430

SPACER

SN: 32001-UP

164шт.

9

112-32-21152

PIN

SN: .-UP

82шт.

|9

0

PIN

SN: 32001-.

82шт.

10

07059-11222

PLUG,LARGE

SN: .-UP

82шт.

|10

0

PLUG,LARGE

SN: 32001-.

82шт.

11

07059-20721

PLUG,SMALL

SN: .-UP

82шт.

|11

0

PLUG,SMALL

SN: 32001-.

82шт.

12

112-32-21221

LINK,MASTER¤ L.H.¤ PIN SIDE

SN: 32957-UP

4шт.

13

112-32-21231

LINK,MASTER¤ L.H.¤ BUSHING SIDE

SN: 32957-UP

4шт.

14

112-32-21321

LINK,MASTER¤ R.H.¤ PIN SIDE

SN: 32957-UP

4шт.

15

112-32-21331

LINK,MASTER¤ R.H.¤ BUSHING SIDE

SN: 32957-UP

4шт.

16

112-32-21362

BOLT,MASTER LINK

SN: 32957-UP

16шт.

|$$25

SERVICE KIT

-1шт.

|1

203-32-05020

SHOE BOLT AND NUT K.

SN: 32001-UP

1шт.

2

203-32-21220

BOLT¤ SHOE

SN: 32001-UP

50шт.

3

01803-01420

NUT,SHOE

SN: 32001-UP

50шт.

|$$29

SINGLE 400MM

-1шт.

|1

11G-32-02145

TRACK SHOE ASS'Y

SN: .-UP

1шт.

|1

0

TRACK SHOE ASS'Y

SN: 32957-.

1шт.

1

112-32-11451

SHOE,TRACK

SN: 32001-UP

82шт.

2

203-32-21210

BOLT¤ SHOE (KIT)

SN: 32001-UP

312шт.

3

01803-01420

NUT,SHOE (KIT)

SN: 32001-UP

312шт.

|4

11G-32-00033

TRACK LINK ASS'Y

SN: .-UP

1шт.

|4

0

TRACK LINK ASS'Y

SN: 32957-.

1шт.

4

112-32-21120

LINK,TRACK¤ L.H.

SN: 32001-UP

78шт.

5

112-32-21130

LINK,TRACK¤ R.H.

SN: 32001-UP

78шт.

6

112-32-21140

BUSHING

SN: 32001-UP

82шт.

7

112-32-21400

SEAL ASS'Y

SN: 32001-UP

164шт.

8

112-32-21430

SPACER

SN: 32001-UP

164шт.

9

112-32-21152

PIN

SN: .-UP

82шт.

|9

0

PIN

SN: 32001-.

82шт.

10

07059-11222

PLUG,LARGE

SN: .-UP

82шт.

|10

0

PLUG,LARGE

SN: 32001-.

82шт.

11

07059-20721

PLUG,SMALL

SN: .-UP

82шт.

|11

0

PLUG,SMALL

SN: 32001-.

82шт.

12

112-32-21221

LINK,MASTER¤ L.H.¤ PIN SIDE

SN: 32957-UP

4шт.

13

112-32-21231

LINK,MASTER¤ L.H.¤ BUSHING SIDE

SN: 32957-UP

4шт.

14

112-32-21321

LINK,MASTER¤ R.H.¤ PIN SIDE

SN: 32957-UP

4шт.

15

112-32-21331

LINK,MASTER¤ R.H.¤ BUSHING SIDE

SN: 32957-UP

4шт.

16

112-32-21352

BOLT,MASTER LINK

SN: 32957-UP

16шт.

|$$53

SINGLE 600MM

-1шт.

|1

11G-32-02115

TRACK SHOE ASS'Y

SN: .-UP

1шт.

|1

0

TRACK SHOE ASS'Y

SN: 32957-.

1шт.

1

11G-32-21111

SHOE,TRACK

SN: 32001-UP

82шт.

2

203-32-21210

BOLT¤ SHOE (KIT)

SN: 32001-UP

312шт.

3

01803-01420

NUT,SHOE (KIT)

SN: 32001-UP

312шт.

4

11G-32-00033

TRACK LINK ASS'Y

SN: .-UP

1шт.

|4

0

TRACK LINK ASS'Y

SN: 32957-.

1шт.

|$$61

SERVICE KIT{(FOR SINGLE)}

-1шт.

|1

203-32-05010

SHOE BOLT AND NUT K.

SN: 32001-UP

1шт.

2

203-32-21210

BOLT¤ SHOE

SN: 32001-UP

50шт.

3

01803-01420

NUT,SHOE

SN: 32001-UP

50шт.

|$$65

OVERSIZE PARTS

-1шт.

|$$66

0.10MM OVERSIZE

-1шт.

6

112-98-09210

BUSHING

SN: 32001-UP

-2шт.

9

112-98-09071

PIN

SN: .-UP

-2шт.

|9

0

PIN

SN: 32001-.

-2шт.

|$$70

0.18MM OVERSIZE

-1шт.

6

112-98-09220

BUSHING

SN: 32001-UP

-2шт.

9

112-98-09081

PIN

SN: .-UP

-2шт.

|9

0

PIN

SN: 32001-.

-2шт.

Выбрано товаров: 73