Запчасти Komatsu D31P-17A ЗАЩИТА РАДИАТОРА AND КАПОТ(№7-) ЧАСТИ КОРПУСА

Схема запчастей Komatsu D31P-17A - ЗАЩИТА РАДИАТОРА AND КАПОТ(№7-) ЧАСТИ КОРПУСА
FIT
1:1
100%

Артикул

Название

Примечание

Количество

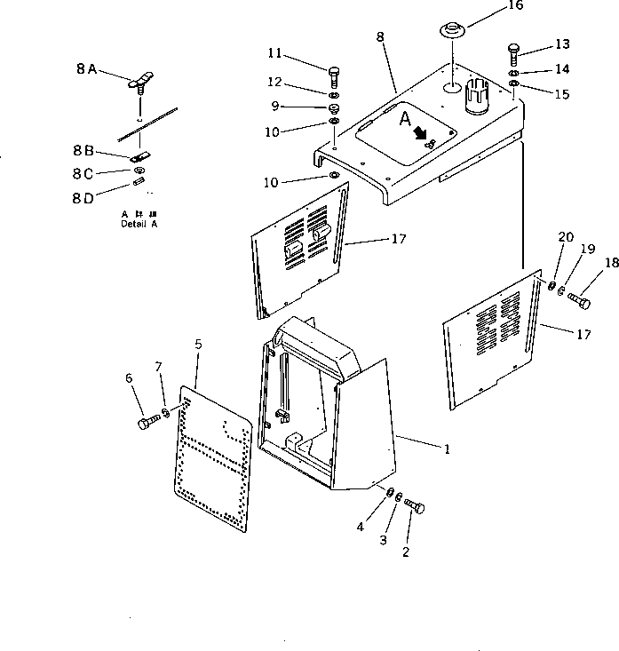
1

113-54-31112

GUARD

SN: 32617-UP

1шт.

2

01010-51435

BOLT

SN: 32001-UP

8шт.

3

01602-21442

WASHER

SN: 32001-UP

8шт.

4

01643-31445

WASHER

SN: 32001-UP

8шт.

5

113-54-31150

GRILLE

SN: 32001-UP

1шт.

6

01010-51435

BOLT

SN: 32001-UP

4шт.

7

01602-21442

WASHER

SN: 32001-UP

4шт.

8

113-54-31122

HOOD

SN: 32617-UP

1шт.

8A

135-54-31290

HANDLE

SN: 32167-UP

1шт.

8B

135-54-31310

STOPPER

SN: 32167-UP

1шт.

8C

01643-31032

WASHER

SN: 32167-UP

1шт.

8D

04025-00316

PIN

SN: 32167-UP

1шт.

9

113-54-31341

COLLAR

SN: 32617-UP

3шт.

10

113-54-31351

SEAT

SN: 32617-UP

6шт.

11

01010-51030

BOLT

SN: 32001-UP

3шт.

12

01602-21030

WASHER

SN: 32001-UP

3шт.

13

01010-51435

BOLT

SN: 32001-UP

4шт.

14

01602-21442

WASHER

SN: 32001-UP

4шт.

15

01643-31445

WASHER

SN: 32001-UP

4шт.

16

113-54-21161

COVER

SN: 32001-UP

1шт.

17

113-54-31171

COVER,L.H.

SN: 32001-UP

1шт.

|17

113-54-31181

COVER,R.H.

SN: 32001-UP

1шт.

18

01010-51025

BOLT

SN: 32001-UP

10шт.

19

01602-21030

WASHER

SN: 32001-UP

10шт.

20

01643-31032

WASHER

SN: 32001-UP

10шт.

Выбрано товаров: 25