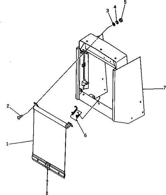
Запчасти Komatsu D31P-17A ЗАСЛОНКА РАДИАТОРА КОМПОНЕНТЫ ДВИГАТЕЛЯ И ЭЛЕКТРИКА

Схема запчастей Komatsu D31P-17A - ЗАСЛОНКА РАДИАТОРА КОМПОНЕНТЫ ДВИГАТЕЛЯ И ЭЛЕКТРИКА
FIT
1:1
100%

Артикул

Название

Примечание

Количество

1

113-03-31340

SHUTTER

SN: 32001-UP

1шт.

2

01220-40420

SCREW

SN: 32001-UP

4шт.

3

01642-20405

WASHER

SN: 32001-UP

4шт.

4

01601-20410

WASHER

SN: 32001-UP

4шт.

5

01580-10403

NUT

SN: 32001-UP

4шт.

6

113-03-31350

BRACKET

SN: 32001-UP

1шт.

7

113-54-39231

GUARD

SN: 32617-UP

1шт.

|7

113-54-39230

GUARD

SN: 32001-32616

1шт.

Выбрано товаров: 8