Запчасти Komatsu D31P-18 ЗАДН. КРЫШКА И ГИДР. БАК.(№-7) ЧАСТИ КОРПУСА

Схема запчастей Komatsu D31P-18 - ЗАДН. КРЫШКА И ГИДР. БАК.(№-7) ЧАСТИ КОРПУСА
FIT
1:1
100%

Артикул

Название

Примечание

Количество

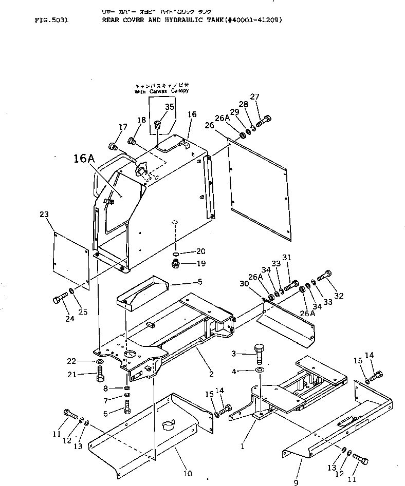
1

113-54-44121

FENDER,L.H.

SN: 40067-41207

1шт.

|1

0

FENDER,L.H.

SN: 40001-40066

1шт.

2

113-54-44130

FENDER,R.H.

SN: 40001-41207

1шт.

|2

113-54-49430

FENDER,R.H. (FOR ADDITIONAL STRAINER)

SN: 40001-41207

1шт.

3

01010-52050

BOLT

SN: 40001-@

6шт.

4

01643-32060

WASHER

SN: 40001-@

6шт.

5

103-54-34440

BOX

SN: 40001-@

1шт.

6

01010-50830

BOLT

SN: 40001-41207

2шт.

7

01602-20825

WASHER,SPRING

SN: 40001-41207

2шт.

8

01643-30823

WASHER

SN: 40001-41207

2шт.

9

113-54-44440

COVER,L.H.

SN: 40001-41207

1шт.

|9

113-54-44340

COVER,L.H. (WITH CANVAS CANOPY)

SN: 40001-41207

1шт.

10

113-54-44450

COVER,R.H.

SN: 40001-41207

1шт.

|10

113-54-44350

COVER,R.H. (WITH CANVAS CANOPY)

SN: 40001-41207

1шт.

11

01010-51025

BOLT

SN: 40001-@

12шт.

12

01602-21030

WASHER,SPRING

SN: 40001-@

12шт.

13

01643-31032

WASHER

SN: 40001-@

12шт.

14

01010-51625

BOLT

SN: 40001-41207

4шт.

15

01643-31645

WASHER

SN: 40001-41207

4шт.

|16

113-54-00200

HYDRAULIC TANK ASS'Y

SN: 40001-41207

1шт.

16

113-54-44310

TANK

SN: 40001-41207

1шт.

16A

113-54-00250

COVER ASS'Y,INSPECTION

SN: 40001-@

1шт.

17

10E-03-11130

CAP

SN: 40001-@

1шт.

18

20N-60-11141

GAUGE,OIL

SN: 40001-@

1шт.

19

07044-12412

PLUG

SN: 40001-@

1шт.

20

07002-02434

O-RING

SN: 40001-@

1шт.

21

01010-51440

BOLT

SN: 40001-@

4шт.

22

01643-31445

WASHER

SN: 40001-@

4шт.

23

113-54-43130

PLATE

SN: 40001-@

1шт.

24

01010-51020

BOLT

SN: 40001-@

4шт.

25

01643-31032

WASHER

SN: 40001-@

4шт.

26

113-54-44230

COVER

SN: 40001-41207

1шт.

26A

103-21-31260

BOSS

SN: 40664-41207

10шт.

27

01010-51045

BOLT

SN: 40664-41207

6шт.

|27

01010-51025

BOLT

SN: 40001-40663

6шт.

28

01602-21030

WASHER,SPRING

SN: 40001-41207

6шт.

29

01643-31032

WASHER

SN: 40001-41207

6шт.

30

113-54-44220

COVER

SN: 40001-41207

1шт.

31

01010-51045

BOLT

SN: 40664-41207

2шт.

|31

01010-51025

BOLT

SN: 40001-40663

2шт.

32

01010-51060

BOLT

SN: 40664-41207

2шт.

|32

01010-51040

BOLT

SN: 40001-40663

2шт.

33

01602-21030

WASHER,SPRING

SN: 40001-41207

4шт.

34

01643-31032

WASHER

SN: 40001-41207

4шт.

35

07049-01012

PLUG,(WITH CANVAS CANOPY)

SN: 40001-41207

4шт.

Выбрано товаров: 0