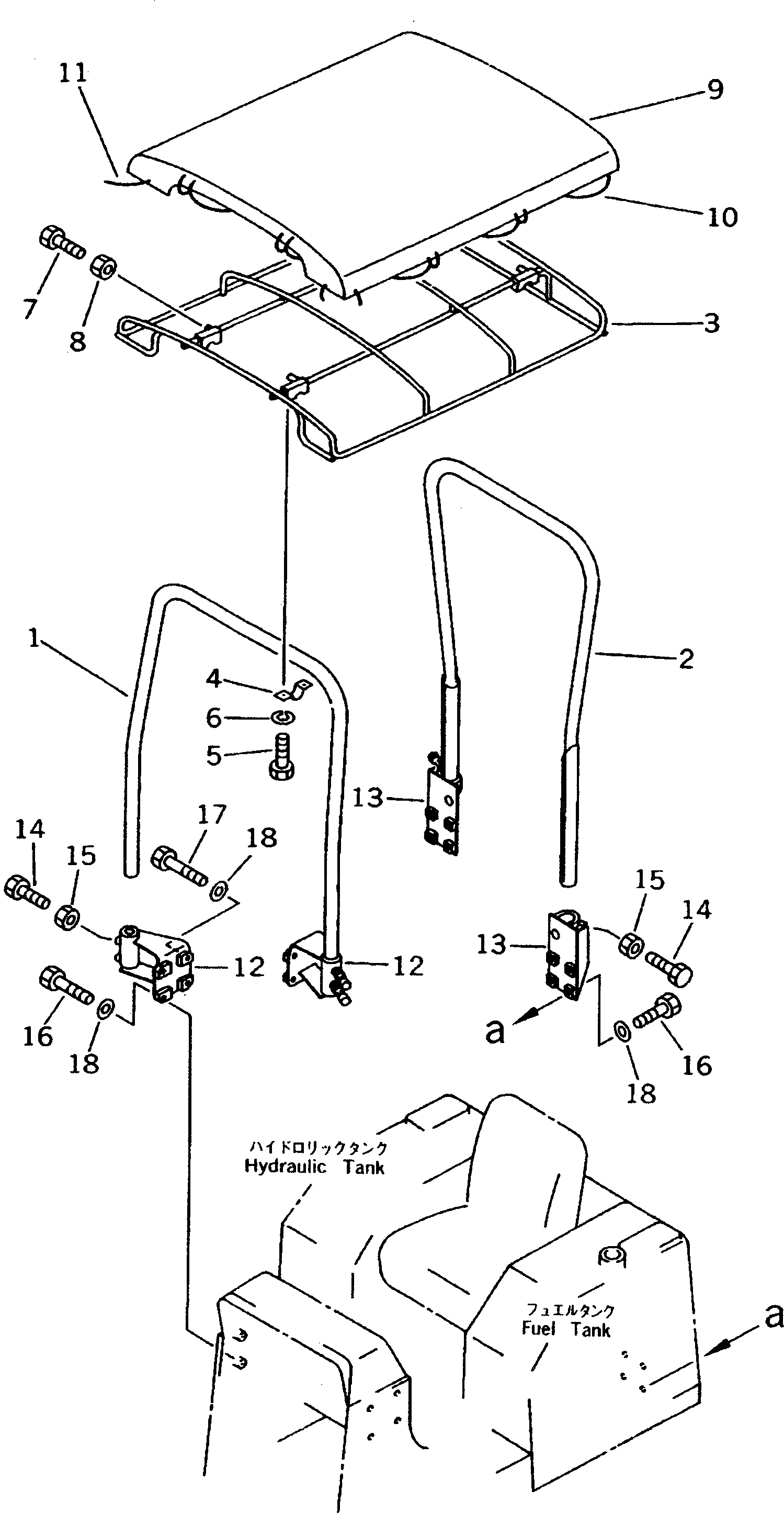
Запчасти Komatsu D31P-18 НАВЕС (CANVAS) ЧАСТИ КОРПУСА

Схема запчастей Komatsu D31P-18 - НАВЕС (CANVAS) ЧАСТИ КОРПУСА
FIT
1:1
100%

Артикул

Название

Примечание

Количество

1

114-Y06-1110

POLE,FRONT

SN: 40001-UP

1шт.

2

113-X06-1410

POLE,REAR

SN: 40001-UP

1шт.

3

102-91-11191

ROOF

SN: 40001-UP

1шт.

4

101-91-11150

CLIP

SN: 40001-UP

4шт.

5

01010-51225

BOLT

SN: 40001-UP

8шт.

6

01602-21236

WASHER,SPRING

SN: 40001-UP

8шт.

7

01010-51230

BOLT

SN: 40001-UP

4шт.

8

01580-11210

NUT

SN: 40001-UP

4шт.

9

101-91-31140

SHEET

SN: 40001-UP

1шт.

10

131-906-1220

ROPE¤ 8.5M

SN: 40001-UP

1шт.

11

131-906-1230

ROPE¤ 0.7M

SN: 40001-UP

2шт.

12

114-X06-1110

BRACKET,FRONT¤ L.H.

SN: 40001-UP

1шт.

|12

114-X06-1120

BRACKET,FRONT¤ R.H.

SN: 40001-UP

1шт.

13

113-X06-1450

BRACKET,REAR¤ L.H.

SN: 40001-UP

1шт.

|13

113-X06-1460

BRACKET,REAR¤ R.H.

SN: 40001-UP

1шт.

14

01016-51445

BOLT

SN: 40001-UP

8шт.

15

01580-11411

NUT

SN: 40001-UP

8шт.

16

01010-51650

BOLT

SN: 40001-UP

12шт.

17

01010-51660

BOLT

SN: 40001-UP

4шт.

18

01643-31645

WASHER

SN: 40001-UP

16шт.

Выбрано товаров: 20