Запчасти Komatsu D31P-18 КАБИНА ROPS (ЭЛЕМЕНТЫ КРЕПЛЕНИЯ) (/) ЧАСТИ КОРПУСА

Схема запчастей Komatsu D31P-18 - КАБИНА ROPS (ЭЛЕМЕНТЫ КРЕПЛЕНИЯ) (/) ЧАСТИ КОРПУСА
FIT
1:1
100%

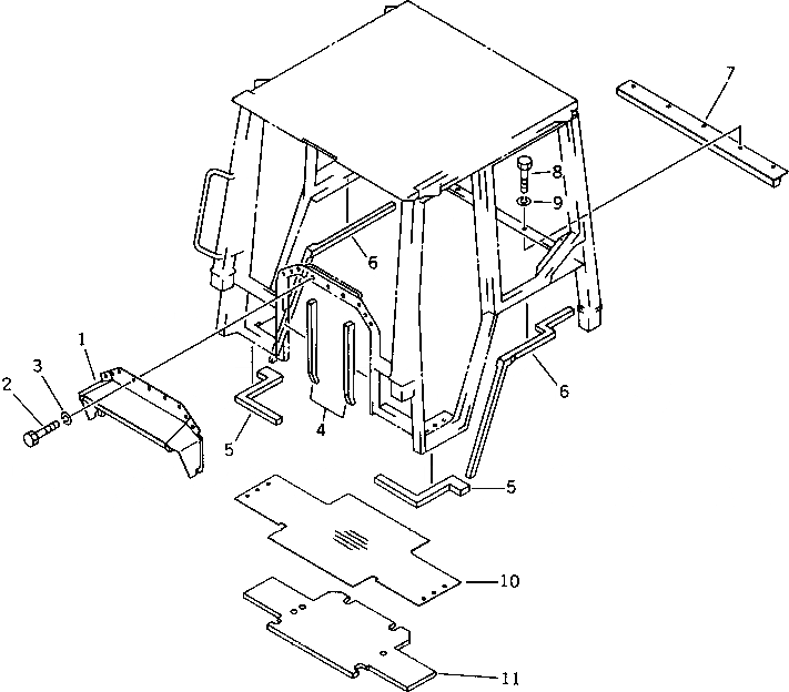
Артикул

Название

Примечание

Количество

1

114-X79-1710

SEAL,FRONT

SN: 40001-UP

1шт.

2

01010-30616

BOLT

SN: 40001-UP

9шт.

3

01602-00619

WASHER,SPRING

SN: 40001-UP

9шт.

4

114-X79-1720

SEAL

SN: 40001-UP

2шт.

5

113-X79-1840

SEAL

SN: 40001-UP

2шт.

6

113-Y79-1741

SEAL,L.H.

SN: 40001-UP

1шт.

|6

11K-Y11-1410

SEAL,R.H.

SN: 40001-UP

1шт.

7

113-Y79-1780

SEAL,REAR

SN: 40001-UP

1шт.

8

01010-31025

BOLT

SN: 40001-UP

5шт.

9

01602-01030

WASHER,SPRING

SN: 40001-UP

5шт.

10

113-X79-1990

MAT

SN: 40001-UP

1шт.

11

113-X79-1980

MAT

SN: 40001-UP

1шт.

Выбрано товаров: 12