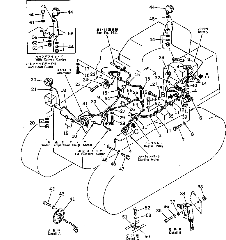
Запчасти Komatsu D31P-18 ЭЛЕКТРИКА КОМПОНЕНТЫ ДВИГАТЕЛЯ И ЭЛЕКТРИКА

Схема запчастей Komatsu D31P-18 - ЭЛЕКТРИКА КОМПОНЕНТЫ ДВИГАТЕЛЯ И ЭЛЕКТРИКА
FIT
1:1
100%

Артикул

Название

Примечание

Количество

1

08028-13015

CABLE

SN: 40001-UP

1шт.

2

08028-13085

CABLE

SN: 40001-UP

1шт.

3

08028-13175

CABLE

SN: 40001-UP

1шт.

4

08038-06031

CAP

SN: 40001-UP

6шт.

5

08037-02512

GROMMET

SN: 40001-UP

1шт.

5A

08036-02514

CLIP

SN: 40001-UP

1шт.

6

08088-10000

SWITCH,BATTERY

SN: 40001-UP

1шт.

7

01010-50816

BOLT

SN: 40001-UP

2шт.

8

01602-20825

WASHER,SPRING

SN: 40001-UP

2шт.

9

114-06-43111

WIRE ASS'Y

SN: 40627-UP

1шт.

|9

114-06-43110

WIRE ASS'Y

SN: 40001-40626

1шт.

10

113-06-23220

COVER

SN: 40001-UP

3шт.

11

08036-02514

CLIP

SN: 40001-UP

3шт.

12

01010-51020

BOLT

SN: 40001-UP

3шт.

13

01643-31032

WASHER

SN: 40001-UP

3шт.

14

08034-00414

BAND

SN: 40001-UP

3шт.

15

08036-01414

CLIP

SN: 40001-UP

6шт.

16

01010-51020

BOLT

SN: 40001-UP

6шт.

17

01643-31032

WASHER

SN: 40001-UP

6шт.

18

114-06-43120

WIRE ASS'Y

SN: 40001-UP

1шт.

19

08036-10814

CLIP

SN: 40001-UP

2шт.

20

08125-02400

LAMP ASS'Y

SN: 40001-UP

2шт.

|20

08107-02460

BULB¤ 60W

SN: 40001-UP

1шт.

|20

08125-00006

LENS

SN: 40001-UP

1шт.

21

01643-31232

WASHER

SN: 40001-UP

2шт.

22

08160-22400

HORN

SN: 40001-UP

1шт.

23

01010-50820

BOLT

SN: 40001-UP

2шт.

24

01602-20825

WASHER,SPRING

SN: 40001-UP

2шт.

25

08034-00414

BAND

SN: 40001-UP

1шт.

26

08034-00536

BAND

SN: 40001-UP

1шт.

27

08036-10814

CLIP

SN: 40001-UP

1шт.

28

01010-51020

BOLT

SN: 40001-UP

1шт.

29

01643-31032

WASHER

SN: 40001-UP

1шт.

30

08036-11214

CLIP

SN: 40001-UP

1шт.

31

08038-00519

CAP

SN: 40001-UP

1шт.

32

103-06-33130

WIRE ASS'Y

SN: 40001-UP

1шт.

33

08064-10000

SWITCH,HORN

SN: 40001-UP

1шт.

34

113-06-23250

SWITCH,SAFETY

SN: 40001-UP

1шт.

35

01220-40430

SCREW

SN: 40001-UP

2шт.

36

01601-20410

WASHER,SPRING

SN: 40001-UP

2шт.

37

134-06-22130

WASHER

SN: 40001-UP

2шт.

38

01580-10403

NUT

SN: 40001-UP

2шт.

39

08038-00519

CAP

SN: 40001-UP

2шт.

40

08034-00414

BAND

SN: 40001-UP

2шт.

41

103-06-33150

SENSOR,FUEL

SN: 40001-UP

1шт.

42

01220-40410

SCREW

SN: 40001-UP

5шт.

43

01601-20410

WASHER,SPRING

SN: 40001-UP

5шт.

44

08125-02400

LAMP ASS'Y

SN: 40001-UP

1шт.

|44

08107-02460

BULB¤ 60W

SN: 40001-UP

1шт.

|44

08125-00006

LENS

SN: 40001-UP

1шт.

45

01643-31232

WASHER

SN: 40001-UP

1шт.

46

08028-13035

CABLE

SN: 40001-UP

1шт.

47

01010-51025

BOLT

SN: 40001-UP

2шт.

48

01602-21030

WASHER,SPRING

SN: 40001-UP

2шт.

49

08036-10814

CLIP

SN: 40001-UP

1шт.

50

08036-01814

CLIP

SN: 40001-UP

1шт.

51

08036-10814

CLIP

SN: 40001-UP

1шт.

52

01010-51020

BOLT

SN: 40001-UP

1шт.

53

01643-31032

WASHER

SN: 40001-UP

1шт.

54

08036-01414

CLIP

SN: 40001-UP

2шт.

55

08036-03014

CLIP

SN: 40001-UP

1шт.

56

01010-51020

BOLT

SN: 40001-UP

3шт.

57

01643-31032

WASHER

SN: 40001-UP

3шт.

58

101-Y69-1140

WIRE

SN: 40001-UP

1шт.

59

104-06-23140

PLATE

SN: 40001-UP

1шт.

60

01010-51025

BOLT

SN: 40001-UP

1шт.

61

01602-21030

WASHER,SPRING

SN: 40001-UP

1шт.

62

01643-31032

WASHER

SN: 40001-UP

1шт.

63

01580-11008

NUT

SN: 40001-UP

1шт.

Выбрано товаров: 69