Запчасти Komatsu D31P-18 ОСВЕЩЕНИЕ И ЗЕРКАЛА ЗАДН. ВИДА(ДЛЯ SHAKEN-BUHIN) КОМПОНЕНТЫ ДВИГАТЕЛЯ И ЭЛЕКТРИКА

Схема запчастей Komatsu D31P-18 - ОСВЕЩЕНИЕ И ЗЕРКАЛА ЗАДН. ВИДА(ДЛЯ SHAKEN-BUHIN) КОМПОНЕНТЫ ДВИГАТЕЛЯ И ЭЛЕКТРИКА
FIT
1:1
100%

Артикул

Название

Примечание

Количество

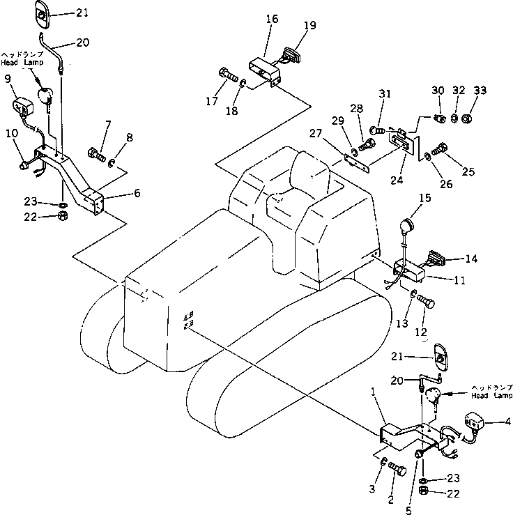
1

11G-C60-1110

BRACKET,L.H.

SN: 40001-UP

1шт.

2

01010-51025

BOLT

SN: 40001-UP

4шт.

3

01602-21030

WASHER,SPRING

SN: 40001-UP

4шт.

4

08130-62400

LAMP ASS'Y,COMBINATION¤ L.H.

SN: 40001-UP

1шт.

|4

08105-12420

BULB¤ 25W

SN: 40001-UP

1шт.

|4

08110-12410

BULB¤ 12W

SN: 40001-UP

1шт.

5

08139-02400

LAMP,PARKING

SN: 40001-UP

1шт.

|5

08102-02403

BULB¤ 3W

SN: 40001-UP

1шт.

6

11G-C60-1120

BRACKET,R.H.

SN: 40001-UP

1шт.

7

01010-51025

BOLT

SN: 40001-UP

4шт.

8

01602-21030

WASHER,SPRING

SN: 40001-UP

4шт.

9

08130-82400

LAMP ASS'Y,COMBINATION¤ R.H.

SN: 40001-UP

1шт.

|9

08105-12420

BULB¤ 25W

SN: 40001-UP

1шт.

|9

08110-12410

BULB¤ 12W

SN: 40001-UP

1шт.

10

08139-02400

LAMP,PARKING

SN: 40001-UP

1шт.

|10

08102-02403

BULB¤ 3W

SN: 40001-UP

1шт.

11

113-C60-1130

BRACKET,L.H.

SN: 40001-UP

1шт.

12

01010-51035

BOLT

SN: 40001-UP

2шт.

13

01602-21030

WASHER,SPRING

SN: 40001-UP

2шт.

14

08133-02400

LAMP ASS'Y,COMBINATION¤ REAR

SN: 40001-UP

1шт.

|14

08105-12420

BULB¤ 25W

SN: 40001-UP

1шт.

|14

08104-12420

BULB¤ 25/10W

SN: 40001-UP

1шт.

|14

08102-02403

BULB¤ 3W

SN: 40001-UP

1шт.

15

08138-02400

LAMP ASS'Y,BACK-UP

SN: 40001-UP

1шт.

|15

08105-12420

BULB¤ 25W

SN: 40001-UP

1шт.

|15

08138-00006

LENS

SN: 40001-UP

1шт.

16

113-C60-1140

BRACKET,R.H.

SN: 40001-UP

1шт.

17

01010-51035

BOLT

SN: 40001-UP

2шт.

18

01602-21030

WASHER,SPRING

SN: 40001-UP

2шт.

19

08133-12400

LAMP ASS'Y,COMBINATION¤ REAR

SN: 40001-UP

1шт.

|19

08105-12420

BULB¤ 25W

SN: 40001-UP

1шт.

|19

08104-12420

BULB¤ 25/10W

SN: 40001-UP

1шт.

|19

08102-02403

BULB¤ 3W

SN: 40001-UP

1шт.

20

113-C60-1150

STAY

SN: 40001-UP

2шт.

21

08174-13112

MIRROR

SN: 40001-UP

2шт.

22

01580-11613

NUT

SN: 40001-UP

2шт.

23

01643-31645

WASHER

SN: 40001-UP

2шт.

24

362-A60-1120

BRACKET

SN: 40001-UP

1шт.

25

01010-50616

BOLT

SN: 40001-UP

2шт.

26

01602-20619

WASHER,SPRING

SN: 40001-UP

2шт.

27

113-C60-1160

PLATE

SN: 40001-UP

1шт.

28

01010-50825

BOLT

SN: 40001-UP

2шт.

29

01602-20825

WASHER,SPRING

SN: 40001-UP

2шт.

30

22W-06-12390

LAMP ASS'Y

SN: 40001-UP

1шт.

|30

08110-12410

BULB¤ 12W

SN: 40001-UP

1шт.

31

01220-40512

SCREW

SN: 40001-UP

2шт.

32

01601-20513

WASHER,SPRING

SN: 40001-UP

2шт.

33

01580-10504

NUT

SN: 40001-UP

2шт.

Выбрано товаров: 48