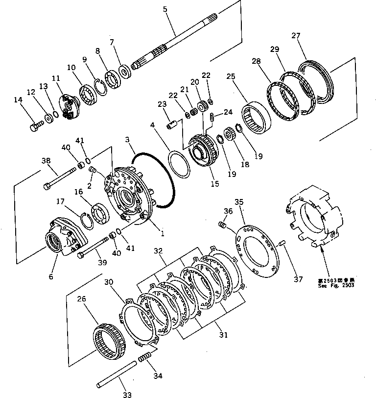
Запчасти Komatsu D31P-18 ТРАНСМИССИЯ (КОЖУХ РЕВЕРСА) (/7) ДЕМПФЕР¤ ТРАНСМИССИЯ¤ РУЛЕВ. УПРАВЛЕНИЕ И КОНЕЧНАЯ ПЕРЕДАЧА

Схема запчастей Komatsu D31P-18 - ТРАНСМИССИЯ (КОЖУХ РЕВЕРСА) (/7) ДЕМПФЕР¤ ТРАНСМИССИЯ¤ РУЛЕВ. УПРАВЛЕНИЕ И КОНЕЧНАЯ ПЕРЕДАЧА
FIT
1:1
100%

Артикул

Название

Примечание

Количество

|1

114-15-00033

TRANSMISSION ASS'Y

SN: 42967-UP

1шт.

|1

0

TRANSMISSION ASS'Y

SN: 41408-42966

1шт.

|1

0

TRANSMISSION ASS'Y

SN: 40326-41407

1шт.

|1

0

TRANSMISSION ASS'Y

SN: 40001-40325

1шт.

|$$5

THESE ASSEMBLIES CONSIST OF ALL PARTS SHOWN IN FIGS.2501 TO 2561.

-1шт.

|1

114-15-00313

TRANSMISSION ASS'Y

SN: 42967-UP

1шт.

|1

113-15-00611

TRANSMISSION ASS'Y

SN: 41408-42966

1шт.

|1

113-15-00610

TRANSMISSION ASS'Y

SN: 40001-41407

1шт.

|$$9

THESE ASSEMBLIES CONSIST OF ALL PARTS SHOWN IN FIGS.2501 TO 2505 AND 2507.

-1шт.

|1

113-15-00651

HOUSING ASS'Y,REVERSE

SN: 42967-UP

1шт.

|1

113-15-00650

HOUSING ASS'Y,REVERSE

SN: 40001-42966

1шт.

1

0

HOUSING

SN: 42967-UP

1шт.

|1

0

HOUSING

SN: 40001-42966

1шт.

2

07043-00108

PLUG

SN: 40001-UP

1шт.

3

07000-05270

O-RING (K1)

SN: 40001-UP

1шт.

4

07018-01305

RING,RING

SN: 40001-UP

1шт.

5

113-15-42112

SHAFT

SN: 42967-UP

1шт.

|5

113-15-42111

SHAFT

SN: 40001-42966

1шт.

6

113-15-00470

PUMP ASS'Y

SN: 40001-UP

1шт.

7

113-15-22140

SPACER

SN: 40001-UP

1шт.

8

06000-06010

BEARING,BALL

SN: 40001-UP

1шт.

9

04065-08025

RING,SNAP

SN: 40001-UP

1шт.

10

07012-10065

SEAL,OIL (K1)

SN: 40001-UP

1шт.

11

113-15-42150

COUPLING

SN: 40001-UP

1шт.

12

103-15-32150

HOLDER

SN: 40001-UP

1шт.

13

07000-73025

O-RING (K1)

SN: 40001-UP

1шт.

14

01010-51050

BOLT

SN: 40001-UP

1шт.

15

113-15-42311

CARRIER

SN: 42967-UP

1шт.

|15

114-15-42310

CARRIER

SN: 40001-42966

1шт.

16

06000-06011

BEARING

SN: 40001-UP

1шт.

17

04064-05520

RING,SNAP

SN: 40001-UP

1шт.

18

113-15-22211

GEAR¤ 24 TEETH

SN: 40001-UP

1шт.

19

113-15-22950

RING,SNAP

SN: 40001-UP

2шт.

20

113-15-22411

GEAR¤ 21 TEETH

SN: 42967-UP

4шт.

|20

113-15-22411

GEAR¤ 21 TEETH

SN: 40001-42966

3шт.

21

113-15-29410

BEARING,NEEDLE

SN: 42967-UP

4шт.

|21

113-15-29410

BEARING,NEEDLE

SN: 40001-42966

3шт.

22

113-15-32560

WASHER,THRUST

SN: 43268-UP

8шт.

|22

0

WASHER,THRUST

SN: 42967-43267

8шт.

|22

113-15-22560

WASHER,THRUST

SN: 40001-42966

6шт.

23

113-15-22510

SHAFT

SN: 42967-UP

4шт.

|23

113-15-22510

SHAFT

SN: 40001-42966

3шт.

24

113-15-29560

PIN,SPRING

SN: 42967-UP

4шт.

|24

113-15-29560

PIN,SPRING

SN: 40001-42966

3шт.

25

113-15-42610

GEAR,RING

SN: 40001-UP

1шт.

26

113-15-22620

GEAR,RING

SN: 40001-UP

1шт.

27

113-15-22760

PISTON,REVERSE

SN: 40001-UP

1шт.

28

113-15-29220

RING,SEAL (K1)

SN: 40001-UP

1шт.

29

113-15-29250

RING,SEAL (K1)

SN: 40001-UP

1шт.

30

113-15-22720

PLATE

SN: 40001-UP

1шт.

31

113-15-22730

PLATE

SN: 40001-UP

4шт.

32

113-15-42711

DISC

SN: 41408-UP

4шт.

|32

0

DISC

SN: 40001-41407

4шт.

|$$54

(113-15-42711(13){103-15-36150)}

-1шт.

33

113-15-31270

PIN

SN: 40001-UP

5шт.

34

113-15-42930

SPRING

SN: 40001-UP

5шт.

|35

113-15-00240

PLATE ASS'Y

SN: 40001-UP

1шт.

35

0

PLATE

SN: 40001-UP

1шт.

36

125-15-11230

PLUG

SN: 40001-UP

1шт.

37

113-15-21290

PIN,DOWEL

SN: 40001-UP

2шт.

38

113-15-21241

BOLT

SN: 40001-UP

1шт.

39

113-15-21251

BOLT

SN: 40001-UP

4шт.

40

113-15-21260

WASHER

SN: 40001-UP

5шт.

41

07000-01008

O-RING (K1)

SN: 40001-UP

5шт.

Выбрано товаров: 64