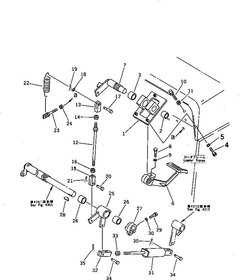
Запчасти Komatsu D31P-18 ПЕДАЛЬ ТОЛЧКОВОГО РЕГУЛИР-Я СИСТЕМА УПРАВЛЕНИЯ

Схема запчастей Komatsu D31P-18 - ПЕДАЛЬ ТОЛЧКОВОГО РЕГУЛИР-Я СИСТЕМА УПРАВЛЕНИЯ
FIT
1:1
100%

Артикул

Название

Примечание

Количество

|1

103-43-00330

BRACKET ASS'Y

SN: 40001-UP

1шт.

1

0

BRACKET

SN: 40001-UP

1шт.

2

09350-02520

BUSHING

SN: 40001-UP

1шт.

3

09350-03020

BUSHING

SN: 40001-UP

1шт.

4

01010-51030

BOLT

SN: 40001-UP

2шт.

5

01602-21030

WASHER,SPRING

SN: 40001-UP

2шт.

6

103-43-33190

PEDAL \

SN: 40001-UP

1шт.

7

103-43-33210

LEVER \

SN: 40001-UP

1шт.

8

01010-51030

BOLT

SN: 40001-UP

1шт.

9

01602-21030

WASHER,SPRING

SN: 40001-UP

1шт.

10

113-43-21340

BUMPER

SN: 40001-UP

1шт.

11

01580-11008

NUT

SN: 40001-UP

1шт.

12

04248-31223

ROD

SN: 40001-UP

1шт.

13

113-43-21670

YOKE

SN: 40001-UP

1шт.

14

01582-11210

NUT

SN: 40001-UP

1шт.

15

113-43-21680

YOKE,L.H. THREAD

SN: 40001-UP

1шт.

16

01508-41207

NUT,L.H. THREAD

SN: 41189-UP

1шт.

|16

01508-21207

NUT,L.H. THREAD

SN: 40001-41188

1шт.

17

103-43-21170

PIN

SN: 40001-UP

1шт.

18

01641-21016

WASHER

SN: 40001-UP

1шт.

19

04050-13020

PIN,COTTER

SN: 40001-UP

1шт.

20

04205-11028

PIN

SN: 40001-UP

1шт.

21

04050-13020

PIN,COTTER

SN: 40001-UP

1шт.

22

230-43-14151

SPRING

SN: 40001-UP

1шт.

23

113-43-31430

BOLT

SN: 40001-UP

1шт.

24

01580-11008

NUT

SN: 40001-UP

1шт.

|25

113-43-00610

LEVER ASS'Y

SN: 40001-UP

1шт.

25

0

LEVER

SN: 40001-UP

1шт.

26

09350-02820

BUSHING

SN: 40001-UP

2шт.

27

113-43-33451

BOSS

SN: 40001-UP

1шт.

28

04010-00732

KEY

SN: 40001-UP

1шт.

29

01010-51245

BOLT

SN: 40001-UP

1шт.

30

01602-21236

WASHER,SPRING

SN: 40001-UP

1шт.

31

113-43-33470

SPRING,LOOSE

SN: 40001-UP

1шт.

32

04210-21040

YOKE

SN: 40001-UP

1шт.

33

01582-11008

NUT

SN: 40001-UP

1шт.

34

04205-11028

PIN

SN: 40001-UP

2шт.

35

04050-13020

PIN,COTTER

SN: 40001-UP

2шт.

Выбрано товаров: 38