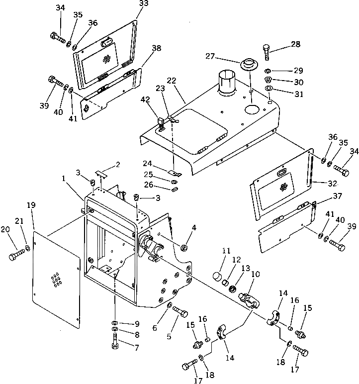
Запчасти Komatsu D31P-18 ЗАЩИТА РАДИАТОРА AND КАПОТ (ДЛЯ SHAKEN-BUHIN) ЧАСТИ КОРПУСА

Схема запчастей Komatsu D31P-18 - ЗАЩИТА РАДИАТОРА AND КАПОТ (ДЛЯ SHAKEN-BUHIN) ЧАСТИ КОРПУСА
FIT
1:1
100%

Артикул

Название

Примечание

Количество

1

11G-54-49310

GUARD,RADIATOR

SN: 40001-UP

1шт.

2

201-54-22971

SEAT

SN: 40001-UP

2шт.

3

07049-01012

PLUG

SN: 40001-UP

4шт.

4

130-06-44711

GROMMET

SN: 40001-UP

2шт.

5

01010-51850

BOLT

SN: 40001-UP

16шт.

6

01643-31845

WASHER

SN: 40001-UP

16шт.

7

01010-51435

BOLT

SN: 40001-UP

2шт.

8

01602-21442

WASHER,SPRING

SN: 40001-UP

2шт.

9

01643-31445

WASHER

SN: 40001-UP

2шт.

10

120-54-31321

SUPPORT

SN: 40001-UP

2шт.

11

120-54-31371

HOUSING

SN: 40001-UP

8шт.

12

120-54-31381

BUSHING

SN: 40001-UP

8шт.

13

07145-00040

SEAL

SN: 40001-UP

8шт.

14

120-54-31361

CAP

SN: 40001-UP

8шт.

15

07020-00000

FITTING,GREASE

SN: 40001-UP

8шт.

16

170-70-15191

PIN

SN: 40001-UP

8шт.

17

01010-51260

BOLT

SN: 40001-UP

16шт.

18

01602-21236

WASHER,SPRING

SN: 40001-UP

16шт.

19

113-54-41151

GRILLE

SN: 41833-UP

1шт.

|19

113-54-41150

GRILLE

SN: 40001-41832

1шт.

20

01010-51430

BOLT

SN: 40001-UP

4шт.

21

01643-31445

WASHER

SN: 40001-UP

4шт.

22

113-54-41120

HOOD

SN: 40001-UP

1шт.

23

135-54-31290

HANDLE

SN: 40001-UP

1шт.

24

135-54-31310

STOPPER

SN: 40001-UP

1шт.

25

01643-31032

WASHER

SN: 40001-UP

1шт.

26

04025-00316

PIN

SN: 40001-UP

1шт.

27

114-54-42160

COVER

SN: 40001-UP

1шт.

28

01010-51435

BOLT

SN: 40001-UP

3шт.

29

01643-31445

WASHER

SN: 40001-UP

3шт.

30

113-54-41340

COLLAR

SN: 40001-UP

3шт.

31

113-54-31351

SEAT

SN: 40151-UP

3шт.

|31

0

SEAT

SN: 40001-40150

3шт.

32

11G-54-41210

COVER,L.H.

SN: 40001-UP

1шт.

33

11G-54-41220

COVER,R.H.

SN: 40001-UP

1шт.

34

01010-51025

BOLT

SN: 40001-UP

6шт.

35

01602-21030

WASHER,SPRING

SN: 40001-UP

6шт.

36

01643-31032

WASHER

SN: 40001-UP

6шт.

37

11G-54-41170

COVER,L.H.

SN: 40001-UP

1шт.

38

11G-54-41180

COVER,R.H.

SN: 40001-UP

1шт.

39

01010-51025

BOLT

SN: 40001-UP

4шт.

40

01602-21030

WASHER,SPRING

SN: 40001-UP

4шт.

41

01643-31032

WASHER

SN: 40001-UP

4шт.

42

09460-00004

LOCK

SN: 40001-UP

1шт.

Выбрано товаров: 44