Запчасти Komatsu D31P-18 ПОГРУЗ. РАМА И ПОЛ КАБИНЫ (КАБИНА ROPS) ЧАСТИ КОРПУСА

Схема запчастей Komatsu D31P-18 - ПОГРУЗ. РАМА И ПОЛ КАБИНЫ (КАБИНА ROPS) ЧАСТИ КОРПУСА
FIT
1:1
100%

Артикул

Название

Примечание

Количество

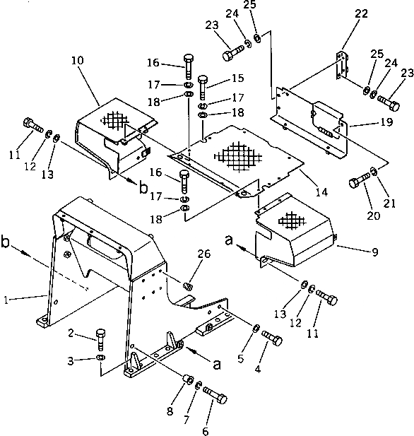
1

11G-54-42110

FRAME,LOADER

SN: 40001-UP

1шт.

2

01010-52060

BOLT

SN: 40001-UP

12шт.

3

01643-32060

WASHER

SN: 40001-UP

12шт.

4

01010-51640

BOLT

SN: 40001-UP

4шт.

5

01643-31645

WASHER

SN: 40001-UP

4шт.

6

01010-51035

BOLT

SN: 40001-UP

2шт.

7

01602-21030

WASHER,SPRING

SN: 40001-UP

2шт.

8

11G-54-41230

COLLAR

SN: 40001-UP

2шт.

9

11G-54-43180

FENDER,L.H.

SN: 40001-UP

1шт.

10

11G-54-43190

FENDER,R.H.

SN: 40001-UP

1шт.

11

01010-51025

BOLT

SN: 40001-UP

4шт.

12

01602-21030

WASHER,SPRING

SN: 40001-UP

4шт.

13

01643-31032

WASHER

SN: 40001-UP

4шт.

14

113-54-49130

PLATE

SN: 40001-UP

1шт.

15

01010-51070

BOLT

SN: 40001-UP

2шт.

16

01010-51025

BOLT

SN: 40001-UP

6шт.

17

01602-21030

WASHER,SPRING

SN: 40001-UP

8шт.

18

01643-31032

WASHER

SN: 40001-UP

8шт.

19

113-54-44110

COVER

SN: 40001-UP

1шт.

20

01010-51025

BOLT

SN: 40001-UP

2шт.

21

01602-21030

WASHER,SPRING

SN: 40001-UP

2шт.

22

113-54-34240

BRACKET

SN: 40001-UP

1шт.

23

01010-51025

BOLT

SN: 40001-UP

4шт.

24

01602-21030

WASHER,SPRING

SN: 40001-UP

4шт.

25

01643-31032

WASHER

SN: 40001-UP

4шт.

26

07049-01620

PLUG

SN: 40001-UP

12шт.

Выбрано товаров: 26