Запчасти Komatsu D31P-18 НИЖН. ЗАЩИТА (ШУМОПОДАВЛ. ДЛЯ EC)(№79-) ЧАСТИ КОРПУСА

Схема запчастей Komatsu D31P-18 - НИЖН. ЗАЩИТА (ШУМОПОДАВЛ. ДЛЯ EC)(№79-) ЧАСТИ КОРПУСА
FIT
1:1
100%

Артикул

Название

Примечание

Количество

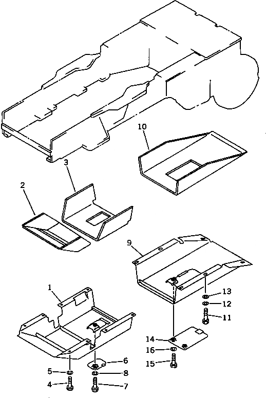
1

113-54-49240

GUARD,FRONT

SN: 41759-UP

1шт.

1

04431-11000

CLIP (WELDED)

SN: 41759-UP

24шт.

1

04431-30000

PLATE

SN: 41759-UP

24шт.

2

113-A62-2350

SHEET

SN: 41759-UP

1шт.

3

113-C62-1170

SHEET

SN: 41759-UP

1шт.

4

01010-51435

BOLT

SN: 41759-UP

8шт.

5

01602-21442

WASHER,SPRING

SN: 41759-UP

8шт.

6

113-54-25120

COVER

SN: 41759-UP

1шт.

7

01010-51025

BOLT

SN: 41759-UP

1шт.

8

01602-21030

WASHER,SPRING

SN: 41759-UP

1шт.

9

113-54-49250

GUARD,REAR

SN: 41759-UP

1шт.

9

04431-11000

CLIP (WELDED)

SN: 41759-UP

13шт.

9

04431-30000

PLATE

SN: 41759-UP

13шт.

10

113-A62-2430

SEAT

SN: 41759-UP

1шт.

11

01010-51435

BOLT

SN: 41759-UP

6шт.

12

01602-21442

WASHER,SPRING

SN: 41759-UP

6шт.

13

01643-31445

WASHER

SN: 41759-UP

6шт.

14

113-54-25140

COVER

SN: 41759-UP

1шт.

15

01010-51025

BOLT

SN: 41759-UP

2шт.

16

01602-21030

WASHER,SPRING

SN: 41759-UP

2шт.

Выбрано товаров: 20