Запчасти Komatsu D31P-18 СТАЛЬНАЯ КАБИНА (ЭЛЕКТРИКА /) (/) (ДЛЯ TОБОД КОЛЕСАMING DOZER) (ДЛЯ РОССИЯ)(№89-) ЧАСТИ КОРПУСА

Схема запчастей Komatsu D31P-18 - СТАЛЬНАЯ КАБИНА (ЭЛЕКТРИКА /) (/) (ДЛЯ TОБОД КОЛЕСАMING DOZER)   (ДЛЯ РОССИЯ)(№89-) ЧАСТИ КОРПУСА
FIT
1:1
100%

Артикул

Название

Примечание

Количество

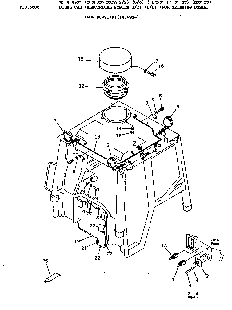
1

08060-00020

SWITCH,LAMP, L.H.

SN: 43893-UP

1шт.

1A

08060-00020

SWITCH,LAMP, R.H.

SN: 43893-UP

1шт.

2

144-874-8710

SWITCH ASS'Y,VENTILATOR

SN: 43893-UP

1шт.

3

01370-00408

SCREW

SN: 43893-UP

2шт.

4

01601-20410

WASHER,SPRING

SN: 43893-UP

2шт.

5

08125-02410

LAMP ASS'Y,FRONT

SN: 43893-UP

2шт.

5

08107-12460

BULB, 60W

SN: 43893-UP

1шт.

5

08125-00006

LENS

SN: 43893-UP

1шт.

6

08125-02400

LAMP ASS'Y,REAR

SN: 43893-UP

1шт.

6

08107-02460

BULB, 60W

SN: 43893-UP

1шт.

6

08125-00006

LENS

SN: 43893-UP

1шт.

7

113-X79-2380

PLATE

SN: 43893-UP

2шт.

8

01220-40616

SCREW

SN: 43893-UP

4шт.

9

01602-20619

WASHER,SPRING

SN: 43893-UP

4шт.

10

08037-01008

GROMMET

SN: 43893-UP

4шт.

11

135-06-34260

GROMMET

SN: 43893-UP

2шт.

12

104-Z11-2160

VENTILATOR ASS'Y

SN: 43893-UP

1шт.

13

01580-10605

NUT

SN: 43893-UP

4шт.

14

01602-20619

WASHER,SPRING

SN: 43893-UP

4шт.

15

104-Y11-2390

COVER

SN: 43893-UP

1шт.

16

01010-51020

BOLT

SN: 43893-UP

4шт.

17

01602-21030

WASHER,SPRING

SN: 43893-UP

4шт.

18

114-X11-1260

WIRING HARNESS

SN: 43893-UP

1шт.

19

113-Y79-2450

WIRE

SN: 43893-UP

1шт.

20

113-Z79-1730

WIRE

SN: 43893-UP

1шт.

21

08037-01008

GROMMET

SN: 43893-UP

1шт.

22

08034-00414

BAND

SN: 43893-UP

7шт.

23

08029-05030

WIRE

SN: 43893-UP

1шт.

24

01220-40512

SCREW

SN: 43893-UP

1шт.

25

01601-20513

WASHER,SPRING

SN: 43893-UP

1шт.

26

145-891-2250

COMPOUND

SN: 43893-UP

1шт.

Выбрано товаров: 31